चेन टेंशनर/आइडलर

- चेन टेंशनर और एफआर आइडलर स्प्रोकेट: चेन ड्राइव के लिए आवश्यक भाग
- चेन में बहुत अधिक ढीलापन होने से कंपन और शोर उत्पन्न हो सकता है, तथा स्प्रोकेट के साथ खराब मेशिंग हो सकती है, जिससे चेन का सुचारू संचरण बाधित हो सकता है।
- त्सुबाकी चेन टेंशनर्स सामान्य चेन ट्रांसमिशन को बनाए रखने के लिए चेन स्लैक को समायोजित करते हैं।
- एफआर आइडलर स्प्रोकेट में एक हब बेयरिंग होता है, जो स्थिर घूर्णन को प्रसारित करता है।
चेन टेंशनर
| उत्पाद का नाम और विशेषताएँ | ||
|---|---|---|
|
सीटी-टीसीएस प्रकार आइडलर स्प्रोकेट के साथ दोलनशील टेंशनर। * ड्राइव चेन सहायक उपकरण पृष्ठ पर जाएं। |
विवरण |
|
सीटी-ईटीएस प्रकार आइडलर स्प्रोकेट के साथ प्रत्यक्ष अभिनय टेंशनर। * ड्राइव चेन सहायक उपकरण पृष्ठ पर जाएं। |
विवरण |
|
सीटी-टीए प्रकार प्लास्टिक के जूतों के साथ प्रत्यक्ष अभिनय टेंशनर। * ड्राइव चेन सहायक उपकरण पृष्ठ पर जाएं। |
विवरण |
|
सीटी-टीएच प्रकार आइडलर स्प्रोकेट का चयन किया जा सकता है, जिससे हैंडलिंग आसान और अधिक सुविधाजनक हो जाती है * ड्राइव चेन सहायक उपकरण पृष्ठ पर जाएं। |
विवरण |
एफआर आइडलर स्प्रोकेट

- हब बेयरिंग स्थिर घूर्णन संचारित करता है।
- कई प्रकार के मॉडल उपलब्ध हैं। CT-TH प्रकार के चेन टेंशनर के लिए आइडलर के रूप में भी इस्तेमाल किया जा सकता है।
- *दो प्रकार: बॉल बेयरिंग विनिर्देश और तेल रहित बुश विनिर्देश
अनुप्रयोग उदाहरण
शाफ्ट की दूरी लंबी होने पर ढीलेपन को रोकता है
बहु-शाफ्ट ड्राइव के लिए मध्यवर्ती आइडलर
जब चेन वाइंडिंग कोण अपर्याप्त हो
मॉडल संख्या प्रदर्शन उदाहरण
| FR | B | - | RS40 | - | 15T | - | N |
| | | | | | |
| | |
| आकार |
| दांतों की संख्या |
| सतह का उपचार |
|||
| बेयरिंग विनिर्देश बी: बॉल बेयरिंग विनिर्देश L: तेल रहित बुशिंग विनिर्देश |
N: कोई चढ़ाना नहीं K: इलेक्ट्रोलेस निकल-फॉस्फोरस चढ़ाना |
||||||
| एफआर आइडलर स्प्रोकेट | |||||||
किस्मों और आयामों की सूची
लागू श्रृंखला संख्या और दांतों की संख्या (सभी कठोर दांत युक्तियां)
| जंजीर संख्या |
दांतों की संख्या | ||||||||||||||||
|---|---|---|---|---|---|---|---|---|---|---|---|---|---|---|---|---|---|
| 9 | 10 | 11 | 12 | 13 | 14 | 15 | 16 | 17 | 18 | 19 | 20 | 21 | 22 | 23 | 24 | 25 | |
| RS35 | ● | ● | ● | ● | ● | ● | ● | ● | |||||||||
| RS40 | ● | ● | ● | ● | ● | ● | ● | ||||||||||
| RS50 | ● | ● | ● | ● | ● | ● | |||||||||||
| RS60 | ● | ● | ● | ● | |||||||||||||
| RS80 | ● | ● | ● | ● | ● | ||||||||||||
| जंजीर | दांतों की संख्या | पिच सर्कल व्यास Dp मिमी |
बहरी घेरा करना मिमी |
दाँत की चौड़ाई टी मिमी |
मॉडल संख्या, DXF आरेख, 3D CAD डेटा, PDF ड्राइंग | |||
|---|---|---|---|---|---|---|---|---|
| बॉल बेयरिंग विनिर्देश | तेल रहित बुशिंग विनिर्देश | |||||||
| कोई चढ़ाना नहीं | इलेक्ट्रोलेस निकल-फास्फोरस चढ़ाना | कोई चढ़ाना नहीं | इलेक्ट्रोलेस निकल-फास्फोरस चढ़ाना | |||||
| RS35 | 18 | 54.85 | 60 | 4.4 | FRB-RS35-18TQ-N DXF・3DCAD・ PDF |
FRB-RS35-18TQ-K DXF・3DCAD・ PDF |
FRL-RS35-18TQ-N DXF・3DCAD・ PDF |
FRL-RS35-18TQ-K DXF・3DCAD・ PDF |
| 19 | 57.87 | 63 | FRB-RS35-19TQ-N DXF・3DCAD・ PDF |
FRB-RS35-19TQ-K DXF・3DCAD・ PDF |
FRL-RS35-19TQ-N DXF・3DCAD・ PDF |
FRL-RS35-19TQ-K DXF・3DCAD・ PDF |
||
| 20 | 60.89 | 66 | FRB-RS35-20TQ-N DXF・3DCAD・ PDF |
FRB-RS35-20TQ-K DXF・3DCAD・ PDF |
FRL-RS35-20TQ-N DXF・3DCAD・ PDF |
FRL-RS35-20TQ-K DXF・3DCAD・ PDF |
||
| 21 | 63.91 | 69 | FRB-RS35-21TQ-N DXF・3DCAD・ PDF |
FRB-RS35-21TQ-K DXF・3DCAD・ PDF |
FRL-RS35-21TQ-N DXF・3DCAD・ PDF |
FRL-RS35-21TQ-K DXF・3DCAD・ PDF |
||
| 22 | 66.93 | 72 | FRB-RS35-22TQ-N DXF・3DCAD・ PDF |
FRB-RS35-22TQ-K DXF・3DCAD・ PDF |
FRL-RS35-22TQ-N DXF・3DCAD・ PDF |
FRL-RS35-22TQ-K DXF・3DCAD・ PDF |
||
| 23 | 69.95 | 75 | FRB-RS35-23TQ-N DXF・3DCAD・ PDF |
FRB-RS35-23TQ-K DXF・3DCAD・ PDF |
FRL-RS35-23TQ-N DXF・3DCAD・ PDF |
FRL-RS35-23TQ-K DXF・3DCAD・ PDF |
||
| 24 | 72.97 | 78 | FRB-RS35-24TQ-N DXF・3DCAD・ PDF |
FRB-RS35-24TQ-K DXF・3DCAD・ PDF |
FRL-RS35-24TQ-N DXF・3DCAD・ PDF |
FRL-RS35-24TQ-K DXF・3DCAD・ PDF |
||
| 25 | 76.00 | 81 | FRB-RS35-25TQ-N DXF・3DCAD・ PDF |
FRB-RS35-25TQ-K DXF・3DCAD・ PDF |
FRL-RS35-25TQ-N DXF・3DCAD・ PDF |
FRL-RS35-25TQ-K DXF・3DCAD・ PDF |
||
| RS40 | 14 | 57.07 | 63 | 7.3 | FRB-RS40-14TQ-N DXF・3DCAD・ PDF |
FRB-RS40-14TQ-K DXF・3DCAD・ PDF |
FRL-RS40-14TQ-N DXF・3DCAD・ PDF |
FRL-RS40-14TQ-K DXF・3DCAD・ PDF |
| 15 | 61.08 | 67 | FRB-RS40-15TQ-N DXF・3DCAD・ PDF |
FRB-RS40-15TQ-K DXF・3DCAD・ PDF |
FRL-RS40-15TQ-N DXF・3DCAD・ PDF |
FRL-RS40-15TQ-K DXF・3DCAD・ PDF |
||
| 16 | 65.10 | 71 | FRB-RS40-16TQ-N DXF・3DCAD・ PDF |
FRB-RS40-16TQ-K DXF・3DCAD・ PDF |
FRL-RS40-16TQ-N DXF・3DCAD・ PDF |
FRL-RS40-16TQ-K DXF・3DCAD・ PDF |
||
| 17 | 69.12 | 75 | FRB-RS40-17TQ-N DXF・3DCAD・ PDF |
FRB-RS40-17TQ-K DXF・3DCAD・ PDF |
FRL-RS40-17TQ-N DXF・3DCAD・ PDF |
FRL-RS40-17TQ-K DXF・3DCAD・ PDF |
||
| 18 | 73.14 | 78 | FRB-RS40-18TQ-N DXF・3DCAD・ PDF |
FRB-RS40-18TQ-K DXF・3DCAD・ PDF |
FRL-RS40-18TQ-N DXF・3DCAD・ PDF |
FRL-RS40-18TQ-K DXF・3DCAD・ PDF |
||
| 19 | 77.16 | 83 | FRB-RS40-19TQ-N DXF・3DCAD・ PDF |
FRB-RS40-19TQ-K DXF・3DCAD・ PDF |
FRL-RS40-19TQ-N DXF・3DCAD・ PDF |
FRL-RS40-19TQ-K DXF・3DCAD・ PDF |
||
| 20 | 81.18 | 88 | FRB-RS40-20TQ-N DXF・3DCAD・ PDF |
FRB-RS40-20TQ-K DXF・3DCAD・ PDF |
FRL-RS40-20TQ-N DXF・3DCAD・ PDF |
FRL-RS40-20TQ-K DXF・3DCAD・ PDF |
||
| RS50 | 12 | 61.34 | 68 | 8.9 | FRB-RS50-12TQ-N DXF・3DCAD・ PDF |
FRB-RS50-12TQ-K DXF・3DCAD・ PDF |
FRL-RS50-12TQ-N DXF・3DCAD・ PDF |
FRL-RS50-12TQ-K DXF・3DCAD・ PDF |
| 13 | 66.33 | 73 | FRB-RS50-13TQ-N DXF・3DCAD・ PDF |
FRB-RS50-13TQ-K DXF・3DCAD・ PDF |
FRL-RS50-13TQ-N DXF・3DCAD・ PDF |
FRL-RS50-13TQ-K DXF・3DCAD・ PDF |
||
| 14 | 71.34 | 79 | FRB-RS50-14TQ-N DXF・3DCAD・ PDF |
FRB-RS50-14TQ-K DXF・3DCAD・ PDF |
FRL-RS50-14TQ-N DXF・3DCAD・ PDF |
FRL-RS50-14TQ-K DXF・3DCAD・ PDF |
||
| 15 | 76.35 | 84 | FRB-RS50-15TQ-N DXF・3DCAD・ PDF |
FRB-RS50-15TQ-K DXF・3DCAD・ PDF |
FRL-RS50-15TQ-N DXF・3DCAD・ PDF |
FRL-RS50-15TQ-K DXF・3DCAD・ PDF |
||
| 16 | 81.37 | 89 | FRB-RS50-16TQ-N DXF・3DCAD・ PDF |
FRB-RS50-16TQ-K DXF・3DCAD・ PDF |
FRL-RS50-16TQ-N DXF・3DCAD・ PDF |
FRL-RS50-16TQ-K DXF・3DCAD・ PDF |
||
| 17 | 86.39 | 94 | FRB-RS50-17TQ-N DXF・3DCAD・ PDF |
FRB-RS50-17TQ-K DXF・3DCAD・ PDF |
FRL-RS50-17TQ-N DXF・3DCAD・ PDF |
FRL-RS50-17TQ-K DXF・3DCAD・ PDF |
||
| RS60 | 11 | 67.62 | 76 | 11.9 | FRB-RS60-11TQ-N DXF・3DCAD・ PDF |
FRB-RS60-11TQ-K DXF・3DCAD・ PDF |
FRL-RS60-11TQ-N DXF・3DCAD・ PDF |
FRL-RS60-11TQ-K DXF・3DCAD・ PDF |
| 12 | 73.60 | 82 | FRB-RS60-12TQ-N DXF・3DCAD・ PDF |
FRB-RS60-12TQ-K DXF・3DCAD・ PDF |
FRL-RS60-12TQ-N DXF・3DCAD・ PDF |
FRL-RS60-12TQ-K DXF・3DCAD・ PDF |
||
| 13 | 79.60 | 89 | FRB-RS60-13TQ-N DXF・3DCAD・ PDF |
FRB-RS60-13TQ-K DXF・3DCAD・ PDF |
FRL-RS60-13TQ-N DXF・3DCAD・ PDF |
FRL-RS60-13TQ-K DXF・3DCAD・ PDF |
||
| 14 | 85.61 | 95 | FRB-RS60-14TQ-N DXF・3DCAD・ PDF |
FRB-RS60-14TQ-K DXF・3DCAD・ PDF |
FRL-RS60-14TQ-N DXF・3DCAD・ PDF |
FRL-RS60-14TQ-K DXF・3DCAD・ PDF |
||
| RS80 | 9 | 74.26 | 85 | 15.0 | FRB-RS80-9TQ-N DXF・3DCAD・ PDF |
FRB-RS80-9TQ-K DXF・3DCAD・ PDF |
FRL-RS80-9TQ-N DXF・3DCAD・ PDF |
FRL-RS80-9TQ-K DXF・3DCAD・ PDF |
| 10 | 82.20 | 93 | FRB-RS80-10TQ-N DXF・3DCAD・ PDF |
FRB-RS80-10TQ-K DXF・3DCAD・ PDF |
FRL-RS80-10TQ-N DXF・3DCAD・ PDF |
FRL-RS80-10TQ-K DXF・3DCAD・ PDF |
||
| 11 | 90.16 | 101 | FRB-RS80-11TQ-N DXF・3DCAD・ PDF |
FRB-RS80-11TQ-K DXF・3DCAD・ PDF |
FRL-RS80-11TQ-N DXF・3DCAD・ PDF |
FRL-RS80-11TQ-K DXF・3DCAD・ PDF |
||
| 12 | 98.14 | 108 | FRB-RS80-12TQ-N DXF・3DCAD・ PDF |
FRB-RS80-12TQ-K DXF・3DCAD・ PDF |
FRL-RS80-12TQ-N DXF・3DCAD・ PDF |
FRL-RS80-12TQ-K DXF・3DCAD・ PDF |
||
| 13 | 106.14 | 118 | FRB-RS80-13TQ-N DXF・3DCAD・ PDF |
FRB-RS80-13TQ-K DXF・3DCAD・ PDF |
FRL-RS80-13TQ-N DXF・3DCAD・ PDF |
FRL-RS80-13TQ-K DXF・3DCAD・ PDF |
||
सभी उत्पाद ऑर्डर पर बनाये जाते हैं।
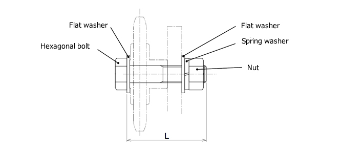
विकल्प - आइडलर बोल्ट सेट -
आइडलर बोल्ट सेट प्रकार
| मॉडल संख्या | आकार | L (mm) |
|---|---|---|
| FR-PS45 | M12 | 45 |
| FR-PS55 | 55 | |
| FR-PS70 | 70 |
सहायक भाग
- - 1 बोल्ट, 1 नट, 3 फ्लैट वॉशर
- ・1 स्प्रिंग वॉशर (सतह उपचार: त्रिसंयोजक क्रोमेट)
आइडलर बोल्ट स्थापना उदाहरण (बॉल बेयरिंग विनिर्देश)




