अन्य समर्पित स्प्रोकेट

- हमारे पास समर्पित स्प्रोकेटों की एक श्रृंखला है।
- हम बीएस/डीआईएन मानक स्प्रोकेट और टॉर्क लिमिटर स्प्रोकेट जैसी विभिन्न आवश्यकताओं को पूरा कर सकते हैं।
- *बीएस चेन स्प्रोकेट: बीएस/डीआईएन मानक उत्पाद (लागू चेन आकार: आरएफ06बी से आरएस16बी)
- * टॉर्क लिमिटर स्प्रोकेट: केंद्र सदस्य घर्षण सतह समाप्त (लागू चेन आकार: RS40 से RS100)
बीएस चेन स्प्रोकेट
- बीएस मानक (यूरोपीय मानक) रोलर चेन के लिए विशेष बीएस स्प्रोकेट की आवश्यकता होती है।
(जेआईएस मानक आरएस स्प्रोकेट का उपयोग भिन्न दांत चौड़ाई और बाहरी व्यास आयामों के कारण नहीं किया जा सकता है।) - चूँकि यह एक ऑर्डर पर बनाया जाने वाला उत्पाद है, इसलिए हम आयाम सूची में सूचीबद्ध न किए गए आकारों, टूथ टिप हार्डनिंग विनिर्देशों और शाफ्ट होल मशीनिंग को भी समायोजित कर सकते हैं। कृपया विवरण के लिए हमसे संपर्क करें।
- हम आयाम सूची में सूचीबद्ध न किए गए आकारों (जैसे 20B, 56B, आदि) को भी संभाल सकते हैं। कृपया विवरण के लिए हमसे संपर्क करें।
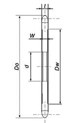
आयाम और विनिर्देश
नोट: स्प्रोकेट विनिर्देशों का चयन करते समय
- आपको एक ऐसा स्प्रोकेट चुनना होगा जो आपके ऑपरेटिंग वातावरण और आपके द्वारा उपयोग की जा रही चेन की विशिष्टताओं के अनुकूल हो। विवरण के लिए, कृपया विभिन्न चेन और स्प्रोकेट के लिए संगतता चार्ट देखें।
・शाफ्ट होल एक पायलट बोर होल है, इसलिए इस्तेमाल से पहले आपको शाफ्ट होल को खुद प्रोसेस करना होगा। अगर आपको प्रोसेस्ड शाफ्ट होल वाला उत्पाद चाहिए, तो कृपया यहाँ क्लिक करें।
टॉर्क लिमिटर स्प्रोकेट
- टॉर्क लिमिटर के लिए, जो यांत्रिक संरक्षक हैं, केंद्र सदस्य घर्षण सतह का खत्म सटीक और विश्वसनीय अधिभार का पता लगाने के लिए महत्वपूर्ण है।
- टॉर्क लिमिटर स्प्रोकेट को न्यूनतम सतह खुरदरापन के साथ आदर्श सतह फिनिश प्राप्त करने के लिए विशेष रूप से उपचारित किया गया है।
मॉडल संख्या प्रदर्शन उदाहरण
| RS40 | - | 1 | A | 21T | - | CM | 30 |
| | आकार |
| तारों की संख्या |
| हब प्रकार |
| दांतों की संख्या |
| | |
| तैयार शाफ्ट छेद व्यास d |
||
| टॉर्क लिमिटर स्प्रोकेट | |||||||
| जंजीर नहीं। |
RS40 | RS50 | RS60 | RS80 | RS100 |
|---|---|---|---|---|---|
| W | 6.5 | 8.0 | 10.5 | 13.5 | 16.0 |
| t | 7.3 | 8.9 | 11.9 | 15.0 | 18.0 |
- ・उपयोग की शर्तें: स्प्रोकेट W आयाम > टॉर्क लिमिटर बुश चौड़ाई
(आयाम समान होने पर भी इसका उपयोग नहीं किया जा सकता) - -अन्य आयाम मानक स्प्रोकेट 1A प्रकार के समान हैं।
- ・d और Dw के लिए, कृपया "टॉर्क लिमिटर संगतता तालिका" देखें।
- ・d H7 के साथ समाप्त हो गया है.
*कृपया प्रत्येक भाग के आयामों के लिए टॉर्क लिमिटर कैटलॉग की जांच अवश्य करें।
*ऑर्डर करते समय, टॉर्क लिमिटर मॉडल नंबर अवश्य बताएं।
टॉर्क लिमिटर संगतता तालिका
संगत स्प्रोकेट रेंज dx Dw
RS40
| दांतों की संख्या | 16 | 17 | 18 | 19 | 20 | 21 | 22 | 23 | 24 | 25 | 26 | 27 | 28 | 30 | 32 | 34 | 35 | 36 | 38 | 40 | 42 | 45 | 48 | 50 |
|---|---|---|---|---|---|---|---|---|---|---|---|---|---|---|---|---|---|---|---|---|---|---|---|---|
| TL200 | 30x53 | |||||||||||||||||||||||
| TL250 | 41x68 | |||||||||||||||||||||||
| TL350 | 49x92 | |||||||||||||||||||||||
RS50
| दांतों की संख्या | 16 | 17 | 18 | 19 | 20 | 21 | 22 | 23 | 24 | 25 | 26 | 27 | 28 | 30 | 32 | 34 | 35 | 36 | 38 | 40 | 42 | 45 | 48 | 50 |
|---|---|---|---|---|---|---|---|---|---|---|---|---|---|---|---|---|---|---|---|---|---|---|---|---|
| TL250 | 41x68 | |||||||||||||||||||||||
| TL350 | 49x92 | |||||||||||||||||||||||
| TL500 | 74x132 | |||||||||||||||||||||||
RS60
| दांतों की संख्या | 16 | 17 | 18 | 19 | 20 | 21 | 22 | 23 | 24 | 25 | 26 | 27 | 28 | 30 | 32 | 34 | 35 | 36 | 38 | 40 | 42 | 45 | 48 | 50 |
|---|---|---|---|---|---|---|---|---|---|---|---|---|---|---|---|---|---|---|---|---|---|---|---|---|
| TL350 | 49x92 | |||||||||||||||||||||||
| TL500 | 74x132 | |||||||||||||||||||||||
| TL700 | 105x184 | |||||||||||||||||||||||
RS80
| दांतों की संख्या | 16 | 17 | 18 | 19 | 20 | 21 | 22 | 23 | 24 | 25 | 26 | 27 | 28 | 30 | 32 | 34 | 35 | 36 | 38 | 40 | 42 | 45 | 48 | 50 |
|---|---|---|---|---|---|---|---|---|---|---|---|---|---|---|---|---|---|---|---|---|---|---|---|---|
| TL500 | 74x132 | |||||||||||||||||||||||
| TL700 | 105x184 | |||||||||||||||||||||||
RS100
| दांतों की संख्या | 16 | 17 | 18 | 19 | 20 | 21 | 22 | 23 | 24 | 25 | 26 | 27 | 28 | 30 | 32 | 34 | 35 | 36 | 38 | 40 | 42 | 45 | 48 | 50 |
|---|---|---|---|---|---|---|---|---|---|---|---|---|---|---|---|---|---|---|---|---|---|---|---|---|
| TL700 | 105x184 | |||||||||||||||||||||||
*RS40 स्प्रोकेट के साथ TL250 या TL350 का उपयोग करते समय, कृपया बुशिंग की चौड़ाई की जांच करें।
*हम टॉर्क लिमिटर मेल खाने वाले स्प्रोकेट भी लगा सकते हैं। हम अन्य विशेष आयामों को भी समायोजित कर सकते हैं।
