बड़े आकार की कन्वेयर चेन संयुक्त लिंक स्क्रू लॉक लिंक

- केवल एक टॉर्क रिंच के साथ, कोई भी आसानी से, सुरक्षित और विश्वसनीय रूप से काटें और जोड़ें सकता है।
- यह कनेक्टिंग लिंक किसी के लिए भी केवल एक टॉर्क रिंच के साथ बड़े आकार की कन्वेयर चेन की खतरनाक और तकनीकी रूप से कठिन काटें और जोड़ें आसानी से करना संभव बनाता है।
- पारंपरिक रूप से काटें और जोड़ें काम हथौड़े से किया जाता था, लेकिन
- ·खतरा
चूंकि आपको इसे हथौड़े से जोर से मारना पड़ता है, इसलिए औद्योगिक दुर्घटनाओं का खतरा रहता है, जैसे कि टुकड़े उड़ना या आपके हाथों पर लगना। - ・आवश्यक तकनीक
यदि यह कार्य ठीक से न किया जाए तो बाहरी प्लेट पर बहुत अधिक दबाव पड़ सकता है, जिसके परिणामस्वरूप झुकने में दिक्कत हो सकती है। - ・आवश्यक मानव-घंटे उत्पादकता को प्रभावित करते हैं
जैसा कि ऊपर बताया गया है, इसके लिए कौशल की आवश्यकता होती है, इसलिए आपको एक तकनीशियन की व्यवस्था करनी पड़ सकती है। - ・बड़े उपकरणों की आवश्यकता है
जैसे-जैसे चेन बड़ी होती जाती है, बड़े औजारों और जिग्स की आवश्यकता पड़ सकती है। - इसमें विभिन्न चुनौतियाँ थीं, जैसे:
- स्क्रू लॉक लिंक के साथ, आपको बस एक टॉर्क रिंच का उपयोग करके नट को निर्दिष्ट टॉर्क पर कसना होता है, ताकि कोई भी आसानी से, सुरक्षित रूप से, जल्दी और भरोसेमंद तरीके से काटें और जोड़ें काम कर सके।
विषयसूची
कैटलॉग और निर्देश पुस्तिका
संरचना
दो प्रकार के मेवे उपलब्ध हैं
हम पिन की न्यूनतम लंबाई वाला छोटा प्रकार भी उपलब्ध कराते हैं।
*हार्डलॉक नट और हार्डलॉक बेयरिंग नट हार्डलॉक कोग्यो कंपनी लिमिटेड के ट्रेडमार्क या पंजीकृत ट्रेडमार्क हैं।
मुख्य लागू उत्पाद
बड़े आकार की कन्वेयर चेन DT श्रृंखला
सबसे किफायती सामान्य प्रयोजन कन्वेयर श्रृंखला (मूल मॉडल)।
बड़े आकार की कन्वेयर चेन DTA श्रृंखला
DT श्रृंखला की तुलना में, यह विनिर्देश बुशिंग और रोलर के बीच घिसाव प्रतिरोध को तीन गुना बेहतर बनाता है।
बड़े आकार की कन्वेयर चेन AT श्रृंखला
DT श्रृंखला की तुलना में, इसमें अधिकतम अनुमेय भार लगभग दोगुना है, जिससे बुशिंग और रोलर के बीच घिसाव प्रतिरोध और रोलर पर अनुमेय भार में सुधार होता है।
बड़े आकार की कन्वेयर चेन ATA श्रृंखला
AT श्रृंखला की तुलना में, बुश और रोलर के बीच घिसाव प्रतिरोध दोगुना हो जाता है, पिन और बुश के बीच घिसाव प्रतिरोध 1.5 गुना अधिक हो जाता है, और अधिकतम अनुमेय भार 1.2 गुना अधिक हो जाता है।
बड़े आकार की कन्वेयर चेन SS श्रृंखला
इस स्टेनलेस स्टील श्रृंखला में उत्कृष्ट संक्षारण प्रतिरोध, रासायनिक प्रतिरोध, गर्मी प्रतिरोध और ठंड प्रतिरोध है।
बड़े आकार की कन्वेयर चेन GS श्रृंखला
यह स्टेनलेस स्टील की चेन (स्टेनलेस स्टील 400 सीरीज) है, जिसमें DT श्रृंखला की तुलना में बेहतर संक्षारण प्रतिरोध क्षमता है।
कृपया अन्य निर्मित विनिर्देशों के लिए नीचे देखें।
हैंडलिंग निर्देश
| ⚠सावधानी |
क्षैतिज, झुके हुए और ऊर्ध्वाधर कन्वेयर के लिए, काटने या काटें और जोड़ें से पहले, चेन ब्लॉक, तार आदि का उपयोग करें ताकि यह सुनिश्चित हो सके कि काटें और जोड़ें बिंदु पर चेन पर कोई तनाव लागू न हो। |
|---|
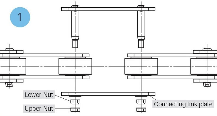
कैसे जुड़ें
1. नट हटा दें और जोड़ने वाली लिंक प्लेट हटा हुआ छोड़ दें।
2. चेन के दोनों सिरों को एक साथ खींचें, कनेक्टिंग लिंक को आंतरिक लिंक के जोड़ में डालें, और फिर इसे जोड़ने वाली लिंक प्लेट के साथ कवर करें।
3. निचले नट को निर्दिष्ट टॉर्क पर कसें। नट कसते समय, धागे पर लगे तेल या अन्य मलबे को कपड़े से पोंछना न भूलें।
4. कनेक्शन पूरा करने के लिए ऊपरी नट को नीचे निर्दिष्ट टॉर्क तक कसें।
नट कसने का टॉर्क (N・m) *1
| RF10 | RF12 | RF17 | RF26 | RF36 | RF52 | RF60 | RF90 | ||
|---|---|---|---|---|---|---|---|---|---|
| मानक प्रकार *2 | अखरोट का आकार | M12×P1.75 | M12×P1.75 | M14×P2.0 | M16×P2.0 | M20×P2.5 | M24×P3.0 | M27×P3.0 | M30×P3.5 |
| निचला नट | 27~32 | 28~33 | 46~55 | 72~82 | 120~130 | 218~228 | 250~260 | 367~377 | |
| ऊपरी नट | 27~32 | 28~33 | 46~55 | 72~82 | 120~130 | 218~228 | 250~260 | 367~377 | |
| लघु प्रकार *3 | अखरोट का आकार | M12×P1.0 | M12×P1.0 | M15×P1.0 | M17×P1.0 | M20×P1.0 | M25×P1.5 | M30×P1.5 | M35×P1.5 |
| निचला नट | 23~27 | 28~33 | 49~58 | 76~86 | 117~127 | 227~237 | 254~264 | 428~438 | |
| ऊपरी नट | 16~19 | 16~19 | 28~33 | 37~44 | 55~65 | 80~90 | 115~125 | 130~140 | |
- *1. ऊपर दी गई तालिका स्टील नट के लिए कसने वाला टॉर्क दिखाती है। स्टेनलेस स्टील नट के लिए कसने वाले टॉर्क के लिए कृपया हमसे संपर्क करें।
- *2. निचले नट को कसने पर बोल्ट बाहर निकल आएगा, इसलिए हम मानक प्रकार के लिए गहरे सॉकेट का उपयोग करने की सलाह देते हैं।
- *3. छोटा प्रकार 4-नोच वाला नट है। कृपया हुक रिंच या सॉकेट का उपयोग करें।
कैसे काटें?
- 1. ऊपरी नट और निचले नट के क्रम में नट निकालें।
*परिवहन की जाने वाली वस्तुओं के चिपकने या जंग लगने के कारण नट को आसानी से हटाया नहीं जा सकता। - 2. जोड़ने वाली लिंक प्लेट हटाएँ और कनेक्टिंग लिंक को आंतरिक लिंक से अलग करें।
रखरखाव और निरीक्षण सावधानियां
संचालन के वातावरण और परिस्थितियों के आधार पर, नट ढीले हो सकते हैं या गिर सकते हैं, इसलिए समय-समय पर जाँच करते रहें कि चेन चालू रहने के दौरान वे ढीले तो नहीं हैं। (यदि आप नटों पर मार्कर से निशान लगा दें तो जाँच करना आसान हो जाएगा।)
उत्पाद विनिर्देशों की सूची
मानक प्रकार
लघु प्रकार
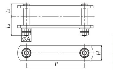
| आकार | अधिकतम अनुमेय भार | न्यूनतम तन्य शक्ति | पिच P |
पिन | अखरोट का आकार | शंक्वाकार बुश निकला हुआ किनारा व्यास |
अनुमानित जोड़ा गया द्रव्यमान (किग्रा/स्थान) |
||||||
|---|---|---|---|---|---|---|---|---|---|---|---|---|---|
| संयुक्त पिन | |||||||||||||
| DT kN{kgf} |
AT kN{kgf} |
DT kN{kgf} |
AT kN{kgf} |
L3 | मानक प्रकार |
छोटा प्रकार |
मानक प्रकार |
छोटा प्रकार |
A | मानक प्रकार |
छोटा प्रकार |
||
| L4 | L5 | ||||||||||||
| RF10100 | 17.6 {1790} |
32.3 {3290} |
107 {11000} |
169 {17000} |
100 | 33 | 48.5 | 42 | M12 | M12 | 25 | 0.13 | 0.08 |
| RF10125 | 125 | ||||||||||||
| RF10150 | 150 | ||||||||||||
| RF12200 | 26.6 {2710} |
39.9 {4060} |
160 {16500} |
249 {25500} |
200 | 40.5 | 55.5 | 49 | M12 | M12 | 28 | 0.17 | 0.11 |
| RF12250 | 250 | ||||||||||||
| RF17200 | 35.0 {3570} |
55.3 {5640} |
213 {22000} |
336 {34000} |
200 | 51.5 | 69.5 | 61.5 | M14 | M15 | 32 | 0.25 | 0.14 |
| RF17250 | 250 | ||||||||||||
| RF17300 | 300 | ||||||||||||
| RF26200 | 44.9 {4570} |
74.3 {7580} |
285 {29000} |
448 {45500} |
200 | 55.5 | 74 | 64 | M16 | M17 | 36 | 0.33 | 0.17 |
| RF26250 | 250 | ||||||||||||
| RF26300 | 300 | ||||||||||||
| RF26450 | 450 | ||||||||||||
| RF36250 | 68.0 {6930} |
97.4 {9930} |
457 {46500} |
614 {62500} |
250 | 66 | 91.5 | 78.5 | M20 | M20 | 42 | 0.55 | 0.26 |
| RF36300 | 300 | ||||||||||||
| RF36450 | 450 | ||||||||||||
| RF36600 | 600 | ||||||||||||
| RF52300 | 71.4 {7280} |
147 {15000} |
481 {49000} |
953 {97000} |
300 | 79 | 110 | 93.5 | M24 | M25 | 48 | 0.85 | 0.39 |
| RF52450 | 450 | ||||||||||||
| RF52600 | 600 | ||||||||||||
| RF60300 | 71.4 {7280} |
149 {15200} |
479 {49000} |
1010 {103000} |
300 | 72.5 | 104 | 86.5 | M27 | M30 | 55 | 1.18 | 0.53 |
| RF60350 | 350 | ||||||||||||
| RF60400 | 400 | ||||||||||||
| RF90350 | 113 {11500} |
233 {23700} |
754 {77000} |
1600 {163000} |
350 | 85.5 | 120.5 | 102 | M30 | M35 | 65 | 1.85 | 0.88 |
| RF90400 | 400 | ||||||||||||
| RF90500 | 500 | ||||||||||||
टिप्पणी)
- 1. ऑपरेटिंग तापमान सीमा -20°C से 150°C है। इस तापमान सीमा से बाहर उपयोग के लिए कृपया हमसे संपर्क करें।
- 2. पिन की लंबाई L4 और L5, L2 से अधिक लंबी है, इसलिए कृपया डिवाइस में हस्तक्षेप की जांच करें।
- 3. छोटे प्रकार के नटों को कसने के लिए हुक रिंच या सॉकेट का उपयोग करें।
- 4. कृपया संलग्नक प्रकारों के लिए "त्सुबाकी बड़े आकार की कन्वेयर चेन और स्प्रोकेट" कैटलॉग देखें।
- 5. हम ऊपर दी गई तालिका में सूचीबद्ध आकारों (इंच, आदि) और विशिष्टताओं (स्टेनलेस स्टील, आदि) के अलावा अन्य आकार भी बना सकते हैं। कृपया विवरण के लिए हमसे संपर्क करें।
मूल्य और वितरण सूची
DT श्रृंखला (मानक प्रकार)
| आकार | लगाव | |||||||
|---|---|---|---|---|---|---|---|---|
| कोई नहीं | A2 | K2 | GA2 | |||||
| मानक मूल्य | डिलीवरी | मानक मूल्य | डिलीवरी | मानक मूल्य | डिलीवरी | मानक मूल्य | डिलीवरी | |
| RF10100 | कृपया हमसे संपर्क करें | कृपया हमसे संपर्क करें | कृपया हमसे संपर्क करें | कृपया हमसे संपर्क करें | कृपया हमसे संपर्क करें | कृपया हमसे संपर्क करें | कृपया हमसे संपर्क करें | कृपया हमसे संपर्क करें |
| RF10125 | कृपया हमसे संपर्क करें | कृपया हमसे संपर्क करें | कृपया हमसे संपर्क करें | कृपया हमसे संपर्क करें | कृपया हमसे संपर्क करें | कृपया हमसे संपर्क करें | कृपया हमसे संपर्क करें | कृपया हमसे संपर्क करें |
| RF10150 | कृपया हमसे संपर्क करें | कृपया हमसे संपर्क करें | कृपया हमसे संपर्क करें | कृपया हमसे संपर्क करें | कृपया हमसे संपर्क करें | कृपया हमसे संपर्क करें | कृपया हमसे संपर्क करें | कृपया हमसे संपर्क करें |
| RF12200 | कृपया हमसे संपर्क करें | कृपया हमसे संपर्क करें | कृपया हमसे संपर्क करें | कृपया हमसे संपर्क करें | कृपया हमसे संपर्क करें | कृपया हमसे संपर्क करें | कृपया हमसे संपर्क करें | कृपया हमसे संपर्क करें |
| RF12250 | कृपया हमसे संपर्क करें | कृपया हमसे संपर्क करें | कृपया हमसे संपर्क करें | कृपया हमसे संपर्क करें | कृपया हमसे संपर्क करें | कृपया हमसे संपर्क करें | कृपया हमसे संपर्क करें | कृपया हमसे संपर्क करें |
| RF17200 | कृपया हमसे संपर्क करें | कृपया हमसे संपर्क करें | कृपया हमसे संपर्क करें | कृपया हमसे संपर्क करें | कृपया हमसे संपर्क करें | कृपया हमसे संपर्क करें | कृपया हमसे संपर्क करें | कृपया हमसे संपर्क करें |
| RF17250 | कृपया हमसे संपर्क करें | कृपया हमसे संपर्क करें | कृपया हमसे संपर्क करें | कृपया हमसे संपर्क करें | कृपया हमसे संपर्क करें | कृपया हमसे संपर्क करें | कृपया हमसे संपर्क करें | कृपया हमसे संपर्क करें |
| RF17300 | कृपया हमसे संपर्क करें | कृपया हमसे संपर्क करें | कृपया हमसे संपर्क करें | कृपया हमसे संपर्क करें | कृपया हमसे संपर्क करें | कृपया हमसे संपर्क करें | कृपया हमसे संपर्क करें | कृपया हमसे संपर्क करें |
AT श्रृंखला (मानक प्रकार)
| आकार | लगाव | |||||||
|---|---|---|---|---|---|---|---|---|
| कोई नहीं | A2 | K2 | GA2 | |||||
| मानक मूल्य | डिलीवरी | मानक मूल्य | डिलीवरी | मानक मूल्य | डिलीवरी | मानक मूल्य | डिलीवरी | |
| RF10100 | कृपया हमसे संपर्क करें | कृपया हमसे संपर्क करें | कृपया हमसे संपर्क करें | कृपया हमसे संपर्क करें | कृपया हमसे संपर्क करें | कृपया हमसे संपर्क करें | कृपया हमसे संपर्क करें | कृपया हमसे संपर्क करें |
| RF10125 | कृपया हमसे संपर्क करें | कृपया हमसे संपर्क करें | कृपया हमसे संपर्क करें | कृपया हमसे संपर्क करें | कृपया हमसे संपर्क करें | कृपया हमसे संपर्क करें | कृपया हमसे संपर्क करें | कृपया हमसे संपर्क करें |
| RF10150 | कृपया हमसे संपर्क करें | कृपया हमसे संपर्क करें | कृपया हमसे संपर्क करें | कृपया हमसे संपर्क करें | कृपया हमसे संपर्क करें | कृपया हमसे संपर्क करें | कृपया हमसे संपर्क करें | कृपया हमसे संपर्क करें |
| RF12200 | कृपया हमसे संपर्क करें | कृपया हमसे संपर्क करें | कृपया हमसे संपर्क करें | कृपया हमसे संपर्क करें | कृपया हमसे संपर्क करें | कृपया हमसे संपर्क करें | कृपया हमसे संपर्क करें | कृपया हमसे संपर्क करें |
| RF12250 | कृपया हमसे संपर्क करें | कृपया हमसे संपर्क करें | कृपया हमसे संपर्क करें | कृपया हमसे संपर्क करें | कृपया हमसे संपर्क करें | कृपया हमसे संपर्क करें | कृपया हमसे संपर्क करें | कृपया हमसे संपर्क करें |
| RF17200 | कृपया हमसे संपर्क करें | कृपया हमसे संपर्क करें | कृपया हमसे संपर्क करें | कृपया हमसे संपर्क करें | कृपया हमसे संपर्क करें | कृपया हमसे संपर्क करें | कृपया हमसे संपर्क करें | कृपया हमसे संपर्क करें |
| RF17250 | कृपया हमसे संपर्क करें | कृपया हमसे संपर्क करें | कृपया हमसे संपर्क करें | कृपया हमसे संपर्क करें | कृपया हमसे संपर्क करें | कृपया हमसे संपर्क करें | कृपया हमसे संपर्क करें | कृपया हमसे संपर्क करें |
| RF17300 | कृपया हमसे संपर्क करें | कृपया हमसे संपर्क करें | कृपया हमसे संपर्क करें | कृपया हमसे संपर्क करें | कृपया हमसे संपर्क करें | कृपया हमसे संपर्क करें | कृपया हमसे संपर्क करें | कृपया हमसे संपर्क करें |
अनुलग्नक प्रकारों और प्रतीकों की सूची के लिए यहां क्लिक करें
*ऊपर दी गई तालिका में सूचीबद्ध न किए गए विनिर्देशों/आकारों, लघु प्रकारों और इकट्ठे उत्पादों के लिए, उद्धरण केस-दर-केस आधार पर प्रदान किए जाएंगे, इसलिए कृपया हमसे संपर्क करें।

