प्रश्नोत्तर पावर लॉक

हमने अपने ग्राहकों द्वारा भेजे गए "अक्सर पूछे जाने वाले प्रश्न" को प्रश्नोत्तर प्रारूप में पोस्ट किया है। कृपया उत्तर पाने के लिए प्रश्न पर क्लिक करें।

प्रश्नोत्तर में शब्दका

विचार चरण

डिज़ाइन संस्करण

Q1 क्या पावर लॉक उपयोग उस शाफ्ट पर किया जा सकता है जिसमें पहले से ही कीवे मौजूद है?
Q2 क्या पावर लॉक झुकने वाले क्षणों का सामना कर सकते हैं?
Q3 शाफ्ट छोटा है और पावर लॉक शाफ्ट के सिरे से थोड़ा बाहर निकला हुआ है। क्या मैं फिर भी इसका इस्तेमाल कर सकता हूँ?
Q4 पावर लॉक के संपर्क में आने वाले शाफ्ट और बॉस की सतह खुरदरापन की स्वीकार्य सीमा क्या है?
Q5 मैं एक खोखले शाफ्ट पर पावर लॉक लगाने के बारे में सोच रहा हूँ। क्या इसमें कोई समस्या है?
Q6 सूचीपत्र में बॉस व्यास की सूची शामिल है, लेकिन नोट में कहा गया है कि "सुरक्षा कारक इसमें शामिल नहीं हैं।"
सुरक्षा कारक क्या है?
Q7 यदि बिना किसी गाइड के बॉस पर बिना किसी केन्द्रीकरण फ़ंक्शन के पावर लॉक श्रृंखला का उपयोग किया जाता है, तो केन्द्रीकरण सटीकता क्या होगी?
Q8 एक पावर लॉक पर्याप्त टॉर्क प्रदान नहीं करता, इसलिए मैं एक साथ कई पावर-लॉक का उपयोग करना चाहूँगा। इस स्थिति में प्रेषित टॉर्क कितना होगा?
Q9 क्या पावर लॉक उपयोग उन अनुप्रयोगों में किया जा सकता है जहां बड़े प्रभाव भार लागू होते हैं, जैसे प्रेस और निर्माण मशीनरी?
Q10 पावर लॉक कैटलॉग में कहा गया है कि "पावर लॉक, सिद्धांत रूप में, झुकने वाले क्षणों का सामना नहीं कर सकते हैं", लेकिन क्या होगा यदि कोई क्षण वास्तव में लागू हो जाए?
Q11 KE सीरीज़ के पावर लॉक में सेंटरिंग फ़ंक्शन होता है, इसलिए हब छिद्र सीधा हो सकता है, लेकिन बॉस व्यास तालिका में गाइड वाले बॉस दिखाए गए हैं। क्या ऐसे कोई मामले हैं जहाँ गाइड लगाना बेहतर होता है?
Q12 मैं KE सीरीज़ इस्तेमाल करने पर विचार कर रहा हूँ, लेकिन बाहरी हब व्यास पर्याप्त बड़ा नहीं है। क्या कोई अच्छा उपाय है? टॉर्क क्षमता अभी भी है।
Q13 AS-SS निर्देश पुस्तिका में कहा गया है कि तेल या ग्रीस लगाने से ट्रांसमिशन टॉर्क कम हो जाता है। जबकि लुब्रिकेशन आवश्यक है और तेल लगाने से फिसलन नहीं होती, SS श्रृंखला के अनुसार तेल लगाने से ट्रांसमिशन टॉर्क क्यों कम हो जाता है?
Q14 एएस श्रृंखला के लिए, जब बॉस की चौड़ाई B 2ℓ या उससे कम हो, तो आप न्यूनतम आवश्यक बॉस व्यास की गणना कैसे करेंगे?
Q15 बिना गाइड के AD-N चुनते समय, क्या बॉस व्यास तालिका (2) में हब लंबाई Lt या उससे ज़्यादा होनी ज़रूरी है? क्या L या उससे ज़्यादा होना ठीक है?
Q16 बॉस पर लगे AD-N के कैटलॉग आरेख में, PL और बॉस के बीच एक गैप दिखाई देता है। (जब तक कि बॉस होल गायब न हो) क्या छेद के पीछे गैप की ज़रूरत है? अगर PL को पीछे की तरफ़ लगाया जाए तो क्या कोई समस्या होगी?
Q17 RE-SS सीरीज़ के बारे में मेरा एक प्रश्न है। रिटेनिंग रिंग के साथ और बिना रिटेनिंग रिंग के, प्रेषित टॉर्क में अंतर क्यों होता है?
Q18 यदि बॉस की चौड़ाई पावर लॉक चौड़ाई से कम है, तो क्या इसका उपयोग किया जा सकता है?
Q19 क्या EL श्रृंखला रेडियल भार सहन कर सकती है? EL को कैटलॉग के चयन अनुभाग में स्वीकार्य सतही दबाव तालिका में सूचीबद्ध नहीं किया गया है।

आसपास का वातावरण

Q21 मैंने कमरे के तापमान पर पावर लॉक लगाया था, लेकिन फिर मुझे इसे लगभग 180°C तापमान वाली जगह पर इस्तेमाल करना पड़ा। तापमान का अंतर बहुत ज़्यादा है, तो क्या इससे ट्रांसमिशन टॉर्क में कमी जैसी समस्याएँ आएंगी?
Q22 क्या स्टेनलेस स्टील पावर लॉक उपयोग पानी के नीचे किया जा सकता है?
Q23 क्या मैं पावर लॉक पर रेडेन्ट कोटिंग लगा सकता हूँ? (स्वच्छ कमरों में उपयोग के लिए)
Q24 क्या तेल स्नान में पावर लॉक उपयोग करने में कोई समस्या है?

भर्ती चरण

डिज़ाइन संस्करण

Q20 क्या मैं TF श्रृंखला का उपयोग बिना स्पेसर के कर सकता हूँ?

हैंडलिंग

Q25 यदि मैं टॉर्क रिंच का उपयोग किए बिना पावर लॉक असेंबल करूं तो क्या होगा?
Q26 यदि बोल्ट को निर्दिष्ट कसने वाले टॉर्क से कम कसा जाए तो क्या होगा?
Q27 स्थापित करते समय, किन भागों पर तेल या ग्रीस लगाना चाहिए?
Q28 क्या होगा यदि एक श्रृंखला, जिसमें कसने वाले बोल्टों पर तेल या ग्रीस लगाने की आवश्यकता होती है, को बिना तेल या ग्रीस लगाए सूखी अवस्था में जोड़ा जाता है?
Q29 क्या कसने वाले बोल्ट को ढीला होने से बचाने के लिए उस पर लॉकिंग वॉशर लगाना ठीक है?
Q30 AD-N श्रृंखला को संभालते समय मुझे क्या सावधानी बरतनी चाहिए?
Q31 मैं AD-N सीरीज़ पावर लॉक इस्तेमाल कर रहा हूँ। कृपया मुझे असेंबली के तरीकों के बारे में सलाह दें, खासकर लुब्रिकेंट लगाने के तरीके के बारे में।
Q32 मैं पावर लॉक TF सीरीज़ इस्तेमाल कर रहा हूँ। कृपया मुझे इसकी विशेषताओं और इसके इस्तेमाल के तरीके के बारे में बताएँ।
Q33 मैं EF पावर लॉक सीरीज़ इस्तेमाल कर रहा हूँ। कृपया मुझे इसकी विशेषताओं और इसके इस्तेमाल के तरीके के बारे में बताएँ।

उपयोग चरण

हैंडलिंग

Q34 पावर लॉक कितनी बार लगाया और हटाया जा सकता है?
Q35 क्या मैं फिसले हुए पावर लॉक पुनः उपयोग कर सकता हूँ?
Q36 क्या पावर लॉक बोल्ट कभी ढीले हो जाते हैं?
Q37 क्या समय-समय पर पावर लॉक के कसने वाले बोल्टों को टॉर्क रिंच से ठीक से कसा गया है, इसकी जाँच न करना ही बेहतर है? क्या ऐसा करने से बोल्ट टूट जाएँगे?
Q38 AD-N श्रृंखला पावर लॉक हटाते समय थ्रेड्स पर ग्रीस लगाना क्यों आवश्यक है?

अन्य

Q39 क्या मैं सिर्फ पावर लॉक के लिए कसने वाले बोल्ट खरीद सकता हूँ?
Q40 मैं पावर लॉक "PL035X060" इस्तेमाल कर रहा हूँ, लेकिन इसका मौजूदा मॉडल नंबर "PL035X060AS" है। क्या इसमें कोई अंतर है? क्या मैं इसे नए मॉडल से बदल सकता हूँ?
Q41 मैं पावर लॉक "PL045X075AD" इस्तेमाल कर रहा हूँ, लेकिन इसका मौजूदा मॉडल नंबर "PL045X075AD-N" है। क्या इसमें कोई अंतर है? क्या मैं इसे नए मॉडल से बदल सकता हूँ?
उत्तर के लिए
Q1 क्या पावर लॉक उपयोग उस शाफ्ट पर किया जा सकता है जिसमें पहले से ही कीवे मौजूद है?
A1

हालाँकि ट्रांसमिशन टॉर्क और थ्रस्ट लोड कैटलॉग मानों के 90% तक कम हो जाएगा, फिर भी उनका उपयोग किया जा सकता है। हालाँकि, EL श्रृंखला का उपयोग कीवे वाले शाफ्ट पर नहीं किया जा सकता, क्योंकि मुख्य बॉडी के विरूपण के कारण उन्हें हटाना असंभव हो जाएगा।

प्रश्नों पर वापस जाएँ
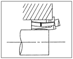
Q2 क्या पावर लॉक झुकने वाले क्षणों का सामना कर सकते हैं?
A2

सिद्धांततः, पावर लॉक झुकने वाले क्षणों का सामना नहीं कर सकते।
यदि दाईं ओर दिए गए चित्र में दिखाए अनुसार झुकने वाला क्षण लागू किया जाता है, तो कृपया हमसे संपर्क करें।

प्रश्नों पर वापस जाएँ
Q3 शाफ्ट छोटा है और पावर लॉक शाफ्ट के सिरे से थोड़ा बाहर निकला हुआ है। क्या मैं फिर भी इसका इस्तेमाल कर सकता हूँ?
A3

चूंकि शाफ्ट छोटा है, इसलिए आंतरिक रिंग आदि पर असमान बल लगाया जाता है, जिससे पावर लॉक विकृत हो जाता है, इसलिए इसका उपयोग नहीं किया जा सकता है।
विरूपण से केन्द्रीकरण की सटीकता भी कम हो जाती है।

प्रश्नों पर वापस जाएँ
Q4 पावर लॉक के संपर्क में आने वाले शाफ्ट और बॉस की सतह खुरदरापन की स्वीकार्य सीमा क्या है?
A4

नीचे दिए गए कैटलॉग में सूचीबद्ध मान अनुमेय सीमाएँ हैं, और इनसे अधिक खुरदरी मशीनिंग की अनुमति नहीं है। जब शाफ्ट और बॉस की सतह पर सतही दबाव उत्पन्न होता है, तो यह दबाव सतह पर मौजूद किसी भी असमानता को कुचल देगा, जिससे शाफ्ट और बॉस का प्लास्टिक विरूपण हो जाएगा।
परिणामस्वरूप, शाफ्ट का बाहरी व्यास छोटा हो जाता है और हब व्यास सतह की खुरदरापन की मात्रा के अनुसार बड़ा हो जाता है, जिससे प्रेषित टॉर्क कम हो जाता है। समय के साथ प्लास्टिक विरूपण का भी खतरा बना रहता है।

प्रश्नों पर वापस जाएँ
Q5 मैं एक खोखले शाफ्ट पर पावर लॉक लगाने के बारे में सोच रहा हूँ। क्या इसमें कोई समस्या है?
A5

खोखले शाफ्ट के मामले में, शाफ्ट की सामग्री और आंतरिक व्यास पर विचार किया जाना चाहिए ताकि यह निर्धारित किया जा सके कि क्या खोखला शाफ्ट पावर लॉक को कसने पर उत्पन्न होने वाले शाफ्ट की तरफ के दबाव को झेलने के लिए पर्याप्त मजबूत है।
गणना सूत्र जैसे विवरण कैटलॉग में सूचीबद्ध हैं, इसलिए कृपया उन्हें हमारी वेबसाइट से प्राप्त करें। वैकल्पिक रूप से, कृपया आकार निर्धारण स्वयं करें।

प्रश्नों पर वापस जाएँ

Q6 सूचीपत्र में बॉस व्यास की सूची शामिल है, लेकिन नोट में कहा गया है कि "सुरक्षा कारक इसमें शामिल नहीं हैं।"
सुरक्षा कारक क्या है?
A6

बाहरी हब व्यास न्यूनतम आयाम, जो निर्दिष्ट कसाव बलाघूर्ण (MA) से बोल्ट को कसने पर हब की आंतरिक सतह पर उत्पन्न होने वाले सतही दबाव को झेल सकते हैं, कैटलॉग में सूचीबद्ध हैं। उत्पन्न सतही दबाव कसाव बलाघूर्ण के आधार पर भिन्न होता है, इसलिए यह देखते हुए कि एक विशिष्ट टॉर्क रिंच की त्रुटि लगभग ±5% है, 10% या उससे अधिक का सुरक्षा कारक इस्तेमाल किया जाना चाहिए।

प्रश्नों पर वापस जाएँ
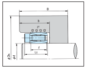
Q7 यदि बिना किसी गाइड के बॉस पर बिना किसी केन्द्रीकरण फ़ंक्शन के पावर लॉक श्रृंखला का उपयोग किया जाता है, तो केन्द्रीकरण सटीकता क्या होगी?
A7

यह निश्चित है कि उतार-चढ़ाव बहुत अधिक होंगे, और इन आंकड़ों का अनुमान नहीं लगाया जा सकता या उनका उपयोग नहीं किया जा सकता।
बॉस पर केंद्रित गाइड अवश्य उपलब्ध कराएं।
यदि केन्द्रीकरण गाइड की लंबाई शाफ्ट व्यास (d/2) की कम से कम आधी है, तो व्यावहारिक केन्द्रीकरण सटीकता प्राप्त की जा सकती है।
कृपया आवश्यक सटीकता के अनुसार गाइड भाग की सहनशीलता निर्धारित करें।

प्रश्नों पर वापस जाएँ
Q8 एक पावर लॉक पर्याप्त टॉर्क प्रदान नहीं करता, इसलिए मैं एक साथ कई पावर-लॉक का उपयोग करना चाहूँगा। इस स्थिति में प्रेषित टॉर्क कितना होगा?
A8

ट्रांसमिशन टॉर्क बढ़ता है, लेकिन अनुपात श्रृंखला के आधार पर भिन्न होता है।
इसके अलावा, कृपया ध्यान दें कि कुछ श्रृंखलाओं का उपयोग अन्य उत्पादों के साथ संयोजन में नहीं किया जा सकता है।

प्रश्नों पर वापस जाएँ
Q9 क्या पावर लॉक उपयोग उन अनुप्रयोगों में किया जा सकता है जहां बड़े प्रभाव भार लागू होते हैं, जैसे प्रेस और निर्माण मशीनरी?
A9

यहां तक कि यदि बार-बार प्रभाव भार लगाया जाता है, तो भी उत्पाद का उपयोग संतोषजनक ढंग से किया जा सकता है, जब तक कि सुरक्षा कारक को ध्यान में रखा जाता है और बोल्ट कसने वाले टॉर्क को उचित रूप से नियंत्रित किया जाता है।
प्रभाव टॉर्क के विरुद्ध सुरक्षा कारक लगभग 5 है।

प्रश्नों पर वापस जाएँ
Q10 पावर लॉक कैटलॉग में कहा गया है कि "पावर लॉक, सिद्धांत रूप में, झुकने वाले क्षणों का सामना नहीं कर सकते हैं", लेकिन क्या होगा यदि कोई क्षण वास्तव में लागू हो जाए?
A10

पावर लॉक घर्षणात्मक बन्धन प्राप्त करने के लिए संपूर्ण परिधि पर शाफ्ट और बॉस पर एक समान सतही दबाव लागू करते हैं।
जब एक बड़ा झुकने वाला क्षण लागू होता है, तो शाफ्ट या बॉस पावर लॉक के सापेक्ष झुक जाएगा।
इस झुकाव के कारण असमान सतह दबाव उत्पन्न हो सकता है, जिसके परिणामस्वरूप कुछ क्षेत्रों में उच्च सतह दबाव उत्पन्न हो सकता है, जिससे पावर लॉक, शाफ्ट या बॉस में प्लास्टिक विरूपण हो सकता है, जिससे यह अनुपयोगी हो सकता है।

प्रश्नों पर वापस जाएँ
Q11 KE सीरीज़ के पावर लॉक में सेंटरिंग फ़ंक्शन होता है, इसलिए हब छिद्र सीधा हो सकता है, लेकिन बॉस व्यास तालिका में गाइड वाले बॉस दिखाए गए हैं। क्या ऐसे कोई मामले हैं जहाँ गाइड लगाना बेहतर होता है?
A11

गाइड अनुभाग प्रदान करने के मुख्य लाभ निम्नलिखित तीन बिंदु हैं।
1 बॉस की तरफ रनआउट को शाफ्ट और गाइड के बीच की निकासी के अनुसार कम किया जा सकता है।
②बॉस व्यास को कम किया जा सकता है।
3) गाइड की उपस्थिति वास्तविक स्थापना प्रक्रिया को आसान बनाती है (इससे पीएल को सम्मिलित करना आसान हो जाता है)।

प्रश्नों पर वापस जाएँ
Q12 मैं KE सीरीज़ इस्तेमाल करने पर विचार कर रहा हूँ, लेकिन बाहरी हब व्यास पर्याप्त बड़ा नहीं है। क्या कोई अच्छा उपाय है? टॉर्क क्षमता अभी भी है।
A12

कृपया KE-LP श्रृंखला पर विचार करें। इसकी कम संपर्क दाब श्रृंखला छोटे बॉस व्यास की अनुमति देती है। यदि यह अभी भी पर्याप्त नहीं है, तो कृपया हमसे संपर्क करें।

प्रश्नों पर वापस जाएँ
Q13 AS-SS निर्देश पुस्तिका में कहा गया है कि तेल या ग्रीस लगाने से ट्रांसमिशन टॉर्क कम हो जाता है। जबकि लुब्रिकेशन आवश्यक है और तेल लगाने से फिसलन नहीं होती, SS श्रृंखला के अनुसार तेल लगाने से ट्रांसमिशन टॉर्क क्यों कम हो जाता है?
A13

मानक स्नेहन-आवश्यक प्रकार और एस.यू.एस. स्नेहन-मुक्त प्रकार दोनों में तेल लगाकर घर्षण गुणांक को कम किया जा सकता है।
जिन प्रकारों में स्नेहन की आवश्यकता होती है, वे कम घर्षण गुणांक के साथ डिज़ाइन किए जाते हैं, जबकि जिन प्रकारों में स्नेहन की आवश्यकता नहीं होती, वे उच्च घर्षण गुणांक के साथ डिज़ाइन किए जाते हैं। इसलिए, यदि स्टेनलेस स्टील पावर लॉक पर तेल लगाया जाता है, तो शाफ्ट और बॉस के बीच घर्षण गुणांक कम हो जाएगा, जिसके परिणामस्वरूप टॉर्क कम हो जाएगा।

प्रश्नों पर वापस जाएँ
Q14 एएस श्रृंखला के लिए, जब बॉस की चौड़ाई B 2ℓ या उससे कम हो, तो आप न्यूनतम आवश्यक बॉस व्यास की गणना कैसे करेंगे?
A14

यदि बॉस की चौड़ाई B ℓ<B<2ℓ है, तो हब ज्यामिति कारक K3=1.0 का उपयोग करके गणना करें।
हालाँकि, एक गाइड अनुभाग अवश्य प्रदान करें।

प्रश्नों पर वापस जाएँ
Q15 बिना गाइड के AD-N चुनते समय, क्या बॉस व्यास तालिका (2) में हब लंबाई Lt या उससे ज़्यादा होनी ज़रूरी है? क्या L या उससे ज़्यादा होना ठीक है?
A15

यदि यह L या इससे बड़ा है तो भी इसमें कोई कार्यात्मक समस्या नहीं है, लेकिन बोल्ट का सिर बॉस से बाहर निकल आएगा।

प्रश्नों पर वापस जाएँ
Q16 बॉस पर लगे AD-N के कैटलॉग आरेख में, PL और बॉस के बीच एक गैप दिखाई देता है। (जब तक कि बॉस होल गायब न हो) क्या छेद के पीछे गैप की ज़रूरत है? अगर PL को पीछे की तरफ़ लगाया जाए तो क्या कोई समस्या होगी?
A16

अस्थायी असेंबली अवस्था में पावर लॉक बॉस के पीछे लगाने में कोई समस्या नहीं है। स्थापना के दौरान, जैसे ही बोल्ट को कस दिया जाता है, टेपर्ड रिंग हिल जाएगी, जिससे छेद के पीछे एक गैप बन जाएगा।
हालाँकि, कसते समय पावर लॉक पूरी तरह से अंदर ले जाने के लिए उस पर जोर न डालें, क्योंकि इससे टेपर्ड रिंग को हटाते समय हिलने से रोका जा सकेगा।

प्रश्नों पर वापस जाएँ
Q17 RE-SS सीरीज़ के बारे में मेरा एक प्रश्न है। रिटेनिंग रिंग के साथ और बिना रिटेनिंग रिंग के, प्रेषित टॉर्क में अंतर क्यों होता है?
A17

रिटेनिंग रिंग पावर लॉक के फ्लैंज के रूप में कार्य करती है तथा बन्धन करते समय बॉस को हिलने से रोकती है।
बॉस की गति को प्रतिबंधित करने से बोल्ट द्वारा उत्पन्न अक्षीय बल का कुछ भाग बाहरी रिंग और बॉस के बीच फिसलने वाली सतह पर घर्षण के रूप में नष्ट हो जाता है, इसलिए रिटेनिंग रिंग के साथ टॉर्क, बिना रिंग के मुकाबले कम होता है।

प्रश्नों पर वापस जाएँ
Q18 यदि बॉस की चौड़ाई पावर लॉक चौड़ाई से कम है, तो क्या इसका उपयोग किया जा सकता है?
A18

हाँ, ML श्रृंखला का उपयोग किया जा सकता है। हालाँकि, चूँकि हब की तरफ उत्पन्न सतही दबाव अधिक होगा, इसलिए निम्नलिखित सूत्र का उपयोग करके हब की तरफ दबाव P'k की गणना करना और यह जाँचना आवश्यक है कि हब सामग्री की मजबूती और आवश्यक बाहरी हब व्यास संतुष्ट हैं।

प्रश्नों पर वापस जाएँ
Q19 क्या EL श्रृंखला रेडियल भार सहन कर सकती है? EL को कैटलॉग के चयन अनुभाग में स्वीकार्य सतही दबाव तालिका में सूचीबद्ध नहीं किया गया है।
A19

इसका उपयोग तब किया जा सकता है जब स्वीकार्य सतही दाब तालिका में Prad/P 10% या उससे कम हो। शाफ्ट साइड दाब और बॉस साइड दाब ग्राहक की विशिष्टताओं (बोल्ट का आकार, संख्या, कसने वाला टॉर्क, आदि) के आधार पर अलग-अलग होंगे।

प्रश्नों पर वापस जाएँ
Q20 क्या मैं TF श्रृंखला का उपयोग बिना स्पेसर के कर सकता हूँ?
A20

निम्नलिखित कारणों से इसे स्पेसर के बिना उपयोग नहीं किया जा सकता।
1. आंतरिक रिंग विकृत है।
2 कसने वाला बोल्ट बॉस के साथ हस्तक्षेप करता है।
3) बॉस माउंटिंग स्थिति अनिश्चित है।
④ असेंबली के दौरान बॉस हिलता है।

प्रश्नों पर वापस जाएँ
Q21 मैंने कमरे के तापमान पर पावर लॉक लगाया था, लेकिन फिर मुझे इसे लगभग 180°C तापमान वाली जगह पर इस्तेमाल करना पड़ा। तापमान का अंतर बहुत ज़्यादा है, तो क्या इससे ट्रांसमिशन टॉर्क में कमी जैसी समस्याएँ आएंगी?
A21

यदि शाफ्ट और बॉस पावर लॉक के समान स्टील प्रकार के बने हों, तो कोई समस्या नहीं होगी क्योंकि शाफ्ट, पावर लॉक और बॉस एक इकाई के रूप में विस्तारित होंगे।
यदि सामग्री अलग है, जैसे स्टेनलेस स्टील या एल्यूमीनियम, तो अलग से विचार करना होगा, इसलिए कृपया हमसे संपर्क करें।
प्रयोग योग्य परिवेश तापमान सीमा -30°C से 200°C है।

प्रश्नों पर वापस जाएँ
Q22 क्या स्टेनलेस स्टील पावर लॉक उपयोग पानी के नीचे किया जा सकता है?
A22

अगर थोड़ा-सा जंग लगने से कोई समस्या न हो, तो इसका इस्तेमाल किया जा सकता है। पानी के नीचे इस्तेमाल करने पर भी, माउंटिंग संपर्क सतह पर उच्च दबाव होता है, इसलिए पानी मुश्किल से अंदर घुस पाता है और प्रदर्शन में कोई गिरावट नहीं आती।
हालाँकि, यदि जंग बर्दाश्त नहीं की जा सकती तो इसका उपयोग नहीं किया जा सकता।

प्रश्नों पर वापस जाएँ

Q23 क्या मैं पावर लॉक पर रेडेन्ट कोटिंग लगा सकता हूँ? (स्वच्छ कमरों में उपयोग के लिए)
A23

रेडेन्ट कोटिंग उखड़ जाती है, जिसके कारण पतली सतह खुरदरी हो जाती है और संचरण टॉर्क कम हो जाता है। हम अनुशंसा करते हैं कि आप इलेक्ट्रोलेस निकल प्लेटिंग विनिर्देशों (केई-केपी, एएस-केपी, एडी-एन-केपी, टीएफ-केपी) या स्टेनलेस स्टील विनिर्देशों (केई-एसएस, एएस-एसएस, आरई-एसएस) पर विचार करें।
कृपया ध्यान दें कि ग्राहक द्वारा उत्पाद में किया गया कोई भी अतिरिक्त प्रसंस्करण या परिवर्तन वारंटी के अंतर्गत नहीं आएगा।

प्रश्नों पर वापस जाएँ

Q24 क्या तेल स्नान में पावर लॉक उपयोग करने में कोई समस्या है?
A24

अगर आप पीएल को कसने के बाद तेल भरते हैं तो कोई समस्या नहीं है। हालाँकि, अगर तेल या ग्रीस में सिलिकॉन-आधारित या मोलिब्डेनम-आधारित घर्षणरोधी एजेंट या अत्यधिक दबाव वाले योजक हैं, तो कृपया उसका दोबारा इस्तेमाल न करें।
यदि इन पदार्थों से युक्त तेल या ग्रीस का पुनः उपयोग किया जाता है, तो घर्षण गुणांक में भारी गिरावट आएगी, जिससे कसने वाले बोल्टों को नुकसान पहुंचेगा।

प्रश्नों पर वापस जाएँ

Q25 यदि मैं टॉर्क रिंच का उपयोग किए बिना पावर लॉक असेंबल करूं तो क्या होगा?
A25

कैटलॉग में सूचीबद्ध ट्रांसमिशन टॉर्क और थ्रस्ट लोड वे मान हैं जब उत्पाद को निर्दिष्ट कसने वाले टॉर्क के साथ ठीक से इकट्ठा किया जाता है।
यदि आप टॉर्क रिंच का उपयोग किए बिना पावर-लॉक को कसते हैं, तो निर्दिष्ट प्रीलोड प्राप्त नहीं हो पाएगा, जिससे पावर लॉक फिसल सकता है। अत्यधिक कसने से बोल्ट क्षतिग्रस्त हो सकता है या पावर लॉक स्वयं विकृत हो सकता है। इसलिए, हमेशा टॉर्क रिंच का उपयोग करें और निर्दिष्ट कसने वाला टॉर्क लगाएँ।

प्रश्नों पर वापस जाएँ

Q26 यदि बोल्ट को निर्दिष्ट कसने वाले टॉर्क से कम कसा जाए तो क्या होगा?
A26

बोल्ट का कसाव बलाघूर्ण और पावर लॉक का प्रेषित बलाघूर्ण समानुपाती होते हैं। इसलिए, यदि कसाव बलाघूर्ण कम किया जाए, तो प्रेषित बलाघूर्ण भी उसी अनुपात में कम हो जाएगा। हालाँकि, कम कसाव बलाघूर्ण वाले पावर-लॉक का उपयोग करने की अनुशंसा नहीं की जाती है क्योंकि इससे बोल्ट ढीला हो सकता है।

प्रश्नों पर वापस जाएँ

Q27 स्थापित करते समय, किन भागों पर तेल या ग्रीस लगाना चाहिए?
A27

इसे शाफ्ट और बॉस, टेपर्ड रिंग, आंतरिक और बाहरी रिंग, तथा एक दूसरे के संपर्क में आने वाले अन्य भागों की संपर्क सतहों, साथ ही कसने वाले बोल्टों की सीटिंग सतहों और थ्रेडेड सतहों पर लगाया जाना चाहिए।
यह गलत धारणा है कि पतली सतह पर तेल लगाने से फिसलन होगी, लेकिन संयोजन के दौरान पतली सतह की सुचारू गति के लिए स्नेहन प्रभाव महत्वपूर्ण है।
हालाँकि, ऐसे तेल या ग्रीस का उपयोग न करें जिसमें मोलिब्डेनम-आधारित घर्षण-रोधी एजेंट हों।
इसके अलावा, ऐसे तेल या ग्रीस से बचें जिनमें अत्यधिक दबाव वाले योजक होते हैं, क्योंकि इनके उपयोग से घर्षण गुणांक में भारी कमी आ सकती है और कसने वाले बोल्टों को नुकसान हो सकता है।

प्रश्नों पर वापस जाएँ

Q28 क्या होगा यदि एक श्रृंखला, जिसमें कसने वाले बोल्टों पर तेल या ग्रीस लगाने की आवश्यकता होती है, को बिना तेल या ग्रीस लगाए सूखी अवस्था में जोड़ा जाता है?
A28

अगर बिना तेल लगाए असेंबली की जाए, तो ट्रांसमिशन टॉर्क 20% या उससे ज़्यादा कम हो सकता है। इसके अलावा, कंपन आदि के कारण कसने वाले बोल्ट ढीले भी हो सकते हैं।
कैटलॉग में ट्रांसमिशन टॉर्क की गणना अक्षीय बल के आधार पर की जाती है जब बोल्ट चिकनाई युक्त अवस्था में कसे जाते हैं। इसलिए, बोल्टों को कभी भी डीग्रीज़ न करें।
हालांकि, एमएल और एसएल श्रृंखला, स्टेनलेस स्टील और इलेक्ट्रोलेस निकल-प्लेटेड श्रृंखला के कसने वाले बोल्ट एक विशेष स्नेहक के साथ लेपित होते हैं, इसलिए असेंबली के दौरान तेल या ग्रीस लगाने की कोई आवश्यकता नहीं होती है।

प्रश्नों पर वापस जाएँ

Q29 क्या कसने वाले बोल्ट को ढीला होने से बचाने के लिए उस पर लॉकिंग वॉशर लगाना ठीक है?
A29

जब पावर लॉक ठीक से स्थापित हो, तो कसने वाले बोल्ट के ढीले होने की चिंता करने की कोई ज़रूरत नहीं है। हालाँकि, अगर स्प्रिंग वॉशर जैसे प्रतिक्रिया बल उत्पन्न करने वाले वॉशर का इस्तेमाल किया जाए, तो कसने वाला बल कम हो जाएगा, जिससे अक्षीय बल और संचरण टॉर्क में कमी आएगी, इसलिए इसका इस्तेमाल नहीं किया जा सकता।

प्रश्नों पर वापस जाएँ

Q30 AD-N श्रृंखला को संभालते समय मुझे क्या सावधानी बरतनी चाहिए?
A30

अन्य श्रृंखलाओं की तुलना में, AD-N श्रृंखला बड़े ट्रांसमिशन टॉर्क को सुनिश्चित करने के लिए छोटे टेपर कोण का उपयोग करती है।
इस कारण, बोल्ट लगाते या हटाते समय उन्हें थोड़ा-थोड़ा करके कसें और सावधानीपूर्वक काम करें।
बोल्टों को बहुत तेज़ी से कसने से बोल्ट, स्क्रू के छेद आदि में समस्याएँ हो सकती हैं, इसलिए उन्हें समान रूप से और थोड़ा-थोड़ा करके कसना सुनिश्चित करें। (प्रत्येक कसने पर कसने का कोण लगभग 30 डिग्री होना चाहिए।)
हटाते समय, सभी हटाने योग्य नलों का उपयोग करना सुनिश्चित करें और निर्देश पुस्तिका में दी गई प्रक्रियाओं का पालन करें।

प्रश्नों पर वापस जाएँ

Q31 मैं AD-N सीरीज़ पावर लॉक इस्तेमाल कर रहा हूँ। कृपया मुझे असेंबली के तरीकों के बारे में सलाह दें, खासकर लुब्रिकेंट लगाने के तरीके के बारे में।
A31

कृपया हमारी वेबसाइट पर वीडियो देखें जिसमें AD-N श्रृंखला पावर लॉक उपयोग करने का तरीका बताया गया है।
AD-N श्रृंखला पावर लॉक उपयोग कैसे करें

प्रश्नों पर वापस जाएँ

Q32 मैं पावर लॉक TF सीरीज़ इस्तेमाल कर रहा हूँ। कृपया मुझे इसकी विशेषताओं और इसके इस्तेमाल के तरीके के बारे में बताएँ।
A32

कृपया हमारी वेबसाइट पर वीडियो देखें जो TF पावर लॉक श्रृंखला की विशेषताओं और संचालन के बारे में बताता है।
पावर लॉक TF सीरीज़ हैंडलिंग निर्देश

प्रश्नों पर वापस जाएँ

Q33 मैं EF पावर लॉक सीरीज़ इस्तेमाल कर रहा हूँ। कृपया मुझे इसकी विशेषताओं और इसके इस्तेमाल के तरीके के बारे में बताएँ।
A33

कृपया हमारी वेबसाइट पर वीडियो देखें जो EF पावर लॉक श्रृंखला की विशेषताओं और संचालन के बारे में बताता है।
पावर लॉक EF श्रृंखला का उपयोग कैसे करें

प्रश्नों पर वापस जाएँ

Q34 पावर लॉक कितनी बार लगाया और हटाया जा सकता है?
A34

AD-N श्रृंखला के अलावा अन्य मॉडलों के लिए, यह लगभग 10 बार किया जा सकता है, बशर्ते कि पावर लॉक फिसल न रहा हो और विकृत या क्षतिग्रस्त न हो।
AD-N श्रृंखला संरचनात्मक रूप से विरूपण के लिए प्रवण है, इसलिए इसका केवल दो बार ही पुन: उपयोग किया जा सकता है। पुन: उपयोग करते समय, कृपया इसे उसी तरह स्थापित करें जैसे नया पावर लॉक स्थापित करते हैं। पावर लॉक का ट्रांसमिशन टॉर्क नहीं बदलेगा।
यदि कसने वाले बोल्ट लेपित हैं, तो कृपया स्थिति के आधार पर उन्हें नए बोल्ट से बदल दें।

प्रश्नों पर वापस जाएँ

Q35 क्या मैं फिसले हुए पावर लॉक पुनः उपयोग कर सकता हूँ?
A35

कृपया उत्पाद को पूरी तरह से अलग करें और जाँच लें कि किसी भी हिस्से पर कोई विकृति या खरोंच तो नहीं है। अगर कोई विकृति या खरोंच नहीं है, तो आप निर्देश पुस्तिका में दिए गए निर्देशों के अनुसार इसे फिर से जोड़कर दोबारा इस्तेमाल कर सकते हैं।
AD-N सीरीज़ को अलग नहीं किया जा सकता, इसलिए कृपया इसके समग्र स्वरूप की सावधानीपूर्वक जाँच करें। हालाँकि, कृपया ध्यान दें कि आप इसे 1-2 बार तक ही दोबारा इस्तेमाल कर सकते हैं, क्योंकि इससे सतह की खुरदरापन कम होने जैसी समस्याएँ हो सकती हैं।

प्रश्नों पर वापस जाएँ

Q36 क्या पावर लॉक बोल्ट कभी ढीले हो जाते हैं?
A36

जब एक कसने वाले बोल्ट को निर्दिष्ट कसने वाले टॉर्क (एमए) के साथ ठीक से कस दिया जाता है, तो घर्षण टॉर्क उस टॉर्क से अधिक होता है जो इसे स्वाभाविक रूप से ढीला कर देगा, इसलिए इसके ढीले होने के बारे में चिंता करने की कोई आवश्यकता नहीं है।
इसके अलावा, (1) बोल्टों को हर समय उच्च कसाव बल के साथ इस्तेमाल करने के लिए डिज़ाइन किया गया है ताकि घर्षण बल सुनिश्चित हो जो उन्हें ढीला होने से रोकता है। (2) बोल्ट सीट के संपर्क में आने वाले हिस्से को सीट के धंसने के जोखिम को कम करने के लिए ऊष्मा उपचारित किया जाता है। इन कारणों से, बोल्ट ढीले नहीं होंगे, इसलिए आप उन्हें बिना किसी समस्या के इस्तेमाल कर सकते हैं।

प्रश्नों पर वापस जाएँ

Q37 क्या समय-समय पर पावर लॉक के कसने वाले बोल्टों को टॉर्क रिंच से ठीक से कसा गया है, इसकी जाँच न करना ही बेहतर है? क्या ऐसा करने से बोल्ट टूट जाएँगे?
A37

कसाव जाँचने में कोई दिक्कत नहीं है। अगर आप टॉर्क रिंच से इसे निर्धारित टॉर्क वैल्यू पर सेट करके जाँच लें, तो यह तब तक नहीं टूटेगा जब तक कि इसमें जंग न लग जाए।

प्रश्नों पर वापस जाएँ

Q38 AD-N श्रृंखला पावर लॉक हटाते समय थ्रेड्स पर ग्रीस लगाना क्यों आवश्यक है?
A38

यह धागों के जकड़ने और घिसने से बचाने के लिए है। हालाँकि, कृपया ऐसे स्नेहक का उपयोग करने से बचें जिनमें अत्यधिक दबाव वाले योजक या मोलिब्डेनम-आधारित घर्षणरोधी एजेंट हों, क्योंकि ये घर्षण गुणांक में भारी बदलाव ला सकते हैं और बोल्ट को नुकसान पहुँचा सकते हैं।

प्रश्नों पर वापस जाएँ

Q39 क्या मैं सिर्फ पावर लॉक के लिए कसने वाले बोल्ट खरीद सकता हूँ?
A39

कृपया "पावर लॉक मॉडल संख्या के लिए कसने वाले बोल्ट" निर्दिष्ट करें और अपने डीलर से आवश्यक संख्या के लिए उद्धरण मांगें।

प्रश्नों पर वापस जाएँ

Q40 मैं पावर लॉक "PL035X060" इस्तेमाल कर रहा हूँ, लेकिन इसका मौजूदा मॉडल नंबर "PL035X060AS" है। क्या इसमें कोई अंतर है? क्या मैं इसे नए मॉडल से बदल सकता हूँ?
A40

पावर लॉक "PL035X060" और "PL035X060AS" एक जैसे ही हैं, केवल मॉडल नंबर बदला गया है। हालाँकि आयाम वही हैं, मार्च 2012 में कुछ विशिष्टताओं को संशोधित किया गया था, जिसमें कसने वाले टॉर्क (केवल कुछ आकारों में), ट्रांसमिशन टॉर्क, थ्रस्ट लोड, शाफ्ट साइड प्रेशर और बॉस साइड प्रेशर में बदलाव किए गए थे।

प्रश्नों पर वापस जाएँ

Q41 मैं पावर लॉक "PL045X075AD" इस्तेमाल कर रहा हूँ, लेकिन इसका मौजूदा मॉडल नंबर "PL045X075AD-N" है। क्या इसमें कोई अंतर है? क्या मैं इसे नए मॉडल से बदल सकता हूँ?
A41

पावर लॉक "PL045X075AD" और "PL045X075AD-N" क्षमता और आकार दोनों में एक जैसे हैं, लेकिन इनमें कुछ मामूली बदलाव किए गए हैं। आंतरिक तंत्र को पिछले AD प्रकार से बेहतर बनाया गया है, जिससे इसे निकालना आसान हो गया है। इसलिए, "AD" को "AD-N" से बदलना संभव है।

प्रश्नों पर वापस जाएँ