प्रश्नोत्तर स्प्रोकेट
हमने अपने ग्राहकों द्वारा भेजे गए "अक्सर पूछे जाने वाले प्रश्न" को प्रश्नोत्तर प्रारूप में पोस्ट किया है। कृपया उत्तर पाने के लिए प्रश्न पर क्लिक करें।
प्रश्नोत्तर में शब्दका
सामान्यतः स्प्रोकेट
ड्राइव चेन के लिए आरएस स्प्रोकेट
छोटे आकार की कन्वेयर चेन स्प्रोकेट
बड़े आकार की कन्वेयर चेन स्प्रोकेट

| Q1 | स्प्रोकेट का चयन करते समय मुझे क्या विचार करना चाहिए? | |||||||||||||||||||||||||||||||||||||||||||||||||||||||||||
|---|---|---|---|---|---|---|---|---|---|---|---|---|---|---|---|---|---|---|---|---|---|---|---|---|---|---|---|---|---|---|---|---|---|---|---|---|---|---|---|---|---|---|---|---|---|---|---|---|---|---|---|---|---|---|---|---|---|---|---|---|
| A1 |
स्प्रोकेट का चयन, उपयोग की जाने वाली चेन के मॉडल नंबर और विशिष्टताओं को ध्यान में रखते हुए किया जाना चाहिए। बुनियादी चरण इस प्रकार हैं:
|
|||||||||||||||||||||||||||||||||||||||||||||||||||||||||||
| Q2 | स्प्रोकेट के लिए प्रयुक्त मुख्य सामग्री क्या हैं? | |||||||||||||||||||||||||||||||||||||||||||||||||||||||||||
| A2 |
हमारे द्वारा उपयोग की जाने वाली मुख्य स्प्रोकेट सामग्री नीचे दी गई तालिका में सूचीबद्ध हैं। कैटलॉग में सूचीबद्ध उत्पाद, जो नीचे दी गई तालिका में शामिल नहीं हैं, कोटेशन के साथ ऑर्डर के अनुसार निर्मित किए जाएँगे। कृपया हमसे संपर्क करें।
|
|||||||||||||||||||||||||||||||||||||||||||||||||||||||||||
| Q3 | किस प्रकार के स्टेनलेस स्टील स्प्रोकेट इस्तेमाल किए जाते हैं? क्या कोई ऐसा है जिसे कठोर (बुझाया) जा सके? | |||||||||||||||||||||||||||||||||||||||||||||||||||||||||||
| A3 |
स्टेनलेस स्टील स्प्रोकेट के लिए प्रयुक्त सामग्रियों की सूची के लिए कृपया नीचे दी गई तालिका देखें। सूची में सूचीबद्ध स्टेनलेस स्टील स्प्रोकेट ऑस्टेनिटिक स्टेनलेस स्टील (SUS304 श्रृंखला) से बने हैं, और सामग्री की विशेषताओं के कारण, टूथ टिप सख्त उपचार (शमन) नहीं किया जा सकता है। यदि आपको स्टेनलेस स्टील का उपयोग करके टूथ टिप हार्डनिंग उपचार की आवश्यकता है, तो हम इसे मार्टेंसिटिक स्टेनलेस स्टील (SUS420 श्रृंखला) का उपयोग करके बना सकते हैं। (कोटेशन आवश्यक/ऑर्डर पर निर्मित) हम ऐसे स्प्रोकेट भी प्रदान करते हैं जिनकी कठोरता बढ़ाने के लिए सतह-उपचार किया जाता है और जिन्हें उच्च-शक्ति वाले स्टेनलेस स्टील चेन के साथ उपयोग करने की सलाह दी जाती है। (मूल्यांकन उपलब्ध, ऑर्डर पर निर्मित उत्पाद) यदि आपका कोई अनुरोध हो तो कृपया हमसे संपर्क करें।
|
|||||||||||||||||||||||||||||||||||||||||||||||||||||||||||
| Q4 | यदि मैं स्टेनलेस स्टील और स्टील स्प्रोकेट और चेन का संयोजन उपयोग करूं तो क्या कोई समस्या होगी? | |||||||||||||||||||||||||||||||||||||||||||||||||||||||||||
| A4 |
हम उसी सामग्री का उपयोग करने की सलाह देते हैं। हमारे स्टेनलेस स्टील स्प्रोकेट की श्रृंखला स्टेनलेस स्टील चेन के साथ संयोजन में उपयोग के लिए डिज़ाइन की गई है। उदाहरण के लिए, प्लेटेड स्टील स्प्रोकेट के साथ स्टेनलेस स्टील चेन का उपयोग करने से संभावित संक्षारण (गैल्वेनिक संक्षारण) हो सकता है और शीघ्र घिसाव हो सकता है। |
|||||||||||||||||||||||||||||||||||||||||||||||||||||||||||
| Q5 | सूचीपत्र में "दांत की नोक को सख्त करने के उपचार" का उल्लेख है, लेकिन स्प्रोकेटों के लिए किस प्रकार का उपचार किया जाता है? | |||||||||||||||||||||||||||||||||||||||||||||||||||||||||||
| A5 |
कैटलॉग में वर्णित "टूथ टिप हार्डनिंग ट्रीटमेंट" एक ऐसी प्रक्रिया है जो इंडक्शन हार्डनिंग द्वारा सतह को कठोर बनाती है। दांतों को उनके घिसाव के प्रतिरोध और मजबूती को बेहतर बनाने के लिए कठोर बनाया जाता है। आमतौर पर, दांतों की नोक को कठोर बनाने का काम तब किया जाता है जब घूर्णन गति अधिक होती है (प्रति इकाई समय में चेन के जुड़ने की संख्या अधिक होती है), जब दांत कम होते हैं और घुमाव का कोण छोटा होता है, या जब घिसाव के निशान मौजूद होते हैं। आम तौर पर, यांत्रिक संरचनाओं के लिए कार्बन स्टील का उपयोग दांत की नोक सख्त करने के उपचार के लिए सामग्री के रूप में किया जाता है, लेकिन अनुरोध पर संरचनात्मक मिश्र धातु स्टील का भी उपयोग किया जा सकता है। क्योंकि यह एक प्रकार की शमन प्रक्रिया है, इसलिए इसे "दांतों के साथ कठोर की गई प्रक्रिया = शमन विनिर्देश" और "दांतों के बिना कठोर की गई प्रक्रिया = बिना कठोर की गई प्रक्रिया" भी कहा जाता है। |
|||||||||||||||||||||||||||||||||||||||||||||||||||||||||||
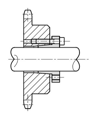
| Q6 | स्प्रोकेट के प्रत्येक भाग के नाम क्या हैं? | |||||||||||||||||||||||||||||||||||||||||||||||||||||||||||
| A6 |
स्प्रोकेट के प्रत्येक भाग के नाम इस प्रकार हैं:
|
|||||||||||||||||||||||||||||||||||||||||||||||||||||||||||
| Q7 | "सेट स्क्रू" किस प्रकार का स्क्रू है जो मानक रूप से स्प्रोकेट के साथ आता है? | |||||||||||||||||||||||||||||||||||||||||||||||||||||||||||
| A7 |
हमारे स्प्रोकेट के लिए मानक सेट स्क्रू विनिर्देश "षट्कोण सॉकेट सेट स्क्रू (रिसेस्ड टिप)" है। फ़िट बोर्स और विशेष स्प्रोकेट (अनुमानित या ऑर्डर पर निर्मित) के अलावा अन्य मानक स्प्रोकेट को सामान्य नियम के रूप में शामिल नहीं किया जाता है। स्टेनलेस स्टील या प्लेटेड बॉडी वाले उत्पादों के लिए स्टेनलेस स्टील सेट स्क्रू शामिल किए जाते हैं। |
|||||||||||||||||||||||||||||||||||||||||||||||||||||||||||
| Q8 | स्प्रोकेट के आकार क्या हैं? | |||||||||||||||||||||||||||||||||||||||||||||||||||||||||||
| A8 |
|
|||||||||||||||||||||||||||||||||||||||||||||||||||||||||||
| Q9 | मैं सिर्फ़ A-टाइप स्प्रोकेट खरीदने और उसमें हब वेल्ड करने की सोच रहा हूँ। क्या इससे कोई समस्या होगी? | |||||||||||||||||||||||||||||||||||||||||||||||||||||||||||
| A9 |
जब हब को ए-प्रकार के स्प्रोकेटों में वेल्डिंग किया जाता है, तो वेल्डिंग से उत्पन्न गर्मी के कारण गुणवत्ता बनाए रखना असंभव हो सकता है। कृपया स्वयं वेल्डिंग करने से बचें और हमसे परामर्श करें। |
|||||||||||||||||||||||||||||||||||||||||||||||||||||||||||
| Q10 | ऑर्डर देने के बाद, मुझे पता चला कि स्प्रोकेट हब का व्यास लेआउट में बाधा डालेगा। क्या हब में बदलाव करना ठीक होगा? | |||||||||||||||||||||||||||||||||||||||||||||||||||||||||||
| A10 |
हम ग्राहक द्वारा अतिरिक्त कार्य की अनुशंसा नहीं करते क्योंकि इससे क्षति या अन्य दुर्घटनाएं हो सकती हैं। |
|||||||||||||||||||||||||||||||||||||||||||||||||||||||||||
| Q11 | कैटलॉग में "पायलट बोर" का क्या अर्थ है? क्या इसका मतलब यह है कि शाफ्ट छेद के आयामों को कैटलॉग में "पायलट बोर से अधिकतम शाफ्ट छेद व्यास की सीमा" के भीतर निर्मित किया जा सकता है? |
|||||||||||||||||||||||||||||||||||||||||||||||||||||||||||
| A11 |
पायलट बोर वे छेद होते हैं जो स्प्रोकेट के निर्माण की प्रक्रिया के दौरान आवश्यक होते हैं, और आमतौर पर शाफ्ट असेंबली के लिए उपयुक्त सहनशीलता के अनुसार ड्रिल नहीं किए जाते हैं। हम पायलट बोर से लेकर अधिकतम शाफ्ट छेद व्यास तक +1 मिमी या उससे अधिक की सीमा के भीतर उचित सहनशीलता के साथ निर्माण कर सकते हैं। |
|||||||||||||||||||||||||||||||||||||||||||||||||||||||||||
| Q12 | स्प्रोकेट शाफ्ट छेद का अधिकतम आकार क्या है जिसे मशीन किया जा सकता है? | |||||||||||||||||||||||||||||||||||||||||||||||||||||||||||
| A12 |
मानक पायलट बोर प्रकार के शाफ्ट छेद को इस प्रकार मशीन किया जाता है कि उसका व्यास कैटलॉग में प्रत्येक मॉडल संख्या और दांतों की संख्या के लिए सूचीबद्ध आयाम तालिका में "अधिकतम शाफ्ट छेद व्यास" से कम हो। ए-प्रकार के स्प्रोकेट के लिए, जिनका अधिकतम बोर व्यास सूचीबद्ध नहीं है, कृपया हमसे संपर्क करें और हम उनका निर्माण करने पर विचार करेंगे। |
|||||||||||||||||||||||||||||||||||||||||||||||||||||||||||
| Q13 | अगर मैं अधिकतम बोर व्यास से ज़्यादा छेद वाले हब का इस्तेमाल करूँ तो क्या होगा? अगर हब बहुत पतला हो तो क्या कोई समस्या होगी? | |||||||||||||||||||||||||||||||||||||||||||||||||||||||||||
| A13 |
हब की मोटाई स्प्रोकेट की मजबूती को प्रभावित करती है, और यदि यह अपर्याप्त है, तो इससे दरारें या टूटन हो सकती है। उन परिस्थितियों पर विचार करें जिनके तहत चेन का उपयोग किया जाएगा और हब व्यास और बोर व्यास को डिजाइन करें ताकि स्प्रोकेट को नुकसान से बचाने के लिए पर्याप्त मजबूती सुनिश्चित हो सके। हम टफ टूथ स्प्रोकेट भी उपलब्ध कराते हैं, जिसे आरएस-एचटी चेन उपयोग के लिए अनुशंसित किया जाता है और यह आकार में परिवर्तन किए बिना हब की मजबूती को बढ़ाता है। यदि हब की क्षमता अपर्याप्त है या हब का आकार बदलने के लिए पर्याप्त स्थान नहीं है तो कृपया इस विकल्प पर विचार करें।
|
|||||||||||||||||||||||||||||||||||||||||||||||||||||||||||
| Q14 | स्प्रोकेट दांतों और कीवे मशीनिंग के बीच स्थितिगत संबंध क्या है? क्या इसे निर्दिष्ट किया जा सकता है? | |||||||||||||||||||||||||||||||||||||||||||||||||||||||||||
| A14 |
जब तक अन्यथा निर्दिष्ट न किया जाए, कुंजी-मार्ग को नीचे दर्शाई गई स्थिति में मशीन किया जाएगा।
*यदि कीवे मशीनिंग स्थिति के लिए परिशुद्धता की आवश्यकता है, या यदि इसे किसी विशिष्ट दांत स्थिति के साथ संरेखित किया जाना है, तो निर्देशों की आवश्यकता होगी। अनुरोध करते समय, आपको "चरण मिलान" या "समानांतर उपयोग" जैसे निर्देश प्रदान करने होंगे। |
|||||||||||||||||||||||||||||||||||||||||||||||||||||||||||
| Q15 | क्या स्प्रोकेट दांतों और कीवे के बीच स्थितीय संबंध निर्दिष्ट करना संभव है? | |||||||||||||||||||||||||||||||||||||||||||||||||||||||||||
| A15 |
यह एक विशेष रूप में उपलब्ध है। "चरण संरेखण" के लिए, कृपया निर्दिष्ट करें कि क्या कुंजीवे मशीनिंग स्थिति को "दांत की नोक" या "दांत की जड़" के केंद्र के साथ संरेखित किया जाना चाहिए। आमतौर पर, त्सुबाकी ड्राइव चेन और डबल डबल पिच के लिए दांत की जड़ के केंद्र को संरेखित करता है, और बड़े आकार की कन्वेयर चेन के लिए दांत की नोक को संरेखित करता है। संरेखण की सटीकता दृश्य निरीक्षण द्वारा निर्धारित की जाती है। यदि आपके पास विशिष्ट मानक हैं, तो कृपया हमसे संपर्क करें। *यदि एक ही शाफ्ट पर कई स्प्रोकेट का उपयोग किया जाता है और विशेष परिशुद्धता की आवश्यकता होती है, तो "समानांतर उपयोग" निर्देश निर्दिष्ट किया जाना चाहिए। *"समानांतर उपयोग": देखें "प्रश्न 16. एक ही शाफ्ट पर एकाधिक स्प्रोकेट का उपयोग करते समय, कुंजी-मार्गों का सापेक्षिक स्थितीय संबंध क्या होता है?"दाँत की नोक का संरेखण
दांत की जड़ का संरेखण
|
|||||||||||||||||||||||||||||||||||||||||||||||||||||||||||
| Q16 | एक ही शाफ्ट पर एकाधिक स्प्रोकेट का उपयोग करते समय, कुंजी-मार्गों की सापेक्ष स्थिति क्या होती है? | |||||||||||||||||||||||||||||||||||||||||||||||||||||||||||
| A16 |
आम तौर पर, इस पर ध्यान नहीं दिया जाता। अगर कुंजी-मार्गों के सापेक्षिक स्थितिगत संबंध को ध्यान में रखना हो, तो कृपया "समानांतर उपयोग" निर्दिष्ट करें। ऐसी स्थिति में, कृपया निम्नलिखित दो बिंदुओं की पुष्टि करें और अपने निर्देश प्रदान करें। संरेखण सटीकता दृश्य निरीक्षण पर आधारित है।
*यह "फ़ेज़ मैचिंग" से अलग है, जो की-वे और दांतों के बीच स्थितीय संबंध को संरेखित करता है। यदि फ़ेज़ मैचिंग आवश्यक है, तो कृपया अलग से निर्दिष्ट करें। * "चरण संरेखण": देखें "प्रश्न 15. क्या स्प्रोकेट दांतों और कुंजी मार्ग के बीच स्थितीय संबंध निर्दिष्ट करना संभव है?"2 का सेट (समान हब अभिविन्यास)
2 का सेट (हब आउटर-आउटर)
2 का सेट (अंदर का हब - अंदर)
4 टुकड़ों का 1 सेट (एक ही दिशा में 3 टुकड़े)
|
|||||||||||||||||||||||||||||||||||||||||||||||||||||||||||
| Q17 | फ़िट बोर्स किस प्रकार का उत्पाद है? | |||||||||||||||||||||||||||||||||||||||||||||||||||||||||||
| A17 |
"फ़िट बोर्स" का अर्थ है "एक पूर्ण शाफ्ट छेद वाला स्प्रोकेट।" "फिट" का मतलब है फिट करना, और "बोर" का मतलब है छेद करना। आप कैटलॉग में सूचीबद्ध सेवा श्रेणी से विनिर्देश चुनें, और हम शाफ्ट होल (शाफ्ट होल प्रोसेसिंग, कीवे प्रोसेसिंग, टैप होल प्रोसेसिंग) को प्रोसेस करके आपको ऐसी स्थिति में पहुँचाएँगे कि आप तुरंत इस्तेमाल कर सकें। हम "हमारे विनिर्देशों के अनुसार पहले से ही मशीनीकृत शाफ्ट छेदों वाले स्टॉक आइटम" और "ऑर्डर के अनुसार निर्मित आइटम प्रदान करते हैं, जिनमें शाफ्ट छेदों को ग्राहक द्वारा चयनित विनिर्देशों के अनुसार मशीनीकृत किया जाता है।" आप टीटी-नेट ड्राइंग लाइब्रेरी में शाफ्ट छेद प्रसंस्करण विनिर्देशों के लिए 100 मिलियन से अधिक विकल्पों में से चुन सकते हैं। प्रसंस्करण विवरण और आउटपुट चित्र चुनने के लिए यहां क्लिक करें स्प्रोकेट के अलावा, फ़िट बोर्स बेल्ट स्प्रॉकेट्स भी प्रदान करता है।
प्रश्नों पर वापस जाएँ
|
|||||||||||||||||||||||||||||||||||||||||||||||||||||||||||
| Q18 | क्या पहले से स्थापित बीयरिंग के साथ स्प्रोकेट वितरित करना संभव है? | |||||||||||||||||||||||||||||||||||||||||||||||||||||||||||
| A18 |
हम विनिर्देशों और शर्तों के आधार पर आपके अनुरोध को अस्वीकार कर सकते हैं, लेकिन हम इस बात पर विचार करेंगे कि इसका निर्माण किया जा सकता है या नहीं। कृपया हमसे संपर्क करें।
प्रश्नों पर वापस जाएँ
|
|||||||||||||||||||||||||||||||||||||||||||||||||||||||||||
| Q19 | लॉक स्प्रोकेट क्या है? | |||||||||||||||||||||||||||||||||||||||||||||||||||||||||||
| A19 |
लॉक स्प्रोकेट घर्षण से बंधे हुए स्प्रोकेट होते हैं जो चाबी का उपयोग किए बिना स्प्रोकेट को शाफ्ट से जोड़ते हैं, और इनमें निम्नलिखित विशेषताएं होती हैं:
बोल्टों को कसते समय हमेशा टॉर्क रिंच का उपयोग करें। यदि स्प्रोकेट को सही टॉर्क के साथ सही ढंग से स्थापित नहीं किया गया तो वह फिसल जाएगा। कृपया मानक के रूप में शाफ्ट व्यास सहिष्णुता h8 और शाफ्ट सतह खुरदरापन Rq3.2 का उपयोग करें। अन्य सावधानियों के लिए कृपया कैटलॉग और निर्देश पुस्तिका देखें और उत्पाद का सही ढंग से उपयोग करें।
|
|||||||||||||||||||||||||||||||||||||||||||||||||||||||||||
| Q20 | क्या आप इंच में शाफ्ट व्यास वाले लॉक स्प्रोकेट निर्माण कर सकते हैं? | |||||||||||||||||||||||||||||||||||||||||||||||||||||||||||
| A20 |
लॉक स्प्रोकेट इंच आकार में उपलब्ध नहीं हैं। त्सुबाकी पावर लॉक इंच आकार में उपलब्ध हैं, इसलिए हम पावर लॉक उपयोग करने की सलाह देते हैं। |
|||||||||||||||||||||||||||||||||||||||||||||||||||||||||||
| Q21 | क्या मैं उस शाफ्ट पर लॉक स्प्रोकेट उपयोग कर सकता हूँ जिसमें कीवे है? | |||||||||||||||||||||||||||||||||||||||||||||||||||||||||||
| A21 |
इसका उपयोग मानक कीवे आकार वाले किसी भी शाफ्ट पर किया जा सकता है। हालाँकि, कृपया ध्यान दें कि स्वीकार्य ट्रांसमिशन टॉर्क लगभग 10% कम हो जाएगा। ऐसा इसलिए है क्योंकि लॉक स्लीव और शाफ्ट के बीच संपर्क क्षेत्र कुंजी खांचे के आकार से कम हो जाता है। इसी प्रकार, त्सुबाकी पावर लॉक का उपयोग करते समय, स्वीकार्य ट्रांसमिशन टॉर्क कम हो जाएगा। |
|||||||||||||||||||||||||||||||||||||||||||||||||||||||||||
| Q22 | क्या कीवे वाले शाफ्ट में स्प्रोकेट जोड़ने के लिए पावर लॉक उपयोग करना ठीक है? | |||||||||||||||||||||||||||||||||||||||||||||||||||||||||||
| A22 |
ईएल श्रृंखला के अलावा किसी भी अन्य श्रृंखला का उपयोग किया जा सकता है, बशर्ते शाफ्ट का आकार मानक कीवे जैसा हो। हालाँकि, कृपया ध्यान दें कि स्वीकार्य ट्रांसमिशन टॉर्क लगभग 10% कम हो जाएगा। ऐसा इसलिए है क्योंकि पावर लॉक और शाफ्ट के बीच संपर्क क्षेत्र कुंजी खांचे के आकार से कम हो जाता है। इसी प्रकार, लॉक स्प्रोकेट का उपयोग करने पर स्वीकार्य ट्रांसमिशन टॉर्क कम हो जाएगा। |
|||||||||||||||||||||||||||||||||||||||||||||||||||||||||||
| Q23 | मैं लॉक स्प्रोकेट उपयोग करने पर विचार कर रहा हूँ। क्या लॉक स्प्रोकेट पर सतह उपचार लागू करना संभव है? | |||||||||||||||||||||||||||||||||||||||||||||||||||||||||||
| A23 |
आवश्यक सतह उपचार के आधार पर, हम अनुमान प्रदान कर सकते हैं या ऑर्डर पर बना सकते हैं।
प्रश्नों पर वापस जाएँ
|
|||||||||||||||||||||||||||||||||||||||||||||||||||||||||||
| Q24 | क्या आपके पास स्टेनलेस स्टील लॉक स्प्रोकेट है? | |||||||||||||||||||||||||||||||||||||||||||||||||||||||||||
| A24 |
स्टेनलेस स्टील लॉक स्प्रोकेट उपलब्ध नहीं हैं। यदि आपको स्टेनलेस स्टील घर्षण लॉकिंग प्रकार की आवश्यकता है, तो हम त्सुबाकी आरएस स्प्रोकेट (स्टेनलेस स्टील विनिर्देश) को त्सुबाकी पावर लॉक (स्टेनलेस स्टील विनिर्देश) के साथ संयोजित करने की अनुशंसा करते हैं। |
|||||||||||||||||||||||||||||||||||||||||||||||||||||||||||
| Q25 | किस प्रकार का सतह उपचार संभव है? | |||||||||||||||||||||||||||||||||||||||||||||||||||||||||||
| A25 |
सतह उपचार में धातु की सतह पर ताप उपचार या रासायनिक अभिक्रियाओं का प्रयोग किया जाता है, जिससे न केवल उसकी दिखावट में सुधार होता है, बल्कि उसकी संक्षारण प्रतिरोधकता और घिसाव प्रतिरोधकता में भी सुधार होता है। हमारे द्वारा किए जाने वाले तीन मुख्य सतह उपचार इस प्रकार हैं। (*आकार के आधार पर कुछ प्रतिबंध हैं, इसलिए यदि आपके कोई अनुरोध हों तो कृपया हमसे संपर्क करें।)
इसके अलावा, "टफ टूथ" स्प्रोकेट, जिसे आरएस-एचटी चेन उपयोग के लिए अनुशंसित किया जाता है, को भी HV800 या उससे अधिक की सतह कठोरता के लिए उपचारित किया जाता है। आम तौर पर, शाफ्ट छेद के आंतरिक व्यास को चढ़ाया नहीं जाता है।
|
|||||||||||||||||||||||||||||||||||||||||||||||||||||||||||
| Q26 | मैं अपने स्प्रोकेट पर प्लेट लगवाना चाहता हूँ। मुझे किन बातों का ध्यान रखना चाहिए? | |||||||||||||||||||||||||||||||||||||||||||||||||||||||||||
| A26 |
हम ग्राहकों को खरीद के बाद उत्पादों पर सतह उपचार करने की अनुशंसा नहीं करते हैं, क्योंकि इससे उनकी मजबूती में कमी या अन्य समस्याएं हो सकती हैं।
प्रश्नों पर वापस जाएँ
|
|||||||||||||||||||||||||||||||||||||||||||||||||||||||||||
| Q27 | त्सुबाकी की बिना चिकनाई वाला लैम्ब्डा चेन के लिए मुझे किस प्रकार का स्प्रोकेट चुनना चाहिए? | |||||||||||||||||||||||||||||||||||||||||||||||||||||||||||
| A27 |
दो या अधिक पंक्तियों का चयन करते समय, कृपया श्रृंखला के अनुप्रस्थ पिच आकार पर ध्यान दें।
|
|||||||||||||||||||||||||||||||||||||||||||||||||||||||||||
| Q28 | क्या आप शियर पिन पिन के साथ स्प्रोकेट का निर्माण कर सकते हैं? | |||||||||||||||||||||||||||||||||||||||||||||||||||||||||||
| A28 |
हम आयाम और टूटने की क्षमता के विनिर्देश निर्धारित करने में असमर्थ हैं। यदि आप विस्तृत आवश्यकताएँ प्रदान करने में असमर्थ हैं, तो दुर्भाग्यवश, गुणवत्ता आश्वासन संबंधी समस्याओं के कारण हमें आपका ऑर्डर अस्वीकार करना पड़ेगा। |
|||||||||||||||||||||||||||||||||||||||||||||||||||||||||||
| Q29 | क्या आपके स्प्रोकेट RoHS निर्देश का अनुपालन करते हैं? | |||||||||||||||||||||||||||||||||||||||||||||||||||||||||||
| A29 |
हमारे सभी स्प्रोकेट RoHS निर्देशों का पालन करते हैं। अगर आपको प्रमाणपत्र की आवश्यकता है, तो कृपया उस विक्रेता से अनुरोध करें जहाँ से आपने उत्पाद खरीदा था। *RoHS निर्देश संशोधन के अधीन है। |
|||||||||||||||||||||||||||||||||||||||||||||||||||||||||||
| Q30 | अगर मैं आपको स्प्रोकेट की फोटो भेजूं, तो क्या आप इसकी विशिष्टताओं की पहचान कर सकते हैं? | |||||||||||||||||||||||||||||||||||||||||||||||||||||||||||
| A30 |
किसी वस्तु की पहचान केवल उसके स्वरूप के आधार पर करना संभव नहीं है, इसलिए उसकी विशिष्टताएं तस्वीरों से निर्धारित नहीं की जा सकतीं। हमें खेद है, लेकिन हम आपके अनुरोध को पूरा करने में असमर्थ हैं। |
|||||||||||||||||||||||||||||||||||||||||||||||||||||||||||
| Q31 | मेरे पास एक असली स्प्रोकेट है। क्या मैं उसे आपको भेज सकता हूँ और आप भी वैसा ही स्प्रोकेट बना सकते हैं? | |||||||||||||||||||||||||||||||||||||||||||||||||||||||||||
| A31 |
हम आपसे उद्धरण मांगकर विनिर्देश निर्धारित करने में आपकी सहायता कर सकते हैं। हालाँकि, यदि हम वास्तविक उत्पाद की जाँच भी कर लें, तो भी हम विनिर्देश निर्धारित करने में सक्षम नहीं हो सकते। कृपया ध्यान दें कि भले ही हम आपको उद्धरण प्रदान करें, हम विनिर्देशों के लिए जिम्मेदारी नहीं ले सकते। यदि वस्तु उपयोग में है, तो वह अपना मूल आकार बरकरार नहीं रख पाएगी, जिससे उसके सटीक आयाम निर्धारित करना कठिन हो जाएगा, और यदि वस्तु गंभीर रूप से क्षतिग्रस्त हो गई है, तो सामान्य विनिर्देश निर्धारित करना भी संभव नहीं होगा। कुछ मामलों में, सामग्रियों की पहचान करना संभव नहीं हो सकता है। हम आपसे अनुरोध करते हैं कि आप विनिर्देशों पर अंतिम निर्णय हमारी राय के आधार पर लें। |
|||||||||||||||||||||||||||||||||||||||||||||||||||||||||||
| Q32 | स्प्रोकेट का भंडारण करते समय मुझे क्या सावधानियां बरतनी चाहिए? | |||||||||||||||||||||||||||||||||||||||||||||||||||||||||||
| A32 |
धूल भरे या गंदे स्थानों, सीधी बारिश, उच्च तापमान, बर्फीले या संक्षारक वातावरण वाले स्थानों पर भंडारण न करें। जंग से बचाव के लिए कृपया ब्रश से तेल लगाएं। कृपया उन वस्तुओं के प्रति विशेष रूप से सावधान रहें जो पेंट नहीं की गई हैं, या यदि पेंट है भी, तो शाफ्ट छेद जैसे क्षेत्रों को पेंट नहीं किया गया है। |
|||||||||||||||||||||||||||||||||||||||||||||||||||||||||||
| Q33 | कक्या ग्रीस स्प्रोकेट ड्राइव के स्नेहन के रूप में प्रभावी है? | |||||||||||||||||||||||||||||||||||||||||||||||||||||||||||
| A33 |
स्प्रोकेट और चेन के बीच के जाल वाले क्षेत्र पर ग्रीस लगाना कम गति और उच्च भार पर प्रभावी हो सकता है। हालाँकि, धूल भरे स्थानों पर धूल आकर्षित होकर सतह पर चिपक सकती है, जिससे घिसाव तेज हो सकता है। इसके अलावा, चेन के पिनों और बुशिंग के बीच के स्थान में तेल लगाना महत्वपूर्ण है ताकि घिसाव और लम्बाई को रोका जा सके। कभी-कभी बाहरी कारकों (हवा, बारिश, आदि) के कारण तेल को बहने से रोकने के लिए चेन पर ग्रीस लगाया जाता है, लेकिन इसके विपरीत, यदि ग्रीस तेल को चेन पिन और बुशिंग के बीच के स्थानों तक पहुंचने से रोकता है, तो तेल लगाने का प्रभाव कम हो सकता है, इसलिए कृपया इसे ध्यान में रखें। |
|||||||||||||||||||||||||||||||||||||||||||||||||||||||||||
| Q34 | चेन घिस गई है और मैं इसे नई चेन से बदलने की सोच रहा हूँ। स्प्रोकेट अच्छा लग रहा है, इसलिए सोच रहा हूँ कि क्या मैं इसे अभी भी इस्तेमाल कर पाऊँगा। | |||||||||||||||||||||||||||||||||||||||||||||||||||||||||||
| A34 |
स्प्रोकेट के घिसाव का निर्धारण उसके स्वरूप से नहीं किया जा सकता। चेन की तरह ही स्प्रोकेट भी घिसते हैं, इसलिए कृपया निर्णय लेने से पहले कैटलॉग या निर्देश पुस्तिका में वर्णित निरीक्षण विधियों का उपयोग करके किसी भी असामान्यता जैसे कि घिसाव की जांच करें। |
|||||||||||||||||||||||||||||||||||||||||||||||||||||||||||
| Q35 | मुझे ऐसा लग रहा है जैसे स्प्रोकेट के दांत जल्दी घिस रहे हैं। इसका क्या कारण हो सकता है? | |||||||||||||||||||||||||||||||||||||||||||||||||||||||||||
| A35 |
नीचे दी गई तालिका में स्प्रोकेट के दांत (जड़, दांत की दबाव सतह) पर घिसावट के संभावित कारणों और उपायों का सारांश दिया गया है।
|
|||||||||||||||||||||||||||||||||||||||||||||||||||||||||||
| Q36 | स्प्रोकेट के दाँतों का किनारा घिस गया है। इसका क्या कारण हो सकता है? | |||||||||||||||||||||||||||||||||||||||||||||||||||||||||||
| A36 |
संभावित कारण और समाधान नीचे दी गई तालिका में सूचीबद्ध हैं। इसके अलावा, चेन लिंक प्लेट के अंदर का हिस्सा घिसा हुआ हो सकता है, इसलिए कृपया चेन की भी जांच कर लें।
|
|||||||||||||||||||||||||||||||||||||||||||||||||||||||||||
| Q37 | कभी-कभी चेन स्प्रोकेट पर चढ़ जाती है। इसका क्या कारण हो सकता है? | |||||||||||||||||||||||||||||||||||||||||||||||||||||||||||
| A37 |
संभावित कारण और समाधान नीचे दी गई तालिका में संक्षेपित हैं। यदि इस पर ध्यान न दिया जाए, तो इससे प्लेट का तेजी से विनाश हो सकता है (चित्र 2), इसलिए इसका निरीक्षण अवश्य करें और उपाय करें।
|
|||||||||||||||||||||||||||||||||||||||||||||||||||||||||||
| Q38 | सूचक पिन क्या है? | |||||||||||||||||||||||||||||||||||||||||||||||||||||||||||
| A38 |
チェッカーズアイは 取替お知らせマークです。 दांतों की घिसावट सीमा अंकित कर दी जाती है, और जब घिसावट इस सीमा तक पहुंच जाती है, तो यह निर्धारित किया जाता है कि सेवा जीवन की सीमा पूरी हो गई है। इसके लाभ इस प्रकार हैं:
आप एक नज़र में जांच कर सकते हैं कि इसे बदलने का समय कब है, जिससे निरीक्षण समय और श्रम लागत में काफी कमी आ सकती है। कोई भी व्यक्ति, बिना किसी कौशल के भी, जीवनकाल का सटीक आकलन कर सकता है। हाथ से निरीक्षण से लेकर दृश्य निरीक्षण तक। संपर्क को कम करने से निरीक्षण सुरक्षा में सुधार होता है। इसे बड़े आकार की कन्वेयर चेन के लिए स्मार्ट स्मार्ट रिप्लेस करने योग्य सीरीज स्प्रोकेट और ड्राइव चेन के लिए बड़े आरएस स्प्रोकेट पर स्थापित किया जाता है, लेकिन अनुरोध पर अन्य स्प्रोकेट पर भी स्थापित किया जा सकता है। पारंपरिक निरीक्षण
घिसे हुए भाग और टूथ गेज के बीच के अंतर को मापें सूचक पिन निरीक्षण आप एक नज़र में यह निर्धारित कर सकते हैं कि स्प्रोकेट को बदलने का समय कब है।
|
|||||||||||||||||||||||||||||||||||||||||||||||||||||||||||
| Q39 | क्या कोई ऐसे स्प्रोकेट हैं जिनका निरीक्षण करना आसान है? | |||||||||||||||||||||||||||||||||||||||||||||||||||||||||||
| A39 |
हम सूचक पिन (प्रतिस्थापन अधिसूचना चिह्न) से सुसज्जित स्प्रोकेट प्रदान करते हैं, जो आपको एक नज़र में बता देता है कि उन्हें बदलने का समय कब है। स्मार्ट रिप्लेस करने योग्य श्रृंखला के स्प्रोकेटों के मानक उपकरण (विभाजित प्रकार, रिंग रिप्लेसमेंट टूथ प्रकार, ब्लॉक रिप्लेसमेंट टूथ प्रकार) जिन्हें बार-बार बदलने की आवश्यकता होती है। सूचक पिन से सुसज्जित मानक स्प्रोकेट को "त्सुबाकी ब्लू" रंग में रंगा गया है। बड़े आकार के ड्राइव चेन स्प्रोकेट से सुसज्जित होने के अलावा, अनुरोध पर अन्य कन्वेयर चेन स्प्रोकेट भी स्थापित किए जा सकते हैं। * सूचक पिन: देखें "प्रश्न 38. सूचक पिन क्या है?"सूचक पिन निरीक्षण आप एक नज़र में यह निर्धारित कर सकते हैं कि स्प्रोकेट को बदलने का समय कब है।
प्रत्येक 180° पर दो स्थान स्थापित
|
|||||||||||||||||||||||||||||||||||||||||||||||||||||||||||
| Q40 | मैं स्पॉकेट खरीदने के लिए ऑर्डर कहां दे सकता हूं? डिलीवरी में कितना समय लगता है? | |||||||||||||||||||||||||||||||||||||||||||||||||||||||||||
| A40 |
हम सीधे बिक्री नहीं करते हैं, इसलिए कृपया अपने स्थानीय वितरक या खुदरा विक्रेता से संपर्क करें। कृपया वितरण के बारे में भी हमसे संपर्क करें। |
|||||||||||||||||||||||||||||||||||||||||||||||||||||||||||
| Q41 | ड्राइव चेन स्प्रोकेट के टूथ प्रोफाइल के लिए मानक क्या हैं? | |||||||||||||||||||||||||||||||||||||||||||||||||||||||||||
| A41 |
त्सुबाकी आरएस स्प्रोकेट जेआईएस मानक एस टूथ प्रोफाइल का उपयोग करते हैं (कुछ मामलों में जेआईएस मानक यू टूथ प्रोफाइल का भी उपयोग करते हैं)। अन्य विकल्पों में बीएस टूथ प्रोफाइल और हेवी-ड्यूटी क्रैंक्ड लिंक चेन और पिन गियर के लिए विशेष टूथ प्रोफाइल शामिल हैं। |
|||||||||||||||||||||||||||||||||||||||||||||||||||||||||||
| Q42 | क्या स्प्रोकेट का चयन करते समय दांत की ताकत की गणना करना आवश्यक है? | |||||||||||||||||||||||||||||||||||||||||||||||||||||||||||
| A42 |
सामान्यतः, यदि कार्यभार चेन के अधिकतम अनुमेय भार से कम है, तो स्प्रोकेट के दांत मुड़ेंगे या टूटेंगे नहीं, इसलिए कैटलॉग में सूचीबद्ध स्प्रोकेट का चयन करें। हालाँकि, भारी-भरकम चेन का उपयोग करते समय इस बात को ध्यान में रखना आवश्यक है, इसलिए कृपया समर्पित स्प्रोकेट की भी जांच कर लें। गणनाओं में, वाइंडिंग ट्रांसमिशन में प्रत्येक दांत पर तनाव वितरण जटिल होता है, इसलिए गणनाएं एक दांत पर की जाती हैं, लेकिन वास्तव में, वाइंडिंग ट्रांसमिशन में चेन तनाव कई दांतों द्वारा साझा किया जाता है, इसलिए चेन तनाव केवल एक दांत द्वारा वहन नहीं किया जाता है। दांतों पर भार साझा करना
|
|||||||||||||||||||||||||||||||||||||||||||||||||||||||||||
| Q43 | ड्राइव चेन स्प्रोकेट पर "टूथ टिप हार्डनिंग ट्रीटमेंट" कब किया जाना आवश्यक है? यह निर्णय लेने का क्या कारण है कि किसी कैटलॉग उत्पाद में "कठोर दांत" हैं या "कठोर दांत नहीं हैं"? |
|||||||||||||||||||||||||||||||||||||||||||||||||||||||||||
| A43 |
ड्राइव चेन टूथ टिप हार्डनिंग उपचार उन स्प्रोकेट पर किया जाता है जो निम्नलिखित उपयोग शर्तों को पूरा करते हैं।
प्रश्नों पर वापस जाएँ
|
|||||||||||||||||||||||||||||||||||||||||||||||||||||||||||
| Q44 | क्या सभी निर्माताओं के स्प्रोकेट का जीवनकाल एक समान होता है? | |||||||||||||||||||||||||||||||||||||||||||||||||||||||||||
| A44 |
यह निर्माता पर निर्भर करता है। गियर का जीवनकाल मुख्यतः दांतों के घिसने के कारण होता है, लेकिन हमारी कंपनी "टूथ टिप हार्डनिंग ट्रीटमेंट" का उपयोग करती है जो घिसाव के प्रतिरोध पर केंद्रित है। यह एक मानक इंडक्शन हार्डनिंग है, लेकिन अन्य कंपनियों की तुलना में, अधिक गहन और अधिक समान ताप उपचार के परिणामस्वरूप लंबे समय तक उपयोग करने पर दांतों का कम क्षरण होता है। "सख्ती" त्सुबाकी उत्पादों की एक खासियत है। कृपया त्सुबाकी स्प्रोकेट पर विचार करें, जिनमें बेहतर घिसाव प्रतिरोधक क्षमता होती है।
दांत की नोक सख्त करने के उपचार की क्रॉस-सेक्शन तुलना (दांत की नोक का फीका पड़ा हुआ क्षेत्र सख्त परत है)
|
|||||||||||||||||||||||||||||||||||||||||||||||||||||||||||
| Q45 | स्प्रोकेट की उपयोगी तापमान सीमा क्या है? | |||||||||||||||||||||||||||||||||||||||||||||||||||||||||||
| A45 |
आरएस स्प्रोकेट के लिए उपयुक्त प्रचालन तापमान सीमा -10°C से 150°C है, जबकि स्टेनलेस स्टील आरएस स्प्रोकेट के लिए उपयुक्त प्रचालन तापमान सीमा -20°C से 400°C है। न केवल तापमान से संबंधित ताकत में परिवर्तन पर विचार करना होगा, बल्कि चेन स्नेहन की सीमाओं पर भी विचार करना होगा। |
|||||||||||||||||||||||||||||||||||||||||||||||||||||||||||
| Q46 | क्या मैं ऐसे वातावरण में सामान्य मानक RS स्प्रोकेट का उपयोग कर सकता हूँ जहाँ शीत-प्रतिरोधी ड्राइव चेन उपयोग किया जाता है (-10°C से नीचे)? | |||||||||||||||||||||||||||||||||||||||||||||||||||||||||||
| A46 |
सूची में सूचीबद्ध मानक स्प्रोकेट मशीन संरचनाओं के लिए कार्बन स्टील या रोल्ड स्टील से बने होते हैं, और -10°C से नीचे के तापमान पर उपयोग के लिए अनुशंसित नहीं हैं क्योंकि इससे उनकी मजबूती में कमी आएगी। हम विभिन्न सामग्रियों का उपयोग करके ऑर्डर पर बनाए गए विशेष स्प्रोकेट जैसे प्रतिउपायों का प्रस्ताव करने में सक्षम हो सकते हैं। कृपया कैटलॉग में सूचीबद्ध नहीं ऑपरेटिंग तापमान रेंज वाले उत्पादों के संबंध में हमसे संपर्क करें। |
|||||||||||||||||||||||||||||||||||||||||||||||||||||||||||
| Q47 | क्या मैं एक मानक आरएस स्प्रोकेट को हेवी-ड्यूटी ड्राइव चेन के साथ उपयोग कर सकता हूं? | |||||||||||||||||||||||||||||||||||||||||||||||||||||||||||
| A47 |
कठोर दांतों वाले मानक स्प्रोकेट का उपयोग किया जा सकता है, लेकिन कई मामले ऐसे होते हैं जहां कुंजी सतह का दबाव अपर्याप्त होता है। हम हेवी-ड्यूटी ड्राइव चेन के लिए अनुशंसित स्प्रोकेट के रूप में "टफ टूथ" की पेशकश करते हैं, इसलिए कृपया इस पर विचार करें। चेन जितनी मजबूत होगी, कुंजी दबाव आदि की जांच करना उतना ही महत्वपूर्ण होगा। यद्यपि डबल कुंजी का उपयोग करके या हब को लंबा करके सतह के दबाव को बढ़ाना संभव है, फिर भी हम स्थान की बचत और कीमत के दृष्टिकोण से मजबूत हब के साथ "टफ टूथ" की सिफारिश करते हैं। इसके अलावा, जब एच-क्लास चेन जैसे कि एचटी आरएस-एचटी चेन या सुपर-एच चेन के बहु-तार उपयोग किया जाता है, तो दांत अनुप्रस्थ पिच अलग होती है और मानक आरएस स्प्रोकेट का उपयोग नहीं किया जा सकता है। |
|||||||||||||||||||||||||||||||||||||||||||||||||||||||||||
| Q48 | क्या मानक आरएस स्प्रोकेट का उपयोग बीएस मानक श्रृंखला के साथ किया जा सकता है? | |||||||||||||||||||||||||||||||||||||||||||||||||||||||||||
| A48 |
इसका उपयोग JIS मानक RS स्प्रोकेट के साथ नहीं किया जा सकता क्योंकि तीन मूल आयाम (पिच, रोलर व्यास, और रोलर लिंक आंतरिक चौड़ाई) भिन्न हैं। बीएस मानक चेन के लिए, हम बीएस/डीआईएन मानक विशेष रूप से डिज़ाइन किए गए स्प्रोकेट प्रदान करते हैं। |
|||||||||||||||||||||||||||||||||||||||||||||||||||||||||||
| Q49 | क्या मैं पिन गियर के लिए मानक आरएस स्प्रोकेट का उपयोग कर सकता हूं? | |||||||||||||||||||||||||||||||||||||||||||||||||||||||||||
| A49 |
एक विशेष दाँत प्रोफ़ाइल के साथ एक विशेष स्प्रोकेट की आवश्यकता होती है। मानक आरएस स्प्रोकेट का उपयोग नहीं किया जा सकता, क्योंकि चेन के साथ मेशिंग, वाइंडिंग ट्रांसमिशन से भिन्न होती है। किसी वस्तु को रैखिक या घूर्णी दिशा में चलाने के लिए, रोलर चेन और गियर का उपयोग आम तौर पर किया जाता है, जो ड्राइव स्रोत (जैसे मोटर) से रिड्यूसर के माध्यम से गुजरते हैं। रोलर चेन का उपयोग करके वाइंडिंग ट्रांसमिशन के लिए बड़े स्थान की आवश्यकता होती है, और गियर के लिए सटीक मशीनिंग की आवश्यकता होती है, जिसके कारण उच्च लागत जैसी समस्याएं उत्पन्न होती हैं। ऐसे मामलों में, पिन गियर ड्राइव आदर्श है। जैसा कि चित्र 1 में दिखाया गया है, पिन गियर ड्राइव में पहिये के स्थान पर ड्रम या टेबल की बाहरी परिधि के चारों ओर लिपटे पिन गियर संलग्नक वाली चेन का उपयोग किया जाता है, तथा पिनियन गियर के स्थान पर विशेष टूथ प्रोफाइल (पिन गियर स्प्रोकेट) वाले स्प्रोकेट का उपयोग किया जाता है। रैखिक गति के लिए, पिन गियर संलग्नक वाली चेन को रैक के बजाय सीधी रेखा में स्थापित किया जाता है, जैसा कि चित्र 2 में दिखाया गया है। पिन गियर ड्राइव यूनिट, जिसमें पिन गियर और पहिया या रैक शामिल है, भी बिक्री के लिए उपलब्ध है।
[चित्र 1]
[चित्र 2] |
|||||||||||||||||||||||||||||||||||||||||||||||||||||||||||
| Q50 | क्या आप चेन टेंशनर्स का निर्माण कर सकते हैं? | |||||||||||||||||||||||||||||||||||||||||||||||||||||||||||
| A50 |
हम मानकीकृत टेंशनर और आइडलर प्रदान करते हैं। कृपया हमारे विनिर्देशों पर विचार करें। |
|||||||||||||||||||||||||||||||||||||||||||||||||||||||||||
| Q51 | असमान स्प्रोकेट रोटेशन का क्या कारण है और आप इसे कैसे ठीक कर सकते हैं? | |||||||||||||||||||||||||||||||||||||||||||||||||||||||||||
| A51 |
असमान घूर्णन का एक कारण चेन की गति में उतार-चढ़ाव है। चेन स्प्रोकेट के साथ बहुकोणीय पैटर्न में जुड़ती है। इसलिए, जैसा कि नीचे दिए गए चित्र में दिखाया गया है, जुड़ाव की ऊंचाई (स्प्रोकेट के केंद्र से त्रिज्या) तब भिन्न होती है जब गियर वृत्त की स्पर्शरेखा स्थिति पर जुड़ते हैं और जब वे स्ट्रिंग स्थिति पर जुड़ते हैं। परिणामस्वरूप, भले ही ड्राइव स्प्रोकेट एक स्थिर गति से घूम रहा हो, चेन की गति त्रिज्या अनुपात के अनुसार बदलती रहेगी। गति में उतार-चढ़ाव की दर की गणना निम्नलिखित सूत्र का उपयोग करके की जा सकती है। गति में उतार-चढ़ाव दर = (V2-V1)/V2=1-cos(180°/Z) (Z दांतों की संख्या है) जितने अधिक दांत होंगे, घूर्णन उतना ही अधिक सुचारू होगा तथा शक्ति संचरण भी उतना ही अधिक सुचारू होगा, इसलिए हम सामान्यतः 15 या इससे अधिक दांतों की संख्या की अनुशंसा करते हैं। V2 चेन स्पीड मैक्स V1 चेन स्पीड न्यूनतम
<रोटेशन अनियमितताएं> चेन की गति में उतार-चढ़ाव और स्प्रोकेट के गुण, संचालित स्प्रोकेट के असमान घूर्णन का कारण बनते हैं। इसके अलावा, स्प्रोकेट की विलक्षण माउंटिंग त्रुटियों और चेन और स्प्रोकेट की विनिर्माण त्रुटियों का भी प्रभाव पड़ता है। ड्राइव स्प्रोकेट पर दांतों की संख्या बढ़ाने (बड़े व्यास) से संचरण अधिक सुचारू होगा और घूर्णन संबंधी अनियमितताएं कम होंगी। |
|||||||||||||||||||||||||||||||||||||||||||||||||||||||||||
| Q52 | ड्राइव चेन हिल रही है। क्या स्प्रोकेट इसकी वजह हो सकता है? क्या मैं इसके बारे में कुछ कर सकता हूँ? | |||||||||||||||||||||||||||||||||||||||||||||||||||||||||||
| A52 |
स्प्रोकेट भी इसका कारण हो सकता है। इसके कारण और समाधान इस प्रकार हैं: बहुभुज गति जब कॉर्डल क्रिया (स्प्रोकेट और चेन की बहुकोणीय गति) शामिल हो, तो यथासंभव अधिक से अधिक दांतों का चयन करके बहुकोणीय गति को दबाया जा सकता है। आमतौर पर, 15 या अधिक दांतों की सिफारिश की जाती है। * "कॉर्डल एक्शन": देखें "प्रश्न 51. असमान स्प्रोकेट रोटेशन के कारण और समाधान क्या हैं?" |
|||||||||||||||||||||||||||||||||||||||||||||||||||||||||||
| Q53 | ड्राइव चेन के लिए आरएस स्प्रोकेट के लिए उपयुक्त गति अनुपात और घुमावदार कोण क्या हैं? | |||||||||||||||||||||||||||||||||||||||||||||||||||||||||||
| A53 |
रोलर चेन ट्रांसमिशन के लिए गति अनुपात सामान्यतः 7:1 तक होता है। बहुत कम गति पर, इसे लगभग 10:1 तक बढ़ाया जा सकता है।
|
|||||||||||||||||||||||||||||||||||||||||||||||||||||||||||
| Q54 | ड्राइव चेन के लिए आरएस स्प्रोकेट के लिए उपयुक्त स्प्रोकेट केंद्र दूरी क्या है? | |||||||||||||||||||||||||||||||||||||||||||||||||||||||||||
| A54 |
जब तक दोनों स्प्रोकेट के दांत आपस में न टकराएँ, तब तक सबसे कम दूरी पर्याप्त है। दोनों शाफ्टों के बीच सबसे वांछनीय केंद्र दूरी इस्तेमाल की जा रही रोलर चेन की पिच का लगभग 30 से 50 गुना होती है। हालाँकि, जब उतार-चढ़ाव वाला भार लगाया जाता है, तो इसे 20 गुना या उससे कम रखना उचित होता है। रोलर चेन की पिच का लगभग 30 से 50 गुना
|
|||||||||||||||||||||||||||||||||||||||||||||||||||||||||||
| Q55 | क्या ड्राइव चेन के लिए आरएस स्प्रोकेट के लेआउट के लिए कोई नियम हैं? | |||||||||||||||||||||||||||||||||||||||||||||||||||||||||||
| A55 |
एक विशिष्ट रोलर चेन ट्रांसमिशन व्यवस्था इस प्रकार है:
|
|||||||||||||||||||||||||||||||||||||||||||||||||||||||||||
| Q56 | क्या ड्राइव चेन के लिए आरएस स्प्रोकेट का उपयोग करते समय कोई लेआउट या स्थिति है जिस पर विशेष ध्यान देने की आवश्यकता है? | |||||||||||||||||||||||||||||||||||||||||||||||||||||||||||
| A56 |
निम्नलिखित मामलों में, लेआउट और प्लेसमेंट में सावधानी बरतनी चाहिए। हम आइडलर और टेंशनर का उपयोग करने की सलाह देते हैं।
चित्र 1) कम केंद्र दूरी के लिए लेआउट
चित्र 2) लंबी केंद्र दूरी के लिए लेआउट
चित्र 3) ऊर्ध्वाधर संचरण |
|||||||||||||||||||||||||||||||||||||||||||||||||||||||||||
| Q57 | ड्राइव चेन के लिए आरएस स्प्रोकेट की स्थापना सटीकता और स्थापना प्रक्रिया क्या है? | |||||||||||||||||||||||||||||||||||||||||||||||||||||||||||
| A57 |
स्थापित करते समय, कृपया समतलता और समानांतरता पर ध्यान दें और सही ढंग से स्थापित करने के लिए नीचे दिए गए निर्देशों का पालन करें।
चित्र 1) शाफ्ट क्षैतिजता
चित्र 2) शाफ्टों की समांतरता
चित्र 3) गलत संरेखित स्प्रोकेट |
|||||||||||||||||||||||||||||||||||||||||||||||||||||||||||
| Q58 | ड्राइव चेन के RS स्प्रोकेट का जीवन समाप्त होने पर क्या होता है? जाँचने योग्य मुख्य बिंदु क्या हैं? | |||||||||||||||||||||||||||||||||||||||||||||||||||||||||||
| A58 |
दांतों के घिसाव की जाँच करके पता लगाएँ कि उनका जीवनकाल कब समाप्त हो गया है और स्प्रोकेट को कब बदलना है। घिसे हुए दांत स्प्रोकेट की मज़बूती कम कर देते हैं, जिसका चेन ट्रांसमिशन पर नकारात्मक प्रभाव पड़ सकता है। स्प्रोकेट का नियमित निरीक्षण करके, आप किसी भी समस्या के आने से पहले ही उसे नया स्प्रोकेट लगा सकते हैं। निम्नलिखित बिंदुओं की जाँच करें:
निरीक्षण कार्य के घंटों को कम करने तथा सुरक्षा में सुधार करने के लिए, हम सूचक पिन से सुसज्जित स्प्रोकेट का निर्माण कर सकते हैं, जो यह संकेत देते हैं कि उन्हें कब बदलना है। दाँत की मोटाई उपयोग सीमा/बी आयाम तालिका
|
|||||||||||||||||||||||||||||||||||||||||||||||||||||||||||
| Q59 | ड्राइव चेन के लिए आरएस स्प्रोकेट की अनुचित स्थापना के लक्षण क्या हैं और मुझे क्या जांच करनी चाहिए? | |||||||||||||||||||||||||||||||||||||||||||||||||||||||||||
| A59 |
[लक्षण] यदि आपको निम्नलिखित में से कोई भी लक्षण दिखाई दे तो कृपया स्प्रोकेट और उसकी स्थापना की पुनः जांच करें।
[निरीक्षण बिंदु] स्प्रोकेट मेशिंग की जांच करके कारण का पता लगाया जा सकता है। यदि यह सामान्य नहीं है, तो पुनः निरीक्षण करें और इसे ठीक करें।
असामान्यता का कारण स्प्रोकेट की अनुचित स्थापना या मुड़ी हुई रोलर चेन हो सकती है। यदि कोई असामान्यता पाई जाती है, तो स्प्रोकेट को नए से बदल दें, क्योंकि स्प्रोकेट को ऐसे ही प्रयोग करने से रोलर चेन ट्रांसमिशन पर नकारात्मक प्रभाव पड़ेगा।
चित्र 1) स्प्रोकेट दांत संपर्क
चित्र 2) दाँत का वह भाग घिस रहा है |
|||||||||||||||||||||||||||||||||||||||||||||||||||||||||||
| Q60 | क्या मैं डबल पिच एस रोलर्स और ड्राइव चेन के लिए आरएस स्प्रोकेट का उपयोग कर सकता हूं? | |||||||||||||||||||||||||||||||||||||||||||||||||||||||||||
| A60 |
डबल पिच एस रोलर्स का उपयोग 29 या उससे कम दांतों वाले आरएस स्प्रोकेट के साथ नहीं किया जा सकता; डबल पिच स्प्रोकेट की आवश्यकता होती है। ड्राइव चेन। (ऐसा इसलिए है क्योंकि पिच सर्कल व्यास (PCD) 30 या अधिक दांतों वाले स्प्रोकेट के लिए एक अनुमानित मान है।) इसके अतिरिक्त, RF2060 से बड़े आकार का उपयोग बहु-तार में नहीं किया जा सकता क्योंकि अनुप्रस्थ पिच अलग होती है। इस स्थिति में, इसे एक विशेष आकार की चेन माना जाता है, इसलिए हम चेन आरेख के आधार पर एक विशेष आकार के स्प्रोकेट के निर्माण पर विचार करेंगे। |
|||||||||||||||||||||||||||||||||||||||||||||||||||||||||||
| Q61 | क्या ड्राइव चेन के लिए आरएस स्प्रोकेट का उपयोग छोटे आकार की कन्वेयर चेन के साथ किया जा सकता है? | |||||||||||||||||||||||||||||||||||||||||||||||||||||||||||
| A61 |
ड्राइव चेन के लिए आरएस स्प्रोकेट का उपयोग आरएस प्रकार के छोटे कन्वेयर अटैचमेंट चेन के साथ किया जा सकता है। हालाँकि, कृपया ध्यान दें कि यदि स्प्रोकेट का व्यास छोटा है या संलग्नक विशेष है, तो आपको स्प्रोकेट के साथ हस्तक्षेप पर विचार करना होगा। डबल डबल पिच के लिए, डबल पिच स्प्रोकेट का उपयोग करें। हालाँकि, यदि डबल पिच एस रोलर्स का उपयोग किया जाता है और दांतों की संख्या 30 या अधिक है, तो आरएस स्प्रोकेट का उपयोग किया जा सकता है। |
|||||||||||||||||||||||||||||||||||||||||||||||||||||||||||
| Q62 | डबल डबल पिच (एस रोलर) के लिए विशेष रूप से डिजाइन किए गए डबल पिच स्प्रोकेट के लिए दांतों की विषम संख्या की सिफारिश क्यों की जाती है? | |||||||||||||||||||||||||||||||||||||||||||||||||||||||||||
| A62 |
एस रोलर्स के लिए, वास्तविक दांतों की संख्या सिफारिश की जाती है क्योंकि इससे पहनने का जीवन बढ़ जाएगा। डबल पिच स्प्रोकेट में, वास्तव में जाल वाले दांतों की संख्या को प्रभावी दांतों की संख्या कहा जाता है, और स्पष्ट दांतों की संख्या को वास्तविक दांतों की संख्या कहा जाता है।यदि चेन एस-रोलर प्रकार की है, तो चेन हर दूसरे दांत से जुड़ेगी (चित्र 1)। जब S रोलर के वास्तविक दांतों की संख्या विषम होती है (चित्र 3 देखें), तो पहले घुमाव पर रोलर्स 1 से 10 तक की संख्याओं के साथ मेश करेंगे, बाकी सभी दांतों को छोड़ देंगे, लेकिन दूसरे घुमाव से वे संख्या 11 के साथ मेश करना शुरू कर देंगे, जो पिछले घुमाव से अलग दांत है। चूँकि स्प्रोकेट के प्रत्येक घुमाव पर रोलर्स अलग-अलग दांतों के साथ मेश करते हैं, इसलिए घिसाव कम होता है और रोलर्स का जीवनकाल लंबा होता है। आर रोलर्स के मामले में, प्रत्येक दांत संलग्न होता है (चित्र 2)। |
|||||||||||||||||||||||||||||||||||||||||||||||||||||||||||
| Q63 | मैं खोखले पिन डबल पिच उपयोग कर रहा हूँ। मैं किस प्रकार के स्प्रोकेट का उपयोग कर सकता हूँ? | |||||||||||||||||||||||||||||||||||||||||||||||||||||||||||
| A63 |
मानक आरएफ डबल डबल पिच की तरह, ड्राइव चेन के लिए आरएस स्प्रोकेट का उपयोग तब किया जा सकता है जब दांतों की संख्या 30 या उससे अधिक हो। इसका उपयोग 29 या उससे कम दांतों के साथ नहीं किया जा सकता, इसलिए डबल पिच स्प्रोकेट की आवश्यकता होती है। बहु-तार के लिए, अलग-अलग अनुप्रस्थ पिच के कारण RF2060 और उससे ऊपर के आकार का उपयोग नहीं किया जा सकता है। इस मामले में, इसे एक विशेष आकार की चेन माना जाता है, इसलिए हम चेन आरेख के आधार पर एक विशेष स्प्रोकेट के निर्माण पर विचार करेंगे। |
|||||||||||||||||||||||||||||||||||||||||||||||||||||||||||
| Q64 | छोटे आकार की कन्वेयर चेन के लिए स्थापना सटीकता और स्थापना प्रक्रिया क्या है? | |||||||||||||||||||||||||||||||||||||||||||||||||||||||||||
| A64 |
स्थापित करते समय, कृपया समतलता और समानांतरता पर ध्यान दें और सही ढंग से स्थापित करने के लिए नीचे दिए गए निर्देशों का पालन करें।
|
|||||||||||||||||||||||||||||||||||||||||||||||||||||||||||
| Q65 | छोटे आकार की कन्वेयर चेन के लिए डबल पिच स्प्रोकेट का जीवनकाल कब तक रहता है? निरीक्षण के लिए मुख्य बिंदु क्या हैं? | |||||||||||||||||||||||||||||||||||||||||||||||||||||||||||
| A65 |
चित्र 2: स्प्रोकेट के दाँतों का घिसाव
चित्र 3 स्प्रोकेट दांत का घिसाव (साइड) |
|||||||||||||||||||||||||||||||||||||||||||||||||||||||||||
| Q66 | बड़े आकार की कन्वेयर चेन के लिए स्प्रोकेट पर दांतों की न्यूनतम संख्या क्या है? | |||||||||||||||||||||||||||||||||||||||||||||||||||||||||||
| A66 |
चेन ग्रिप को ध्यान में रखते हुए, न्यूनतम 6 दांतों की आवश्यकता होती है। |
|||||||||||||||||||||||||||||||||||||||||||||||||||||||||||
| Q67 | बड़े आकार की कन्वेयर चेन के लिए स्प्रोकेट के संबंध में, क्या हब के बिना ए-प्रकार के स्प्रोकेट का निर्माण संभव है? | |||||||||||||||||||||||||||||||||||||||||||||||||||||||||||
| A67 |
हां, लेकिन यह ऑर्डर पर बनाया गया उत्पाद है, इसलिए कृपया हमें एक उद्धरण प्रदान करें। यदि भाग को वेल्ड किया जाना है, तो इससे सामग्री के आधार पर दोष उत्पन्न हो सकते हैं। |
|||||||||||||||||||||||||||||||||||||||||||||||||||||||||||
| Q68 | क्या बड़े आकार की कन्वेयर चेन स्प्रोकेट में लटकने के लिए छेद होते हैं? | |||||||||||||||||||||||||||||||||||||||||||||||||||||||||||
| A68 |
लटकाने के लिए छेद वाले उत्पादों के लिए कृपया कैटलॉग देखें। लटकने वाले छेद वाले स्प्रोकेट के लिए, लटकने वाले छेद के आयाम और छेदों की संख्या स्प्रोकेट बॉडी आयाम तालिका के अतिरिक्त लटकने वाले छेद के आयाम सूची में निर्दिष्ट की जाती है। जिन स्प्रोकेटों के मॉडल नंबर और दांतों की संख्या सूचीबद्ध नहीं है, उनमें लटकाने के लिए छेद नहीं होते हैं। यदि आपके पास कोई अनुरोध है, तो हम उत्पादन पर विचार करेंगे और मामला-दर-मामला आधार पर उद्धरण प्रदान करेंगे, इसलिए कृपया हमें विशिष्ट स्थान, आकार और संख्या बताएं। |
|||||||||||||||||||||||||||||||||||||||||||||||||||||||||||
| Q69 | बड़े आकार की कन्वेयर चेन स्प्रोकेट के लिए स्थापना सटीकता और स्थापना प्रक्रिया क्या है? | |||||||||||||||||||||||||||||||||||||||||||||||||||||||||||
| A69 |
स्थापित करते समय, कृपया समतलता और समानांतरता पर ध्यान दें और सही ढंग से स्थापित करने के लिए नीचे दिए गए निर्देशों का पालन करें।
*स्थापना सटीकता, कन्वेयर श्रृंखला के दृष्टिकोण से एक सामान्य मान है। यदि कन्वेयर की सटीकता पर कोई सीमाएँ हैं, तो कृपया उन सीमाओं का पालन करें। |
|||||||||||||||||||||||||||||||||||||||||||||||||||||||||||
| Q70 | बड़े आकार की कन्वेयर चेन स्प्रोकेट का जीवनकाल कब समाप्त होता है? मुख्य निरीक्षण बिंदु क्या हैं? | |||||||||||||||||||||||||||||||||||||||||||||||||||||||||||
| A70 |
स्प्रोकेट दाँत की सतह की घिसाव सीमा के लिए चित्र 1 को मार्गदर्शक के रूप में उपयोग करें। आकार के आधार पर, जीवनकाल 3 से 6 मिमी तक होता है। अगर चेन घिसे हुए दांतों वाले स्प्रोकेट से जुड़ जाए, तो चेन का समय से पहले घिसना जैसे प्रतिकूल प्रभाव पड़ सकते हैं। अगर दांत घिस गए हैं, तो स्प्रोकेट बदल दें। यदि स्प्रोकेट के दांतों का किनारा घिसा हुआ है, तो तालिका 1 देखें और कारण का पता लगाने के लिए उचित उपाय करें। हम सूचक पिन से सुसज्जित स्प्रॉकेट का निर्माण कर सकते हैं जो यह बताता है कि स्प्रॉकेट को कब बदलने की आवश्यकता है, जिससे निरीक्षण का समय कम हो जाता है और सुरक्षा में सुधार होता है।
|
|||||||||||||||||||||||||||||||||||||||||||||||||||||||||||
| Q71 | क्या बड़े कन्वेयर के लिए ऐसे कोई स्प्रोकेट उपलब्ध हैं जिन्हें आसानी से बदला जा सके? | |||||||||||||||||||||||||||||||||||||||||||||||||||||||||||
| A71 |
हम "स्मार्ट रिप्लेस करने योग्य सीरीज़" प्रदान करते हैं, जो शाफ्ट को हटाए बिना ही उसे बदलने की सुविधा देती है। परंपरागत रूप से, स्प्रोकेट को बदलने के लिए शाफ्ट से हटाना पड़ता था, लेकिन इस श्रृंखला में केवल दांतों या खंडित संरचना को ही बदला जा सकता है, जिससे उपकरण के बंद रहने का समय और श्रम लागत कम हो जाती है। यह उन उपकरणों के लिए उपयुक्त है जिन्हें बार-बार बदलने की आवश्यकता होती है, उच्च या सीमित स्थानों में स्थापित उपकरण, और ऐसे उपकरण जहां स्प्रोकेट जाम होने के कारण शाफ्ट से निकलने की संभावना होती है। विस्तृत विशिष्टताओं और उपयोग के दायरे के लिए, कृपया उत्पाद जानकारी देखें। |
|||||||||||||||||||||||||||||||||||||||||||||||||||||||||||
| Q72 | बड़े कन्वेयर स्प्रोकेट के लिए स्मार्ट रिप्लेस करने योग्य सीरीज़ में रिंग-टाइप और ब्लॉक-टाइप स्प्रोकेट के लिए कौन-कौन से फास्टनिंग तरीके उपलब्ध हैं? | |||||||||||||||||||||||||||||||||||||||||||||||||||||||||||
| A72 |
स्मार्ट रिप्लेस करने योग्य सीरीज में रिंग-टाइप और ब्लॉक-टाइप दोनों प्रकार के रिप्लेसमेंट दांत उपलब्ध हैं। |
|||||||||||||||||||||||||||||||||||||||||||||||||||||||||||
| Q73 | बड़े कन्वेयर के लिए स्मार्ट रिप्लेस करने योग्य के रिंग रिप्लेसमेंट टीथ/ब्लॉक रिप्लेसमेंट टीथ के लिए स्पॉट-वेल्डेड और HARDLOCK Nut माउंटिंग स्पेसिफिकेशन्स में क्या अंतर है? | |||||||||||||||||||||||||||||||||||||||||||||||||||||||||||
| A73 |
मुख्य अंतर "ढीलापन रोकने की विधि" और "स्थापना विधि" में निहित हैं। [स्पॉट वेल्डिंग विनिर्देश] जेआईएस मानक बोल्ट और नट से कसने के बाद, घुमाव को रोकने के लिए स्पॉट वेल्डिंग की जाती है। इससे सुरक्षित कसाव सुनिश्चित होता है, लेकिन इसमें आग के साथ काम करना आवश्यक होता है। [HARDLOCK Nut माउंटिंग विनिर्देश] इसे वेल्डिंग के बिना, ढीला होने से रोकने वाले तंत्र से युक्त एक विशेष नट द्वारा सुरक्षित किया जाता है। इसे आग का उपयोग किए बिना स्थापित किया जा सकता है, लेकिन नट की दोहरी परत संरचना के कारण उभार में भिन्नता हो सकती है। चयन के मुख्य मानदंडों में यह शामिल है कि क्या खुली आग का उपयोग किया जा सकता है और आसपास के क्षेत्रों में व्यवधान की कितनी संभावना है। |
|||||||||||||||||||||||||||||||||||||||||||||||||||||||||||
| Q74 | बड़े कन्वेयर स्मार्ट रिप्लेस करने योग्य के लिए, मुझे कौन सा विकल्प चुनना चाहिए: स्पॉट वेल्डिंग के साथ रिंग रिप्लेसमेंट टीथ/ब्लॉक रिप्लेसमेंट टीथ या HARDLOCK Nut माउंटिंग स्पेसिफिकेशन? | |||||||||||||||||||||||||||||||||||||||||||||||||||||||||||
| A74 |
कृपया उपयोग के वातावरण और निर्माण की स्थितियों के आधार पर चयन करें, निम्नलिखित को दिशानिर्देश के रूप में उपयोग करें। [स्पॉट वेल्डिंग विनिर्देश] इस डिजाइन में बोल्ट कसने के बाद घुमाव को रोकने के लिए स्पॉट वेल्डिंग का उपयोग किया जाता है। यदि वेल्ड को हटा दिया जाए (ग्राइंडर आदि का उपयोग करके), तो बोल्ट को निकाला जा सकता है और प्रतिस्थापन दांत को बाहर निकाला जा सकता है। इसे दोबारा लगाते समय, वेल्ड को हटाकर फिर से वेल्ड करना होगा। यह उन स्थितियों के लिए उपयुक्त है जहां खुली आग की अनुमति है और स्थायी स्थापना को प्राथमिकता दी जाती है। [HARDLOCK Nut माउंटिंग विनिर्देश] इसे एक ऐसे नट से सुरक्षित करने के लिए डिज़ाइन किया गया है जिसमें ढीला होने से रोकने का तंत्र मौजूद है। इसमें वेल्डिंग की आवश्यकता नहीं है; इसे केवल औजारों की मदद से जोड़ा और अलग किया जा सकता है। यह उन कार्यस्थलों के लिए उपयुक्त है जहां खुली आग से बचना आवश्यक है, या जब समय-समय पर इसे बदलने की आवश्यकता होती है। कृपया ध्यान दें कि चूंकि यह दो नटों का उपयोग करने वाली दोहरी परत वाली संरचना है, इसलिए कसने की प्रक्रिया में दो चरण शामिल हैं, और नट के उभार की जांच करना आवश्यक है। यदि आपको कोई शंका है, तो कृपया हमें अपने उपयोग के परिवेश की जानकारी के साथ संपर्क करें। |
|||||||||||||||||||||||||||||||||||||||||||||||||||||||||||
| Q75 | क्या बड़े कन्वेयर स्प्रोकेट स्मार्ट स्मार्ट रिप्लेस करने योग्य सीरीज़ के लिए HARDLOCK Nut माउंटिंग स्पेसिफिकेशन वेल्डिंग के बिना ढीला होने से रोकता है? | |||||||||||||||||||||||||||||||||||||||||||||||||||||||||||
| A75 |
HARDLOCK Nut वेज सिद्धांत पर आधारित दोहरी परत वाली संरचना का उपयोग करते हैं, जो कंपन वाले वातावरण में भी ढीला होने से रोकने का उच्च स्तर का प्रभाव प्रदान करते हैं। इसकी प्रमुख विशेषता यह है कि इसे वेल्डिंग के बिना ही अपनी जगह पर स्थिर किया जा सकता है। उत्तल और अवतल नट को मिलाकर बनाई गई यह संरचना, ढीला होने से रोकने में मजबूत प्रभाव प्रदान करती है, लेकिन उपयोग के वातावरण और कसने की प्रबंधन स्थितियों के आधार पर ढीलापन फिर भी हो सकता है। चेन चलते समय नियमित रूप से जांच लें कि नट ढीले तो नहीं हो गए हैं। (नटों पर मार्कर से निशान लगाने से जांच करना आसान हो जाएगा।) |
|||||||||||||||||||||||||||||||||||||||||||||||||||||||||||
| Q76 | क्या HARDLOCK Nut माउंटिंग स्पेसिफिकेशन या स्पॉट वेल्डिंग का उपयोग करने के आधार पर बड़े कन्वेयर स्मार्ट रिप्लेस करने योग्य सीरीज़ के आयामों में बदलाव आएगा? | |||||||||||||||||||||||||||||||||||||||||||||||||||||||||||
| A76 |
नट का उभार अलग-अलग हो सकता है। चेन या उपकरणों से टकराने से बचने के लिए सावधानी बरतनी चाहिए। आयामों के लिए कृपया उत्पाद जानकारी देखें।
|
|||||||||||||||||||||||||||||||||||||||||||||||||||||||||||
| Q77 | हम वर्तमान में बड़े कन्वेयर के लिए स्मार्ट स्मार्ट रिप्लेस करने योग्य सीरीज़ स्प्रोकेट के स्पॉट-वेल्डेड रिंग टीथ/ब्लॉक टीथ का उपयोग कर रहे हैं। क्या HARDLOCK Nut माउंटिंग स्पेसिफिकेशन में बदलना संभव है? | |||||||||||||||||||||||||||||||||||||||||||||||||||||||||||
| A77 |
इसके आयामों को बदला जा सकता है। हालांकि, नट के उभार में बदलाव होने से उपकरण या चेन अटैचमेंट में रुकावट आ सकती है। कृपया आयामों के लिए उत्पाद जानकारी देखें। |
|||||||||||||||||||||||||||||||||||||||||||||||||||||||||||
| Q78 | हम बड़े कन्वेयर के लिए स्मार्ट स्मार्ट रिप्लेस करने योग्य सीरीज स्प्रोकेट के स्पॉट-वेल्डेड रिंग टीथ/ब्लॉक टीथ का उपयोग कर रहे हैं, लेकिन क्या केवल HARDLOCK Nut बदलना संभव है? | |||||||||||||||||||||||||||||||||||||||||||||||||||||||||||
| A78 |
गुणवत्ता सुनिश्चित करने के कारणों से, हम केवल पुर्जों को नहीं बदल सकते। |
|||||||||||||||||||||||||||||||||||||||||||||||||||||||||||











