तकनीकी डेटा छोटे आकार की कन्वेयर चेन चयन
यदि आप चयन प्रक्रिया और महत्वपूर्ण बिंदु देखना चाहते हैं, तो कृपया नीचे आगे बढ़ें।
यदि आप किसी उत्पाद श्रृंखला को सीमित करना या अस्थायी रूप से चुनना चाहते हैं,
कृपया यहां क्लिक करें।
यदि आपकी उपयोग शर्तें तय हो गई हैं और आप विस्तृत चयन चाहते हैं,
कृपया यहां क्लिक करें।
छोटे आकार की कन्वेयर चेन चयन प्रक्रिया
कन्वेयर के प्रकार और क्षमता के आधार पर उपयुक्त चेन का आकार और प्रकार चुना जाता है। कन्वेयर के उपयोग की स्थितियों के आधार पर कई मामले होते हैं, और कोई सामान्य निर्णय लेना संभव नहीं हो सकता है, लेकिन आमतौर पर निम्नलिखित प्रक्रिया का पालन किया जाता है।
1. परिवहन की स्थिति की जाँच करें

2. चेन के प्रकार पर अस्थायी निर्णय

3. रोलर और अटैचमेंट के स्वीकार्य भार की जाँच करें

4. चेन पर लगने वाले अधिकतम तनाव की गणना

5. चेन का आकार निर्धारित करें

6. आंतरायिक संचालन के लिए श्रृंखला चयन विधि
चरण 1. परिवहन की स्थिति की जाँच करें
- 1. कन्वेयर का प्रकार (स्लैट कन्वेयर, बकेट कन्वेयर, आदि)
- 2. संदेश भेजने की दिशा (क्षैतिज, झुकी हुई, ऊर्ध्वाधर संदेश भेजना)
- 3. परिवहन की जाने वाली वस्तु का प्रकार, द्रव्यमान और आयाम
- 4. परिवहन मात्रा और परिवहन अंतराल
- 5. कन्वेयर गति
- 6. कन्वेयर की लंबाई
- 7. स्नेहन
- 8. परिवहन वातावरण (तापमान, संक्षारण कारक)
चरण 2. चेन के प्रकार पर अस्थायी रूप से निर्णय लें
श्रृंखला पर कार्यरत अधिकतम स्थैतिक तनाव (F) का निर्धारण करें।
एसआई इकाइयाँ F(kN) = W × f 1 × K V × G 1000
गुरुत्वाकर्षण इकाई F{kgf} = W × f 1 × K V
W = कन्वेयर पर वस्तुओं का कुल द्रव्यमान {वजन} किग्रा {किलोग्राम}
f 1 = घर्षण गुणांक (सारणी 3) K V = वेग गुणांक (सारणी 4)
G = 9.80665m/s2
F (या F × 0.6 जब श्रृंखलाएं समानांतर हों) या अधिक अधिकतम अनुमेय भार था
चेन का प्रकार और आकार अस्थायी रूप से निर्धारित किया जाएगा।
छोटे आकार की कन्वेयर चेन (स्टेनलेस स्टील और इंजीनियरिंग प्लास्टिक श्रृंखलाओं को छोड़कर) के लिए अधिकतम अनुमेय भार थकान सीमा पर निर्धारित किया जाता है।
यदि भार इस मान से कम है, तो बार-बार भार डालने पर भी छोटे आकार की कन्वेयर चेन नहीं टूटेगी।
*स्टेनलेस स्टील और इंजीनियरिंग प्लास्टिक अधिकतम अनुमेय भार पिन और बुशिंग के बीच सतह के दबाव के आधार पर निर्धारित किया जाता है, पहनने के प्रदर्शन को ध्यान में रखते हुए।
चरण 3. स्वीकार्य भार की जाँच करें
लोड-प्रकार कन्वेयर में रोलर्स या संलग्नक पर अभिनय करने वाला भार तालिका 1 और 2 में दिए गए मानों से कम होना चाहिए।
तालिका 1 मुख्य रोलर का स्वीकार्य भार
| आकार | डबल पिच संलग्नक सहित आरएस प्रकार (मानक श्रृंखला) लैम्डा/दीर्घ-जीवन लैम्डा |
स्टेनलेस स्टील रोलर (एसएस, एएस) |
प्लास्टिक रोलर | प्लास्टिक रोलर केवी विनिर्देश |
कम शोर प्लास्टिक रोलर |
पॉली-स्टील चेन | |||
|---|---|---|---|---|---|---|---|---|---|
| आर रोलर | एस रोलर | आर रोलर | एस रोलर | आर रोलर | एस रोलर | आर रोलर | आर रोलर | ||
| RS25 | - | - | - | - | - | - | - | - | 0.005 {0.5} |
| RS35 | - | - | - | - | - | - | - | - | 0.015 {1.5} |
| RF2040・RS40 | 0.64 {65} | 0.15 {15} | 0.20 {20} | 0.05 {5} | 0.20 {20} | 0.02 {2} | 0.20 {20} | 0.14 {14} | 0.02 {2.0} |
| RF2050・RS50 | 0.98 {100} | 0.20 {20} | 0.29 {30} | 0.06 {6} | 0.29 {30} | 0.03 {3} | 0.29 {30} | 0.21 {21} | 0.04 {4.0} |
| RF2060・RS60 | 1.57 {160} | 0.29 {30} | 0.49 {50} | 0.09 {9} | 0.49 {50} | 0.05 {5} | 0.49 {50} | 0.34 {35} | 0.06 {6.0} |
| RF2080・RS80 | 2.65 {270} | 0.54 {55} | 0.78 {80} | 0.15 {15} | 0.88 {90} | 0.09 {9} | - | 0.62 {63} | - |
| RF2100・RS100 | 3.92 {400} | 0.78 {80} | 1.18 {120} | 0.25 {25} | 1.27 {130} | - | - | - | - |
| RF2120・RS120 | 5.88 {600} | 1.18 {120} | 1.77 {180} | 0.34 {35} | - | - | - | - | - |
| RS140 | - | 1.32 {135} | - | 0.39 {40} | - | - | - | - | - |
| RF2160・RS160 | 9.61 {980} | 1.91 {195} | 2.75 {280} | 0.54 {55} | - | - | - | - | - |
टिप्पणी)
- 1. ये मान चिकनाई युक्त होने पर लागू होते हैं। डबल पिच और आरएस-प्रकार की चेन, जिनमें अटैचमेंट लगे होते हैं, पर्यावरण-प्रतिरोधी चेन (एनपी और NEP श्रृंखला) शामिल हैं।
- 2. पॉली-स्टील चेन के लिए, प्रति इकाई अनुमेय भार तब होता है जब आंतरिक लिंक के निचले भाग द्वारा समर्थित होता है।
- 3. मानक श्रृंखला R रोलर्स की गाइड चैनल सामग्री के लिए, S45C या उससे अधिक की उच्च तन्यता शक्ति वाली सामग्री का उपयोग करें।
- 4. बेयरिंग बुश चेन और बेयरिंग केज चेन के बारे में जानकारी के लिए, कृपया उत्पाद जानकारी पृष्ठ देखें।
मुख्य रोलर का स्वीकार्य भार
तालिका 2 अनुलग्नक A के लिए स्वीकार्य भार
यह वह ऊर्ध्वाधर भार है जिसे A-प्रकार का अटैचमेंट सहन कर सकता है।
आपके द्वारा स्थापित किए गए अटैचमेंट के आकार और संरचना के आधार पर, अटैचमेंट A पर एक घुमाव बल उत्पन्न हो सकता है। ऐसा होने पर कृपया हमसे संपर्क करें।
| डबल पिच चेन | आरएस प्रकार की चेन | ||||
|---|---|---|---|---|---|
| आकार | डबल पिच 1 | स्टेनलेस | आकार | अनुलग्नक के साथनोट 1 | स्टेनलेस |
| RF2040 | 0.262 {26.7} | 0.108 {11.0} | RS25 | 0.028 {2.9} | 0.012 {1.2} |
| RF2050 | 0.455 {46.4} | 0.189 {19.3} | RS35 | 0.094 {9.6} | 0.036 {3.7} |
| RF2060 | 1.06 {108} | 0.419 {42.7} | RS40 | 0.130 {13.3} | 0.054 {5.5} |
| RF2080 | 1.67 {170} | 0.646 {65.9} | RS50 | 0.243 {24.8} | 0.101 {10.3} |
| RF2100 | 2.51 {256} | 1.15 {117} | RS60 | 0.376 {38.3} | 0.148 {15.1} |
| RF2120 | 3.68 {375} | 1.79 {183} | RS80 | 0.591 {60.3} | 0.233 {23.8} |
| RF2160 | 5.84 {596} | 3.13 {319} | RS100 | 0.933 {95.1} | 0.361 {36.8} |
| RS120 | 1.39 {142} | 0.629 {64.1} | |||
| RS140 | 1.82 {186} | 0.869 {88.6} | |||
| RS160 | 2.36 {241} | 1.19 {121} | |||
टिप्पणी)
- 1. इसमें पर्यावरण प्रतिरोधी श्रृंखला (एनपी/ NEP श्रृंखला) शामिल है।
- 2. बेयरिंग बुश चेन और बेयरिंग केज चेन के बारे में जानकारी के लिए, कृपया उत्पाद जानकारी पृष्ठ देखें।
- ऊर्ध्वाधर भार के अनुप्रयोग का वह बिंदु जो अनुलग्नकों A में से किसी एक द्वारा सहन किया जा सकता है, अनुलग्नक के माउंटिंग छेद की स्थिति है।
- ・K अनुलग्नक A अनुलग्नकों से दोगुने शक्तिशाली होते हैं।
- - रोलर पर स्वीकार्य भार से अधिक भार न हो, इसका ध्यान रखें।
चरण 4. चेन पर लगने वाले अधिकतम तनाव (F) की गणना करें
कैटलॉग में SI इकाइयाँ और गुरुत्वाकर्षण इकाइयाँ, दोनों सूचीबद्ध हैं। गुरुत्वाकर्षण इकाइयों में अधिकतम तनाव की गणना करते समय, भार (किलोग्राम) द्रव्यमान (किलोग्राम) के समान होता है।
- F = चेन पर कार्यरत अधिकतम स्थैतिक तनाव: kN{kgf}
- V = संवहन गति (श्रृंखला गति): मी/मिनट
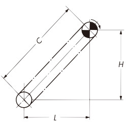
- H = स्प्रोकेट केंद्र दूरी (ऊर्ध्वाधर दिशा): m
- L = स्प्रोकेट केंद्र दूरी (क्षैतिज): m
- C = स्प्रोकेट केंद्र दूरी: मीटर
- M = गतिशील भागों का द्रव्यमान (भार): चेन *, बाल्टी, एप्रन, आदि का द्रव्यमान (किग्रा/मी {किलोग्राम/मी})
- W = कन्वेयर पर परिवहन की जा रही वस्तुओं का अधिकतम कुल द्रव्यमान {वजन}: किग्रा {किलोग्राम}
थोक वस्तुओं के लिए: W = C लोडिंग अंतराल × परिवहन सामग्री की मात्रा {वजन} - kW = आवश्यक शक्ति
- f 1 = चेन और गाइड चैनल के बीच घर्षण गुणांक (तालिका 3)
- η = ड्राइव की यांत्रिक दक्षता
- G = गुरुत्वाकर्षण त्वरण: 9.80665m/s 2
*जब दो जंजीरों को समानान्तर उपयोग में लाया जाता है, तो भार दो जंजीरों के बराबर होगा।
*यदि आगे और पीछे का संचालन बार-बार किया जाता है, तो चेन को टेक-अप द्वारा ऊपर ले जाने की आवश्यकता होगी, इसलिए गणना सूत्र नीचे दिए गए सूत्र से भिन्न होगा।
यदि आप टेक-अप के साथ चेन में ढीलापन ले रहे हैं, तो कृपया यहां प्रश्नोत्तर 6 में गणना सूत्र का उपयोग करें।
तालिका 3-1 एफ 1: मुख्य श्रृंखला के रोलर्स जब रेल पर घूमते हैं तो घर्षण गुणांक
| लौरा वर्गीकरण |
स्टील रोलर | लैम्ब्डा जंजीर |
प्लास्टिक रोलर इंजेक्शन | कम शोर प्लास्टिक रोलर |
सुई बुशिंग जंजीर |
|
|---|---|---|---|---|---|---|
| स्नेहन (कोई नहीं) | स्नेहन (साथ) | स्नेहन (कोई नहीं) | स्नेहन (कोई नहीं) | |||
| आर रोलर | 0.12 | 0.08 | 0.08 | 0.08 | 0.1 | 0.21 |
| एस रोलर | 0.21 | 0.14 | 0.14 | - | - | - |
नोट) प्लास्टिक रोलर के.वी. विनिर्देश शामिल हैं।
तालिका 3-2 f 1: चेन प्लेट्स के रेल पर फिसलने पर घर्षण गुणांक
| स्टील प्लेट | पॉली-स्टील चेन | |
|---|---|---|
| स्नेहन (कोई नहीं) | स्नेहन (साथ) | |
| 0.3 | 0.2 | 0.25 |
गणना सूत्र
| एस आई यूनिट | {गुरुत्वाकर्षण इकाई} |
|---|---|
|
क्षैतिज परिवहन सामान ले जाते समय F = (W + 2.1 × M × C) × f1 × G 1000 kW = F × V 6120 × 1 η
F = (W + 2.1 × M × C) × f1 kW = F × V 6120 × 1 η |
|
|
ऊर्ध्वाधर परिवहन F = (W + M × C) × G 1000 kW = W × V 60 × G 1000 × 1 η
F = W + M × C kW = W × V 6120 × 1 η |
|
|
झुकाव वाला परिवहन * सामान ले जाते समय
F = (W + M × C) L × f1 + H C + 1.1 × M × (L × f1 - H) × G 1000 kW = V 60 F - M × (H - L × f1) G 1000 × 1 η F = (W + M × C) L × f1 + H C + 1.1 × M × (L × f1 - H) kW = V 6120 F - M × (H - L × f1) × 1 η नोट) तारांकन चिह्न से चिह्नित F के सूत्र में, यदि L × f1- H < 0, तो L × f1- H = 0. साथ ही, kW के सूत्र में, यदि H - L × f1 < 0, तो H - L × f1 = 0. |
|
|
क्षैतिज/झुकाव परिवहन * सामान ले जाते समय
F =
(
W
C1 + C2
+ 2.1 × M) C1 × f1+
(
W
C1 + C2
+ M) × (L1 × f1 + H)
kW = V 60 F - M × (H - L1 × f1) G 1000 × 1 η F =
(
W
C1 + C2
+ 2.1 × M) × C1 × f1+
(
W
C1 + C2
+ M) × (L1 × f1 + H)
kW = V 6120 F - M × (H - L1 × f1) × 1 η नोट) तारांकन चिह्न से चिह्नित F के सूत्र में, यदि L 1 × f 1- H < 0, तो L 1 × f 1- H = 0. इसके अलावा, kW के सूत्र में, यदि HL 1 × f 1 < 0, तो H - L 1 × f 1 = 0. |
|
चरण 5. चेन का आकार निर्धारित करें
निम्नलिखित सूत्र को संतुष्ट करने वाली श्रृंखला का चयन करने के लिए तालिका 4 से गति कारक (KV) द्वारा श्रृंखला पर कार्यरत अधिकतम तनाव (F) को गुणा करें।
F × K V ≦ अधिकतम अनुमेय भार
तालिका 4 वेग गुणांक (K V)
| चेन की गति मीटर/मिनट | वेग कारक (Kv) |
|---|---|
| 15 या उससे कम | 1.0 |
| 15~30 | 1.2 |
| 30~50 | 1.4 |
| 50~70 | 1.6 |
| 70~90 | 2.2 |
| 90~110 | 2.8 |
| 110~120 | 3.2 |
नीचे सूचीबद्ध श्रृंखलाओं के लिए अनुशंसित गतियाँ हैं:
|
30m/min以下 |
|
70m/min以下 |
तालिका 5: छोटे आकार की कन्वेयर चेन की शक्ति (इकाई: kN{kgf})
| आकार | सामान्य प्रयोजन श्रृंखला | लैम्ब्डा चेन दीर्घायु लैम्ब्डा चेन |
|---|---|---|
| RF2040 | 2.65 {270} | 2.65 {270} |
| RF2050 | 4.31 {440} | 4.31 {440} |
| RF2060 | 6.28 {640} | 6.28 {640} |
| RF2080 | 10.7 {1090} | 10.7 {1090} |
| RF2100 | 17.1 {1740} | 17.1 {1740} |
| RF2120 | 23.9 {2440} | 23.9 {2440} |
| RF2160 | 40.9 {4170} | - |
| आकार | स्टेनलेस स्टील डबल पिच | डबल पिच लेपित | |||||
|---|---|---|---|---|---|---|---|
| SS श्रृंखला | HS श्रृंखला | AS श्रृंखला | NS श्रृंखला | एलएसके विनिर्देश | NP श्रृंखला | NEP श्रृंखला | |
| RF2040 | 0.69 {70} | 1.19 {121} | 0.69 {70} | 0.44 {45} | 0.44 {45} | 2.65 {270} | 2.65 {270} |
| RF2050 | 1.03 {105} | 1.85 {189} | 1.03 {105} | 0.69 {70} | 0.69 {70} | 4.31 {440} | 4.31 {440} |
| RF2060 | 1.57 {160} | 2.78 {283} | 1.57 {160} | 1.03 {105} | 1.03 {105} | 6.28 {640} | 6.28 {640} |
| RF2080 | 2.65 {270} | 4.77 {486} | 2.65 {270} | 1.77 {180} | - | 10.7 {1090} | 10.7 {1090} |
| RF2100 | 2.55 {260} | - | - | - | - | 17.1 {1740} | 17.1 {1740} |
| RF2120 | 3.82 {390} | - | - | - | - | 23.9 {2440} | - |
| RF2160 | 6.37 {650} | - | - | - | - | 40.9 {4170} | - |
| आकार | सामान्य प्रयोजन श्रृंखला | कम शोर श्रृंखला | गर्मी प्रतिरोधी विनिर्देश | |||||
|---|---|---|---|---|---|---|---|---|
| मानक श्रृंखला | NP श्रृंखला | SS श्रृंखला | एसपी रोलर | मानक श्रृंखला | NP श्रृंखला | SS श्रृंखला | ||
| RF2040 | 0.44 {45} | 0.44 {45} | 0.44 {45} | 0.23 {23} | 0.44 {45} | 0.44 {45} | 0.44 {45} | 0.44 {45} |
| RF2050 | 0.69 {70} | 0.69 {70} | 0.69 {70} | 0.34 {34} | 0.69 {70} | 0.69 {70} | 0.69 {70} | 0.69 {70} |
| RF2060 | 1.03 {105} | 1.03 {105} | 1.03 {105} | 0.54 {55} | 1.03 {105} | 1.03 {105} | 1.03 {105} | 1.03 {105} |
| RF2080 | 1.77 {180} | 1.77 {180} | 1.77 {180} | 0.88 {89} | 1.77 {180} | 1.77 {180} | 1.77 {180} | - |
| RF2100 | 2.55 {260} | 2.55 {260} | 2.55 {260} | - | - | - | - | - |
| आकार | सामान्य प्रयोजन विनिर्देश | एलएमसी विनिर्देश | NP श्रृंखला | SS श्रृंखला |
|---|---|---|---|---|
| RF2040 | 1.77 {180} | 1.47 {150} | 1.77 {180} | 0.44 {45} |
| RF2050 | 3.14 {320} | 2.55 {260} | 3.14 {320} | 0.69 {70} |
| RF2060 | 4.22 {430} | 3.43 {350} | 4.22 {430} | 1.03 {105} |
| RF2080 | 7.65 {780} | 6.18 {630} | 7.65 {780} | 1.77 {180} |
| आकार | सामान्य प्रयोजन विनिर्देश |
|---|---|
| RF2040 | 1.86 {190} |
| RF2050 | 2.84 {290} |
| RF2060 | 4.02 {410} |
| RF2080 | 6.96 {710} |
आंतरायिक कन्वेयर श्रृंखला
| आकार | मानक श्रृंखला | उच्च परिशुद्धता विनिर्देश | स्टेनलेस स्टील विनिर्देशों |
|---|---|---|---|
| RF2040 | 0.78 {80} | 0.78 {80} | 0.44 {45} |
| RF2050 | 1.27 {130} | 1.27 {130} | 0.69 {70} |
| RF2060 | 1.77 {180} | 1.77 {180} | 1.03 {105} |
| RF2080 | 2.94 {300} | 2.94 {300} | 1.77 {180} |
| आकार | अधिकतम अनुमेय भार |
|---|---|
| RF2040 | 0.45 {45} |
| RF2050 | 0.69 {70} |
| RF2060 | 1.03 {105} |
| RF2080 | 1.77 {180} |
| आकार | अधिकतम अनुमेय भार |
|---|---|
| BCM12.5-9 | 0.3 {30} |
| BCM15-9 | 0.3 {30} |
| आकार | अधिकतम अनुमेय भार |
|---|---|
| BC050 | 0.49 {50} |
| BC075 | 0.69 {70} |
| BC100 | 0.69 {70} |
| BC150 | 1.27 {130} |
| आकार | सामान्य प्रयोजन श्रृंखला | लैम्ब्डा चेन | दीर्घायु लैम्ब्डा चेन |
|---|---|---|---|
| RS25 | 0.64 {65} | - | - |
| RS35 | 1.52 {155} | 1.52 {155} | - |
| RS40 | 2.65 {270} | 2.65 {270} | 2.65 {270} |
| RS50 | 4.31 {440} | 4.31 {440} | 4.31 {440} |
| RS60 | 6.28 {640} | 6.28 {640} | 6.28 {640} |
| RS80 | 10.7 {1090} | 10.7 {1090} | 10.7 {1090} |
| RS100 | 17.1 {1740} | 17.1 {1740} | 17.1 {1740} |
| RS120 | 23.9 {2440} | 23.9 {2440} | - |
| RS140 | 32.4 {3300} | 32.4 {3300} | - |
| RS160 | 40.9 {4170} | - | - |
| आकार | आरएस अटैचमेंट चेन | लेपित आरएस अटैचमेंट चेन | पॉली-स्टील चेन | प्लास्टिक रोलर जंजीर |
|||||
|---|---|---|---|---|---|---|---|---|---|
| SS श्रृंखला | HS श्रृंखला | AS श्रृंखला | NS श्रृंखला | एलएसके विनिर्देश (स्टेनलेस स्टील रोलर) |
NP श्रृंखला | NEP श्रृंखला | एसपी रोलर | ||
| RS25 | 0.12 {12} | - | - | 0.12 {12} | - | 0.64 {65} | - | 0.08 {8} | - |
| RS35 | 0.26 {27} | - | - | 0.26 {27} | - | 1.52 {155} | - | 0.18 {18} | - |
| RS40 | 0.69 {70} | 1.19 {121} | 0.69 {70} | 0.44 {45} | 0.44 {045} | 2.65 {270} | 2.65 {270} | 0.44 {45} | 0.23 {23} |
| RS50 | 1.03 {105} | 1.85 {189} | 1.03 {105} | 0.69 {70} | 0.69 {070} | 4.31 {440} | 4.31 {440} | 0.69 {70} | 0.34 {34} |
| RS60 | 1.57 {160} | 2.78 {283} | 1.57 {160} | 1.03 {105} | 1.03 {105} | 6.28 {640} | 6.28 {640} | 0.88 {90} | 0.54 {55} |
| RS80 | 2.65 {270} | 4.77 {486} | 2.65 {270} | 1.77 {180} | - | 10.7 {1090} | 10.7 {1090} | - | 0.88 {89} |
| RS100 | 3.82 {390} | - | - | - | - | 17.1 {1740} | 17.1 {1740} | - | - |
| RS120 | 3.82 {390} | - | - | - | - | 23.9 {2440} | - | - | - |
| RS140 | 4.61 {470} | - | - | - | - | 32.4 {3300} | - | - | - |
| RS160 | 6.37 {650} | - | - | - | - | 40.9 {4170} | - | - | - |
| आकार | सामान्य प्रयोजन विनिर्देश | लैम्ब्डा विशिष्टता | NP श्रृंखला | SS श्रृंखला |
|---|---|---|---|---|
| RS40 | 1.77 {180} | 1.47 {150} | 1.77 {180} | 0.44 {45} |
| RS50 | 3.14 {320} | 2.55 {260} | 3.14 {320} | 0.69 {70} |
| RS60 | 4.22 {430} | 3.43 {350} | 4.22 {430} | 1.03 {105} |
| RS80 | 7.65 {780} | 6.18 {630} | 7.65 {780} | 1.77 {180} |
| आकार | सामान्य प्रयोजन विनिर्देश |
|---|---|
| RS40 | 1.86 {190} |
| RS50 | 2.84 {290} |
| RS60 | 4.02 {410} |
| RS80 | 6.96 {710} |
टिप्पणी)
- 1. SS श्रृंखला और NS श्रृंखला शिपिंग से पहले तेल नहीं लगाया जाता है। पानी के अंदर या पानी के संपर्क में आने वाले वातावरण के अलावा अन्य जगहों पर उपयोग करते समय, कृपया उपयोग से पहले तेल लगाना सुनिश्चित करें।
- 2. यदि चेन को बिना तेल डाले इस्तेमाल किया जाए तो यह जल्दी ही खराब तरीके से मुड़ने लगेगी।
- 3. अधिकतम अनुमेय भार तेलयुक्त स्थितियों (जल स्नेहन सहित) के तहत मूल्य है।
चरण 6. आंतरायिक संचालन के लिए श्रृंखला चयन
जब किसी श्रृंखला का उपयोग आंतरायिक संचालन के लिए किया जाता है, जैसे कि अनुक्रमण उपकरण के साथ, तो श्रृंखला पर कार्यरत तनाव को न केवल एक सामान्य श्रृंखला चयन कारक (घर्षण बल पर आधारित तनाव F) के रूप में माना जाना चाहिए, बल्कि जड़त्व के कारण एक अतिरिक्त तनाव F1 के रूप में भी माना जाना चाहिए।
अतिरिक्त तनाव F1 की गणना आमतौर पर F1 = mα द्वारा की जाती है। गणना प्रक्रिया इसी सूत्र के आधार पर समझाई गई है।
- m = संचालित पक्ष का कुल द्रव्यमान (किलोग्राम)
- α = अधिकतम त्वरण (मी/से 2)
| एस आई यूनिट | {गुरुत्वाकर्षण इकाई} | ||||||||
|---|---|---|---|---|---|---|---|---|---|
|
|||||||||
|
1) संचालित पक्ष के कुल द्रव्यमान m की गणना करें। m = W + M1 + 1 2 M2 नोट) 1 2 M 2: स्प्रोकेट के जड़त्व बल को चेन के जड़त्व बल में परिवर्तित करके प्राप्त अनुमानित मान। |
|||||||||
|
2) अधिकतम त्वरण α (m/s 2) और उपरोक्त सूत्र का उपयोग करके, जड़त्व के कारण अतिरिक्त तनाव की गणना F1=mα के रूप में करें। उदाहरण के लिए, जब कैम-प्रकार के इंडेक्सिंग उपकरण का उपयोग किया जाता है, तो अधिकतम त्वरण α होता है
कैम वक्र के अनुरूप Am मान का उपयोग करें।
विवरण के लिए कृपया इंडेक्सिंग निर्माता से संपर्क करें। |
|||||||||
|
3) जड़त्व के कारण अतिरिक्त तनाव को ध्यान में रखते हुए, कुल लागू तनाव F Σ की गणना करें। FΣ = F + F1/1000 F: घर्षण बल पर आधारित श्रृंखला तनाव (kN) 3) जड़त्व के कारण अतिरिक्त तनाव को ध्यान में रखते हुए, कुल लागू तनाव F Σ की गणना करें। FΣ = F + F1/G F: घर्षण बल पर आधारित श्रृंखला तनाव (kN) G: गुरुत्वाकर्षण त्वरण 9.80665 (मी/से 2) |
|||||||||
|
4) चेन का आकार निर्धारित करें एफ Σ केवी ≦ अधिकतम अनुमेय भार Kv: वेग गुणांक (तालिका 4) |
|||||||||
|
5) चेन रोलर्स पर स्वीकार्य लोड की भी जांच करें। ×
(आप इसे खींचकर स्थानांतरित कर सकते हैं)
यह एक दिशानिर्देश मान है जो चिकनाईयुक्त अवस्था में उपयोग किए जाने पर रोलर घूर्णन संबंधी समस्या उत्पन्न नहीं करता है। |
|||||||||

