तकनीकी डेटा लिनियर एक्ट्यूएटर लिनी-स्पीड जैक स्वीकार्य ओवरहैंग लोड
स्वीकार्य ओवरहैंग भार
इनपुट शाफ्ट पर स्प्रोकेट, गियर, बेल्ट आदि लगाते समय, यह जांचने के लिए कि शाफ्ट पर लगने वाला ओवरहैंग लोड स्वीकार्य ओवरहैंग लोड से कम है, निम्नलिखित सूत्र का उपयोग करें।
स्वीकार्य OHL ≧ T×f×Lf R
ओएचएल: ओवरहैंगिंग रोड एन
T: इनपुट टॉर्क N・m
f: संचरण तत्व गुणांक
Lf: लोड अनुप्रयोग स्थिति पर निर्भर गुणांक
आर: स्प्रोकेट, गियर, वी-पुली, आदि का पिच सर्कल त्रिज्या मीटर
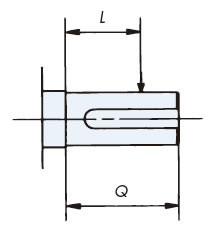
L: लोड अनुप्रयोग स्थिति
प्रश्न: शाफ्ट की लंबाई
तालिका 2 संचरण तत्व गुणांक (f)
| जंजीर | 1.00 |
|---|---|
| गियर, दांतेदार बेल्ट | 1.25 |
| वि बेल्ट | 1.50 |
| फ्लैट बेल्ट | 2.50 |
तालिका 1 स्वीकार्य इनपुट शाफ्ट ओवरहैंग लोड
| SJ015H | SJ030H | SJ050H | |
|---|---|---|---|
| स्वीकार्य OHL (एन) |
830 | 1280 | 1760 |
तालिका 3: लोड अनुप्रयोग स्थिति के आधार पर लोड गुणांक (Lf)
| L/Q | 0.5 या उससे कम | 0.75 | 1 |
|---|---|---|---|
| Lf | 1 | 1.5 | 2 |
