तकनीकी डेटा बड़े आकार की कन्वेयर चेन हैंडलिंग

7. उपयोग की सीमाएँ

कन्वेयर श्रृंखला के प्रत्येक भाग के लिए उपयोग की सीमाएं नीचे वर्णित हैं, इसलिए कृपया समय-समय पर प्रत्येक भाग का निरीक्षण करें।

यह उपयोग सीमा कन्वेयर श्रृंखला के प्रदर्शन के आधार पर निर्धारित की जाती है। यदि कन्वेयर के उपयोग की कोई सीमा है, तो उसे मानक के रूप में उपयोग करें।

चेन और स्प्रोकेट को एक ही समय पर बदलें।

7.1 प्रत्येक भाग के उपयोग की सीमाएँ

7.1.1 आर रोलर और एफ रोलर

सीमा तब होती है जब संपर्क सतह पर घिसाव और बुशिंग के साथ फिसलने वाले भाग के कारण प्लेट की निचली सतह रेल से संपर्क करने लगती है।

आर.एफ. रोलर की सीमाएं

आर.एफ. रोलर की सीमाएं

कृपया ध्यान दें कि यदि रेल का खंड घुमावदार है, तो घिसाव भत्ता S के समतुल्य आयाम से कम हो जाएगा, जैसा कि नीचे चित्र में दिखाया गया है।

कम पहनने का भत्ता

कम पहनने का भत्ता

7.1.2 एस, एम, एन रोलर

जब घिसाव के कारण रोलर की मोटाई 40% तक कम हो जाती है।

7.1.3 बुशिंग

जब घिसाव के कारण बुशिंग की मोटाई 40% तक कम हो जाती है (इसका बाह्य निरीक्षण नहीं किया जा सकता)।

7.1.4 कोटर प्रकार पिन

जब पिन का व्यास घिसाव के कारण 85% तक कम हो जाता है (इसका बाहरी निरीक्षण नहीं किया जा सकता)

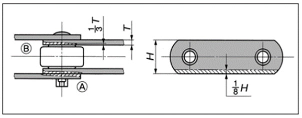
7.1.5 प्लेट की मोटाई और चौड़ाई में घिसाव

प्लेटों के बीच तथा रोलर के किनारे और प्लेट के अंदर के बीच फिसलने से घिसाव होता है, जैसा कि नीचे चित्र में (बाएं) AB पर दिखाया गया है।

जब प्लेट की सामान्य मोटाई के एक तिहाई से अधिक घिसाव हो जाता है, तो यह माना जाता है कि प्लेट अपने जीवन के अंत पर पहुंच गई है।

इसके अलावा, जब प्लेट सीधे संप्रेषित वस्तु पर या स्टील प्लेट पर, जैसे प्रवाह कन्वेयर की श्रृंखला पर फिसलती है, तो प्लेट अपने जीवन के अंत तक पहुँच जाती है जब प्लेट की चौड़ाई H लगभग 1/8H तक घिस जाती है जैसा कि नीचे चित्र में दिखाया गया है (दाएं)।

प्लेट का घिसाव

प्लेट का घिसाव

7.1.6 चेन घिसाव बढ़ाव

चेन स्प्रोकेट से या रेल के मोड़ पर लगने पर मुड़ जाती है। इससे बुशिंग और पिनों के खिसकने से घिसाव होता है, जिससे चेन की लंबाई खिंच जाती है।

इस श्रृंखला के लिए बढ़ाव सीमा सामान्यतः मानक लंबाई (पिच x लिंकों की संख्या) का 2% होती है (100 मिमी की पिच के लिए, बढ़ाव 2 मिमी प्रति लिंक होता है)।

  • 1) चेन की लंबाई कैसे मापें
    चेन की लंबाई कैसे मापें

    ऊपर चित्र में दिखाए अनुसार तनाव बिंदु पर यथासंभव अधिक से अधिक सम लिंक (कम से कम चार लिंक) मापें।

    मापन स्थिति (ए) या (बी) पर किया जाना चाहिए।

    (A) पिनों के केंद्र से केंद्र तक

    (B) पिन के एक सिरे से दूसरे सिरे तक

  • 2) श्रृंखला विस्तार दर (%)

    विधि A या B का उपयोग करके श्रृंखला की लंबाई मापें, संदर्भ लंबाई के साथ इसकी तुलना करें, और श्रृंखला की बढ़ाव दर (%) की गणना करें।

    श्रृंखला विस्तार = मापा आयाम - संदर्भ लंबाई संदर्भ लंबाई × 100 (%)

7.1.7 स्प्रोकेट दांत की सतह और साइड का घिसाव

यदि चेन घिसे हुए दांतों वाले स्प्रोकेट से जुड़ जाती है, तो चेन तेजी से घिस सकती है।

चेन की तरह ही अपने स्प्रोकेट की भी नियमित जांच करें।

  • 1) स्प्रोकेट दांत सतह की घिसाव सीमा के लिए नीचे दिए गए आरेख का उपयोग मार्गदर्शक के रूप में करें।

    दाँत की सतह का घिसाव

    दाँत की सतह का घिसाव

    दांतों के किनारों पर घिसाव

    दांतों के किनारों पर घिसाव
  • 2) अगर दांत घिस गए हैं, तो हम इसे बदलने की सलाह देते हैं। अगर दांत की जड़ घिस गया है, तो इसे उल्टा इस्तेमाल न करें।