तकनीकी डेटा बड़े आकार की कन्वेयर चेन चयन
9. चेन पर लगने वाले तनाव की गणना कैसे करें
संचालन के दौरान कन्वेयर श्रृंखला पर कार्यरत अधिकतम स्थैतिक तनाव T max की गणना तालिका 3 से की जा सकती है।
तालिका 3 में श्रृंखला तनाव T का सूत्र द्रव्यमान M (भार) x घर्षण गुणांक के आधार पर संपूर्ण कन्वेयर के तनाव की गणना करता है।
जब कोई उच्च गति वाला कन्वेयर अचानक शुरू या बंद हो जाता है, या जब कोई पुशर कन्वेयर परिवहन की जा रही वस्तुओं को अचानक हिला देता है, तो जड़त्वीय बल बहुत बढ़ जाते हैं। ऐसे मामलों में, जड़त्वीय बलों को ध्यान में रखते हुए चेन तनाव और आवश्यक शक्ति की गणना करें।
यह सूत्र SI इकाइयों और गुरुत्वाकर्षण इकाइयों, दोनों में लिखा गया है। गुरुत्वाकर्षण इकाइयों में तनाव T की गणना करते समय, गुरुत्वाकर्षण इकाइयों में भार (किलोग्राम) का मान SI इकाइयों में द्रव्यमान (किलोग्राम) के मान के समान होता है।
9.1 शर्तों का स्पष्टीकरण
| एस आई यूनिट | गुरुत्वाकर्षण इकाइयाँ | ||
|---|---|---|---|
| TMAX | श्रृंखला पर कार्यरत अधिकतम स्थैतिक तनाव | kN | {kgf} |
| T'MAX | सुधार श्रृंखला तनाव | kN | {kgf} |
| T | श्रृंखला पर कार्यरत स्थैतिक तनाव | kN | {kgf} |
| Q | अधिकतम संभव परिवहन मात्रा | t/h | {tf/h} |
| V | संवहन गति (श्रृंखला गति) | m/min | m/min |
| H | स्प्रोकेट केंद्र दूरी (ऊर्ध्वाधर दिशा) | m | m |
| L | स्प्रोकेट केंद्र दूरी (क्षैतिज दिशा) | m | m |
| C | स्प्रोकेट केंद्र दूरी | m | m |
| M | गतिशील भाग का द्रव्यमान {भार} (चेन x धागों की संख्या, बाल्टी, एप्रन आदि का द्रव्यमान {भार}) |
kg/m | {kgf/m} |
| f1 | चेन और गाइड चैनल के बीच घर्षण गुणांक (तालिका 5, तालिका 6) | ||
| f2 | परिवहन की गई वस्तु और नीचे तथा पार्श्व प्लेटों के बीच फिसलन घर्षण गुणांक (तालिका 7) | ||
| f | सीधे लोड करते समय, f=1 स्क्रैपिंग द्वारा परिवहन करते समय, f=f2/f1 | ||
| g | गुरुत्वाकर्षण त्वरण 9.80665m/s 2 | ||
| W | परिवहन की गई सामग्री की मात्रा {वजन} थोक वस्तु W=16.7 * ××Q/V {W=16.7×Q/V} गिनने योग्य वस्तु W = परिवहन की जा रही सामग्री की मात्रा (किग्रा/टुकड़ा) / लोडिंग अंतराल (मी) {W = परिवहन की गई वस्तु का वजन (किलोग्राम/वस्तु) / लोडिंग अंतराल (मी)} |
kg/m | {kgf/m} |
नोट: चेन के प्रति मीटर थोक वस्तु के द्रव्यमान (भार) को परिवर्तित करने के लिए प्रयुक्त गुणांक 16.7 = 1000/60 है
*यदि आगे और पीछे का संचालन बार-बार किया जाता है, तो चेन को टेक-अप द्वारा ऊपर ले जाने की आवश्यकता होगी, इसलिए गणना सूत्र नीचे दिए गए सूत्र से भिन्न होगा।
यदि आप टेक-अप के साथ चेन में ढीलापन ले रहे हैं, तो कृपया यहां प्रश्नोत्तर 6 में गणना सूत्र का उपयोग करें।
9.2 चेन तनाव गणना (तालिका 3)
| एस आई यूनिट | {गुरुत्वाकर्षण इकाई} | |||||||||||||||||||||||||||||||||||||||||||||||||||||
|---|---|---|---|---|---|---|---|---|---|---|---|---|---|---|---|---|---|---|---|---|---|---|---|---|---|---|---|---|---|---|---|---|---|---|---|---|---|---|---|---|---|---|---|---|---|---|---|---|---|---|---|---|---|---|
|
क्षैतिज परिवहन
T1 = 1.35 ※1 × M × L1 × g 1000 ......kN T2 = ( L - L1) × M × f1 × g 1000 + T1 ......kN T3 = 1.1 ※2 × T2 ......kN TMAX = (W × f + M ) × L × f1 × g 1000 + T3 ......kN T1 = 1.35 × M × L1 ......{kgf} T2 = ( L - L1) × M × f1 + T1 ......{kgf} T3 = 1.1 × T2 ......{kgf} TMAX = (W × f + M ) × L × f1 + T3 ......{kgf}
|
||||||||||||||||||||||||||||||||||||||||||||||||||||||
|
क्षैतिज परिवहन
T1 = 1.35 × M × L1× g 1000 + 0.1※ × M × L × g 1000 ......kN T2 = 1.1 × T1 ......kN TMAX = (W × f + M) × L × f1 × g 1000 + T2 ......kN T1 = 1.35 × M × L1 + 0.1※ × M × L ......{kgf} T2 = 1.1 × T1 ......{kgf} TMAX = (W × f + M) × L × f1 ......{kgf}
|
||||||||||||||||||||||||||||||||||||||||||||||||||||||
|
ऊर्ध्वाधर परिवहन
TMAX = (W + M) × H × g 1000 + WT 2 × g 1000 ......kN TMAX = (W + M) × H + WT 2 ......{kgf} |
||||||||||||||||||||||||||||||||||||||||||||||||||||||
|
झुका हुआ परिवहन
T1 = M(Lf1 - H) × g 1000 ......kN यदि T 1 < 0, तो T 2 = 0 T2 = 1.1 × T1 ......kN TMAX = W(Lf1 × f + H) × g 1000 + M(Lf1 + H) × g 1000 + T2 ......kN T1 = M(Lf1 - H) ......{kgf} यदि T 1 < 0, तो T 2 = 0 T2 = 1.1 × T1 ......{kgf} TMAX = W(Lf1 × f + H) + M(Lf1 + H) + T2 ......{kgf} |
||||||||||||||||||||||||||||||||||||||||||||||||||||||
|
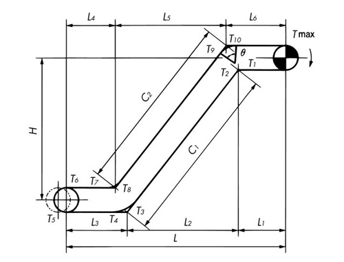
अनुप्रयोग उदाहरण
T1= M × L1 × f1 × g 1000 ......kN T2= T1× Kc1 ......kN T3= M(L2f1 - H) × g 1000 + T2 ......kN T4= T3× Kc2 ......kN यदि T 3 < 0, तो T 4 = 0 T5= M × L3 × f1 × g 1000 + T4 ......kN T6= 1.1 × T5 ......kN T7= (M + W × f) × L4 × f1 × g 1000 + T6 ......kN T8= T7× Kc3 ......kN T9= W(L5f1 × f + H) × g 1000 + M(L5f1 + H) × g 1000 + T8 ......kN T10 = T9× Kc4 ......kN TMAX = (M + W × f) × L6 × f1 × g 1000 + T10 ......kN कोना गुणांक Kc
T1 = M × L1 × f1 ......{kgf} T2 = T1 × Kc1 ......{kgf} T3 = M(L2f1 - H) + T2 ......{kgf} T4 = T3 × Kc2 ......{kgf} यदि T 3 < 0, तो T 4 = 0 T5 = M × L3 × f1 + T4 ......{kgf} T6 = 1.1 × T5 ......{kgf} T7 = (M + W × f) × L4 × f1 + T6 ......{kgf} T8 = T7 × Kc3 ......{kgf} T9 = W(L5f1 × f + H) + M(L5f1 + H) + T8 ......{kgf} T10 = T9 × Kc4 ......{kgf} TMAX = (M + W × f) × L6 × f1 + T10 ......{kgf} |
||||||||||||||||||||||||||||||||||||||||||||||||||||||
|
डबल प्लस चेन का उदाहरण
TMAX = 2.1M(L1 + L2) f1 ×
g
1000
+ (W × L1 × f1) TMAX = 2.1M(L1 + L2) f1 + (W × L1 × f1) + (W1 × L2 × f3) ......{kgf}
|
||||||||||||||||||||||||||||||||||||||||||||||||||||||
|
आवश्यक शक्ति की गणना के लिए प्रयुक्त श्रृंखला तनाव T निम्नलिखित सूत्र द्वारा दिया जाता है। क्षैतिज T = T MAX- T 1 ऊर्ध्वाधर T = T MAX- MH × g 1000 ढलान T = T MAX- M(H - Lf 1) × g 1000 T = TMAX - MH T = TMAX - M(H - Lf1)
・आवश्यक शक्ति की गणना 1kW = 1kN・m/s kW = T × V 60 1kW = 102kgf・m/s kW = T × V 102 × 60 चेन और स्प्रोकेट के जाल के कारण होने वाली शक्ति हानि, तथा स्प्रोकेट के घूर्णन के घर्षण प्रतिरोध को लगभग 10% (1/0.9 = 1.1) माना जाता है। यदि ड्राइव यूनिट की ट्रांसमिशन यांत्रिक दक्षता η है, तो kW = T × V 60 × 1.1 × 1 η kW = T × V 102 × 60 × 1.1 × 1 η |
||||||||||||||||||||||||||||||||||||||||||||||||||||||
तालिका 4. कैटेनरी तनाव ग्राफ

कैटेनरी तनाव की गणना कैसे करें
T1 = 1.35 × M × L1 × g 1000 ......kN
इस सूत्र में 1.35 है:
जब कैटेनरी आयतन 10% है, δ = 0.10L 1
उपरोक्त आकृति से
δ
एल 1
= 0.10 →
2टी 1
एमएल 1
= 2.7
टी 1 = 1.35 × एम × एल 1 ×
जी
1000
कैटेनरी श्रृंखला की लंबाई कैसे निर्धारित करें
δ L1 = 0.10 → S L1 = 1.027
S = 1.027L1
तालिका 5. चेन और गाइड चैनल के बीच रोलिंग घर्षण गुणांक (कमरे का तापमान) f 1
| रोलर व्यास वर्गीकरण (मिमी) |
स्नेहन की स्थिति | जब चिकनाई खत्म हो जाती है | ||
|---|---|---|---|---|
| आर, एफ रोलर | एस, एम, एन रोलर | आर, एफ रोलर | एस, एम, एन रोलर | |
| D<65 | 0.08 | 0.16 | 0.15 | 0.24 |
| 65≦D<100 | 0.08 | 0.15 | 0.14 | 0.23 |
| 100≦D | 0.08 | 0.14 | 0.13 | 0.22 |
| आरएफ-214 (अपवाद) | 0.12 | 0.15 | 0.18 | 0.22 |
टिप्पणी)
- 1. ISO VG100-150 (SAE30-40) के साथ स्नेहन करते समय
- 2. कम धूल और कमरे के तापमान वाला आंतरिक वातावरण
- 3. शीर्ष रोलर्स के साथ श्रृंखला का शीर्ष रोलर और संप्रेषित वस्तु का f1 ऊपर दिए गए R रोलर्स के समान है।
| शृंखला | f1 |
|---|---|
| प्लास्टिक रोलर श्रृंखला | 0.08 (बिना चिकनाई वाला) |
| बेयरिंग रोलर श्रृंखला | 0.03 (स्नेहक) |
| सुई बुशिंग श्रृंखला | 0.14 (स्नेहकयुक्त), 0.21 (स्नेहक रहित) |
| EPC78 | 0.1 (स्नेहक), 0.2 (जल स्नेहन), 0.25 (स्नेहक की कमी) |
तालिका 6. चेन और गाइड चैनल के बीच घर्षण गुणांक f1
| परिवहन किए गए माल का तापमान ℃ | स्नेहन की स्थिति | स्नेहक खत्म हो गया |
|---|---|---|
| कमरे के तापमान से 400 | 0.20 | 0.30 |
| 400~600 | 0.30 | 0.35 |
| 600~800 | 0.35 | 0.40 |
| 800~1000 | - | 0.45 |
तालिका 7. परिवहन की गई वस्तु और निचली तथा पार्श्व प्लेटों के बीच घर्षण गुणांक f2
| परिवहन किए गए सामान | f2 | स्पष्ट विशिष्ट गुरुत्व |
|---|---|---|
| पैमाना | 0.67 | 1.54 |
| हेमेटाइट | 0.47 | 2.99 |
| पाइराइट | 0.58 | 1.54 |
| लौह धातुमल | 0.48 | 0.90 |
| कतरन | 0.73 | 0.54 |
| सीसा अयस्क पाउडर | 0.77 | 3.26 |
| जस्ता अयस्क पाउडर | 0.79 | 1.93 |
| निकल अयस्क पाउडर | 0.45 | 0.92 |
| क्रोमियम अयस्क पाउडर | 0.51 | 1.14 |
| अल्युमिना | 0.55 | 0.83 |
| मैग्नीशिया | 0.84 | 1.48 |
| जिप्सम | 0.64 | 0.77 |
| क्वार्ट्ज पाउडर | 0.55 | 1.24 |
| स्फतीय | 0.55 | 1.36 |
| डोलोमाइट | 0.55 | 1.62 |
| मिट्टी | 0.63 | 0.77 |
| फाउंड्री रेत | 0.41 | 1.59 |
| फॉस्फेट चट्टान | 0.42 | 1.51 |
| बिना बुझाया हुआ चूना | 0.46 | 1.53 |
| बुझा हुआ चूना | 0.63 | 0.69 |
| अदह | 0.58 | 0.19 |
| चूना पत्थर | 0.47 | 0.35~0.55 |
| सीमेंट | 0.54 | 0.60~0.75 |
| सीमेंट क्लिंकर | 0.46 | 1.30 |
| लकड़ी का कोयला | 0.41 | 0.44 |
| कार्बन | 0.53 | 0.30 |
| आवाज़ का उतार-चढ़ाव | 0.41 | 0.70 |
| खार राख | 0.45 | 0.52 |
| फिटकिरी | 0.63 | 1.01 |
| POLYETHYLENE | 0.52 | 0.34 |
| रबर पाउडर | 0.53 | 0.39 |
| साबुन की सामग्री | 0.27 | 0.65 |
| यूरिया | 0.63 | 0.64 |
| अमोनियम क्लोराइड | 0.79 | 0.67 |
| कैल्शियम क्लोराइड | 0.43 | 0.68 |
| कैल्शियम सल्फाइड | 0.64 | 1.01 |
| कैल्शियम कार्बोनेट | 0.49 | 0.88 |
| लकड़ी के टुकड़े | 0.74 | 0.36 |
| चावल | 0.4 | 0.77 |
| जौ | 0.71 | 0.39 |
| गेहूँ | 0.43 | 0.73 |
| सोया | 0.41 | 0.68 |
| भुट्टा | 0.4 | 0.71 |
| स्टार्च | 0.57 | 0.71 |
| चीनी | 0.47 | 0.68 |
| काला नमक | 0.57 | 1.09 |
| मिश्रित फ़ीड | 0.5 | 0.55 |
| कोयला | - | 0.30~0.70 |
| कोक | - | 0.30~0.70 |
नोट: उपरोक्त मान आर्द्रता और सूखापन के आधार पर बदल सकते हैं।
