तकनीकी डेटा माइटर बेवल गियरबॉक्स चयन
यदि आप चयन प्रक्रिया और महत्वपूर्ण बिंदु देखना चाहते हैं, तो कृपया नीचे आगे बढ़ें।
यदि आप किसी उत्पाद श्रृंखला को सीमित करना या अस्थायी रूप से चुनना चाहते हैं,
कृपया यहां क्लिक करें।
यदि आपकी उपयोग शर्तें तय हो गई हैं और आप विस्तृत चयन चाहते हैं,
कृपया यहां क्लिक करें।
एआरए गियरबॉक्स चयन
चयन के लिए आवश्यक शर्तें
(1) लोड टॉर्क या ट्रांसमिशन kW (2) इनपुट रोटेशन स्पीड (3) स्पीड अनुपात (4) लोड विशेषताएँ (5) स्टार्ट/स्टॉप आवृत्ति
चयन प्रक्रिया
आवश्यक शर्तों को ध्यान में रखते हुए, चयन निम्नलिखित प्रक्रिया के अनुसार किया जाएगा।
1. सर्विस कारक निर्धारण
कैटलॉग में सभी किलोवाट रेटिंग तालिका वे मान हैं जब सर्विस कारक 1.0 पर सेट किया जाता है।
उपयोग की शर्तों के आधार पर तालिका 1 सर्विस कारक सर्विस कारक निर्धारित करें।
तालिका 1 सर्विस कारक
| लोड प्रकृति | ऑपरेटिंग समय | ||
|---|---|---|---|
| 2 घंटे | 10 घंटे | 24 घंटे | |
| एकसमान भार | 1.00 (1.00) |
1.00 (1.25) |
1.25 (1.50) |
| कुछ प्रभाव के साथ लोड करें | 1.00 (1.25) |
1.25 (1.50) |
1.50 (1.75) |
| बड़े प्रभाव वाले भार | 1.25 (1.50) |
1.50 (1.75) |
1.75 (2.00) |
टिप्पणी)
- 1. यदि स्टार्ट/स्टॉप आवृत्ति प्रति घंटे 10 या अधिक बार है या यदि प्राइम मूवर एक बहु-सिलेंडर इंजन है, तो कोष्ठक में दिए गए मानों का उपयोग करें।
- 2. उपरोक्त सर्विस कारक सामान्य दिशानिर्देश हैं। कृपया उपयोग की स्थितियों को ध्यान में रखते हुए गुणांक निर्धारित करें।
2. संशोधित टॉर्क या डिज़ाइन किलोवाट का निर्धारण
सर्विस कारक (तालिका 1) को ध्यान में रखते हुए, सही टॉर्क या डिज़ाइन किलोवाट गणना करें।
संशोधित टॉर्क या डिज़ाइन किलोवाट = (एआरए श्रृंखला पर लागू लोड टॉर्क या ट्रांसमिशन किलोवाट) x सर्विस कारक (तालिका 1)
3. प्रारूप पर निर्णय लेना
- -किलोवाट रेटिंग तालिका (उत्पाद पृष्ठ देखें) से उपयोग की जाने वाली घूर्णी गति पर संशोधित टॉर्क या डिज़ाइन किलोवाट संतुष्ट करने वाले आकार का चयन करें।
इसके अलावा, जांच लें कि स्टार्ट-अप और शटडाउन के दौरान अधिकतम टॉर्क चयनित आकार की ट्रांसमिशन क्षमता के 200% के भीतर है। - - उपरोक्त शाफ्ट व्यवस्था और रोटेशन संबंध के आधार पर उपयुक्त मॉडल संख्या निर्धारित करें।
4. रेडियल लोड की जाँच करें
पार्श्व शाफ्ट या क्रॉस शाफ्ट से जुड़े स्प्रोकेट, गियर, पुली आदि को चलाते समय, नीचे दिए गए सूत्र का उपयोग करके रेडियल लोड की जांच करें।
・रेडियल लोड पुष्टिकरण सूत्र
स्वीकार्य रेडियल भार ≧
T × f × Lf
r
(स्वीकार्य रेडियल भार)
- T = संशोधित टॉर्क N・m
- f = OHL गुणांक (तालिका 2)
- Lf = परिचालन स्थिति का गुणांक (तालिका 3)
- r = स्प्रोकेट, पुली आदि की पिच सर्कल त्रिज्या m
नोट: यदि रेडियल लोड, r की जाँच के बाद बाईं ओर का सूत्र संतुष्ट नहीं होता है, तो स्प्रोकेट, पुली, आदि के पिच सर्कल त्रिज्या को बढ़ाया जाना चाहिए।
तालिका 2 ओएचएल गुणांक (एफ)
| जंजीर | 1.00 |
|---|---|
| गियर दांतेदार बेल्ट |
1.25 |
| वी-बेल्ट और भारी-भरकम दांतेदार बेल्ट | 1.50 |
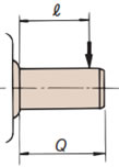
तालिका 3 क्रिया स्थिति गुणांक (Lf)
| भार शाफ्ट के केंद्र पर है या यदि यह और अंदर की ओर है, तो ℓ ≦ क्यू 2 |
Lf = 1 |
|---|---|
| भार शाफ्ट के केंद्र से है यदि यह बाहर की ओर है ℓ > क्यू 2 |
Lf = 2ℓ Q |
Q = आउटपुट शाफ्ट के अंत की लंबाई ℓ = वह स्थिति जहाँ रेडियल भार कार्य करता है
नोट) यदि रेडियल लोड और अक्षीय लोड एक ही समय पर लागू होते हैं, तो कृपया हमसे संपर्क करें।
